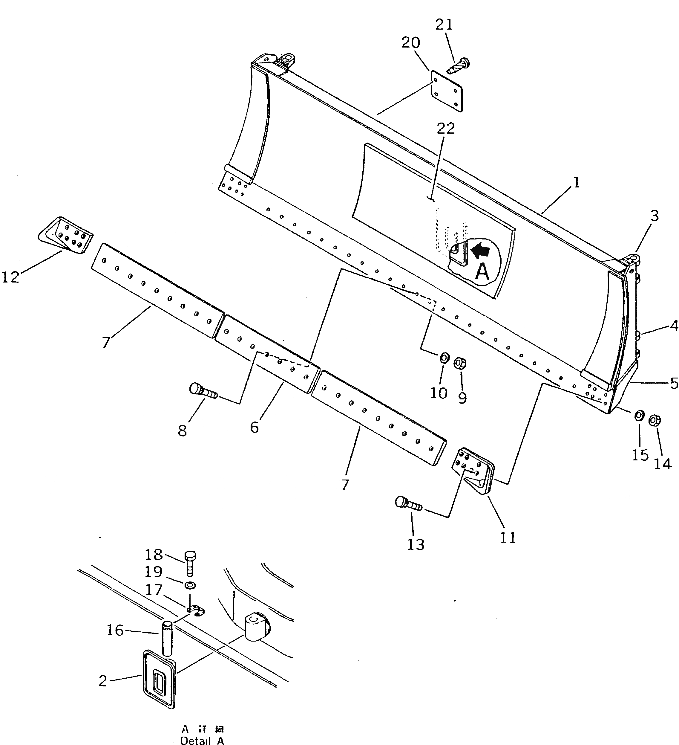
Запчасти Komatsu D135A-2 ОТВАЛ С ИЗМ. УГЛОМ ПОВОРОТА РАБОЧЕЕ ОБОРУДОВАНИЕ

Схема запчастей Komatsu D135A-2 - ОТВАЛ С ИЗМ. УГЛОМ ПОВОРОТА РАБОЧЕЕ ОБОРУДОВАНИЕ
FIT
1:1
100%

Артикул

Название

Примечание

Количество

G-1

0

BLADE GROUP

SN: 10301-UP

1шт.

|$$2

====================

-1шт.

|1

175-70-00509

BLADE ASS'Y

SN: 10301-UP

1шт.

1

0

BLADE,ANGLE

SN: 10301-UP

1шт.

2

175-70-21153

BRACKET (WELDED)

SN: 10301-UP

1шт.

3

175-70-21181

BRACKET (WELDED)

SN: 10301-UP

2шт.

4

175-70-21191

BRACKET (WELDED)

SN: 10301-UP

2шт.

5

175-70-21160

PLATE,L.H. (WELDED)

SN: 10301-UP

1шт.

|5

175-70-21170

PLATE,R.H. (WELDED)

SN: 10301-UP

1шт.

6

175-70-26310

EDGE,CUTTING¤ CENTER

SN: 10301-UP

1шт.

7

175-70-21115

EDGE,CUTTING¤ SIDE

SN: 10301-UP

2шт.

8

175-71-11454

BOLT

SN: 10301-UP

25шт.

9

175-71-11530

NUT

SN: 10301-UP

25шт.

10

01643-22245

WASHER

SN: 10301-UP

25шт.

11

175-70-21126

BIT,END¤ L.H.

SN: 10301-UP

1шт.

12

175-70-21136

BIT,END¤ R.H.

SN: 10301-UP

1шт.

13

175-71-11463

BOLT

SN: 10301-UP

14шт.

14

175-71-11530

NUT

SN: 10301-UP

14шт.

15

01643-22245

WASHER

SN: 10301-UP

14шт.

16

175-70-23222

PIN

SN: 10301-UP

1шт.

17

09257-06009

PLATE,LOCK

SN: 10301-UP

1шт.

18

01010-51435

BOLT

SN: 10301-UP

4шт.

19

01643-31445

WASHER

SN: 10301-UP

4шт.

20

09601-00835

PLATE¤ NAME

SN: 10301-UP

1шт.

21

04418-13060

SCREW

SN: 10301-UP

4шт.

|$$26

====================

-1шт.

22

175-973-4130

PLATE,PUSHER (WELDED)

SN: 10301-UP

1шт.

Выбрано товаров: 27