Запчасти Komatsu D135A-2 КЛАПАН ТРАНСМИССИИ (/) ГТР CONVERTOR¤ТРАНСМИССИЯ¤ РУЛЕВ. УПРАВЛЕНИЕ И КОНЕЧНАЯ ПЕРЕДАЧА

Схема запчастей Komatsu D135A-2 - КЛАПАН ТРАНСМИССИИ (/) ГТР CONVERTOR¤ТРАНСМИССИЯ¤ РУЛЕВ. УПРАВЛЕНИЕ И КОНЕЧНАЯ ПЕРЕДАЧА
FIT
1:1
100%

Артикул

Название

Примечание

Количество

|1

15A-15-00011

TRANSMISSION ASS'Y,TORQFLOW

SN: 10301-UP

1шт.

|$$2

THIS ASSEMBLY CONSISTS OF ALL PARTS SHOWN IN FIGS.2501 TO 2515.

-1шт.

|1

15A-15-00522

VALVE ASS'Y

SN: 10301-UP

1шт.

|$$4

THIS ASSEMBLY CONSISTS OF ALL PARTS SHOWN IN FIGS.2511 AND 2512.

-1шт.

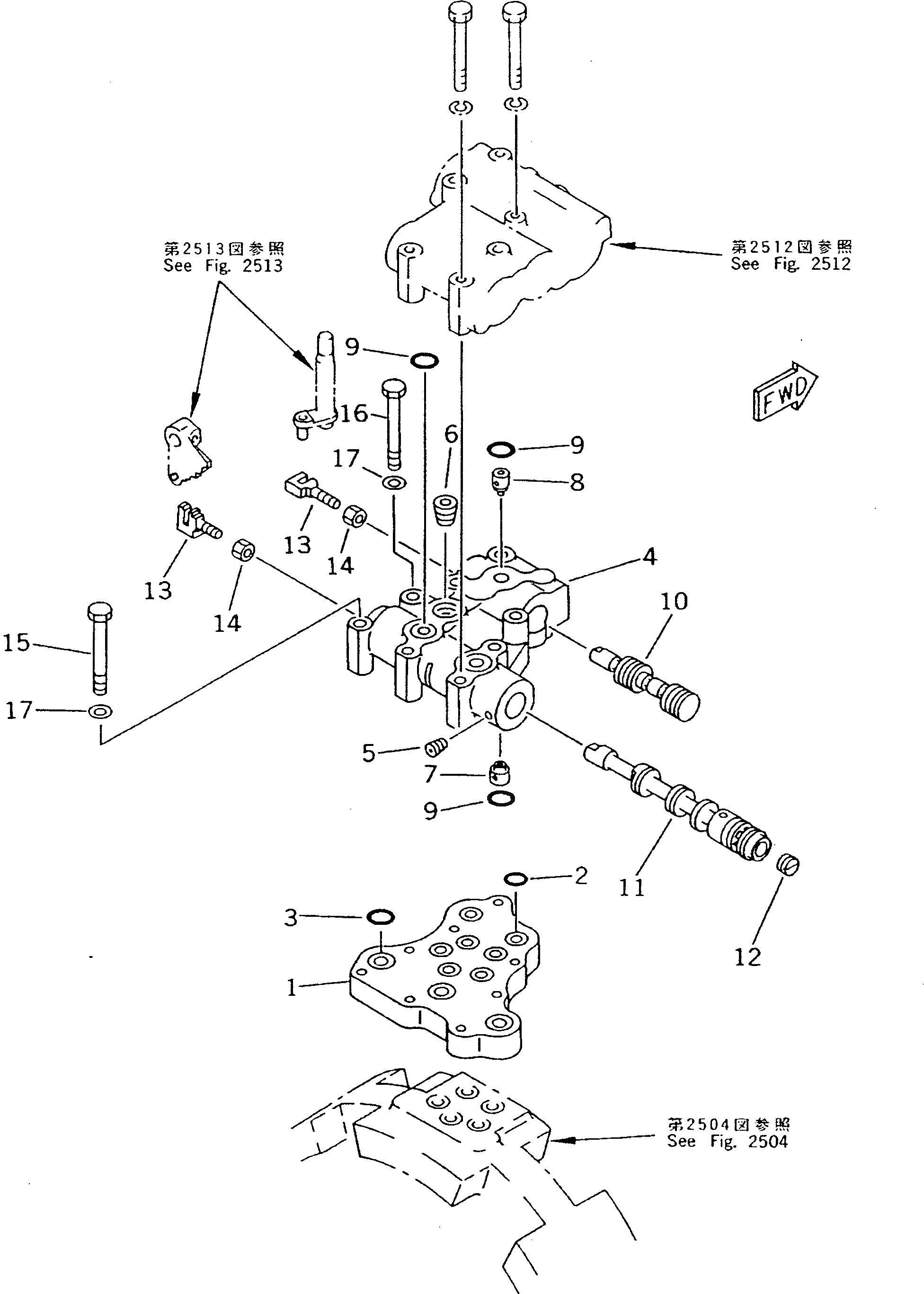
1

175-15-45110

SEAT,VALVE

SN: 10301-UP

1шт.

2

07000-73022

O-RING (K3)

SN: 10301-UP

7шт.

3

07000-73025

O-RING (K3)

SN: 10301-UP

3шт.

4

175-15-45213

BODY

SN: 10301-UP

1шт.

5

15A-15-16450

PLUG

SN: 10301-UP

1шт.

6

07043-00415

PLUG

SN: 10301-UP

1шт.

7

175-15-45260

DETENT

SN: 10301-UP

1шт.

8

195-15-15671

DETENT

SN: 10301-UP

1шт.

9

07000-73022

O-RING (K3)

SN: 10301-UP

5шт.

10

175-15-45220

SPOOL

SN: 10301-UP

1шт.

|10

15A-15-00511

SPOOL ASS'Y

SN: 10301-UP

1шт.

11

0

SPOOL

SN: 10301-UP

1шт.

12

0

PLUG

SN: 10301-UP

1шт.

13

09363-01053

YOKE

SN: 10301-UP

2шт.

14

01580-11008

NUT

SN: 10301-UP

2шт.

15

01010-31075

BOLT

SN: 10301-UP

1шт.

16

01011-51005

BOLT

SN: (1174)-UP

1шт.

|16

0

BOLT

SN: 10301-(1173)

1шт.

17

01643-31032

WASHER

SN: 10301-UP

2шт.

Выбрано товаров: 23