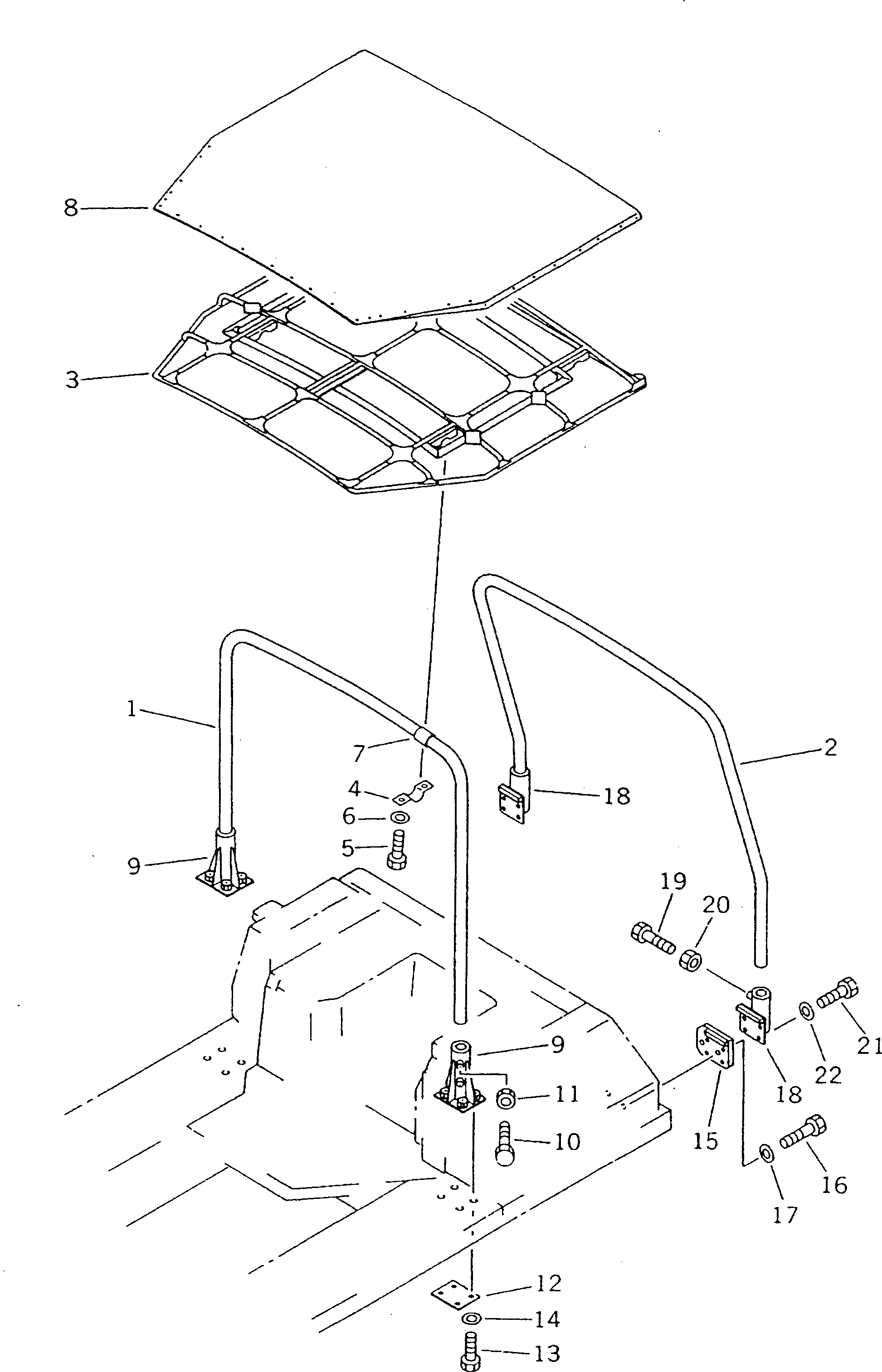
Запчасти Komatsu D135A-2 НАВЕС ЧАСТИ КОРПУСА

Схема запчастей Komatsu D135A-2 - НАВЕС ЧАСТИ КОРПУСА
FIT
1:1
100%

Артикул

Название

Примечание

Количество

G-1

0

CANOPY GROUP

SN: 10301-UP

1шт.

|$$2

====================

-1шт.

1

154-906-4120

POLE,FRONT

SN: 10301-UP

1шт.

2

154-906-4130

POLE,REAR

SN: 10301-UP

1шт.

3

154-906-4110

ROOF,CANOPY

SN: 10301-UP

1шт.

4

154-906-4160

CLAMP

SN: 10301-UP

5шт.

5

01010-51435

BOLT

SN: 10301-UP

10шт.

6

01643-31445

WASHER

SN: 10301-UP

10шт.

7

154-906-4170

CUSHION

SN: 10301-UP

5шт.

8

154-906-4191

SHEET

SN: 10301-UP

1шт.

9

15A-906-1110

BRACKET,L.H.

SN: 10301-UP

1шт.

9

15A-906-1120

BRACKET,R.H.

SN: 10301-UP

1шт.

10

01016-51450

BOLT

SN: 10301-UP

4шт.

11

01580-11411

NUT

SN: 10301-UP

4шт.

12

154-906-4180

PLATE

SN: 10301-UP

2шт.

13

01010-52460

BOLT

SN: 10301-UP

8шт.

14

01643-32460

WASHER

SN: 10301-UP

8шт.

15

154-906-4151

PLATE

SN: 10301-UP

2шт.

16

01010-82760

BOLT

SN: 10455-UP

4шт.

16

0

BOLT

SN: 10301-10454

4шт.

17

01643-32780

WASHER

SN: 10301-UP

4шт.

18

09470-06425

BRACKET,REAR

SN: 10301-UP

2шт.

19

01010-51450

BOLT

SN: 10301-UP

4шт.

20

01580-11411

NUT

SN: 10301-UP

4шт.

21

01010-51845

BOLT

SN: 10301-UP

8шт.

22

01643-31845

WASHER

SN: 10301-UP

8шт.

|$$27

====================

-1шт.

Выбрано товаров: 27