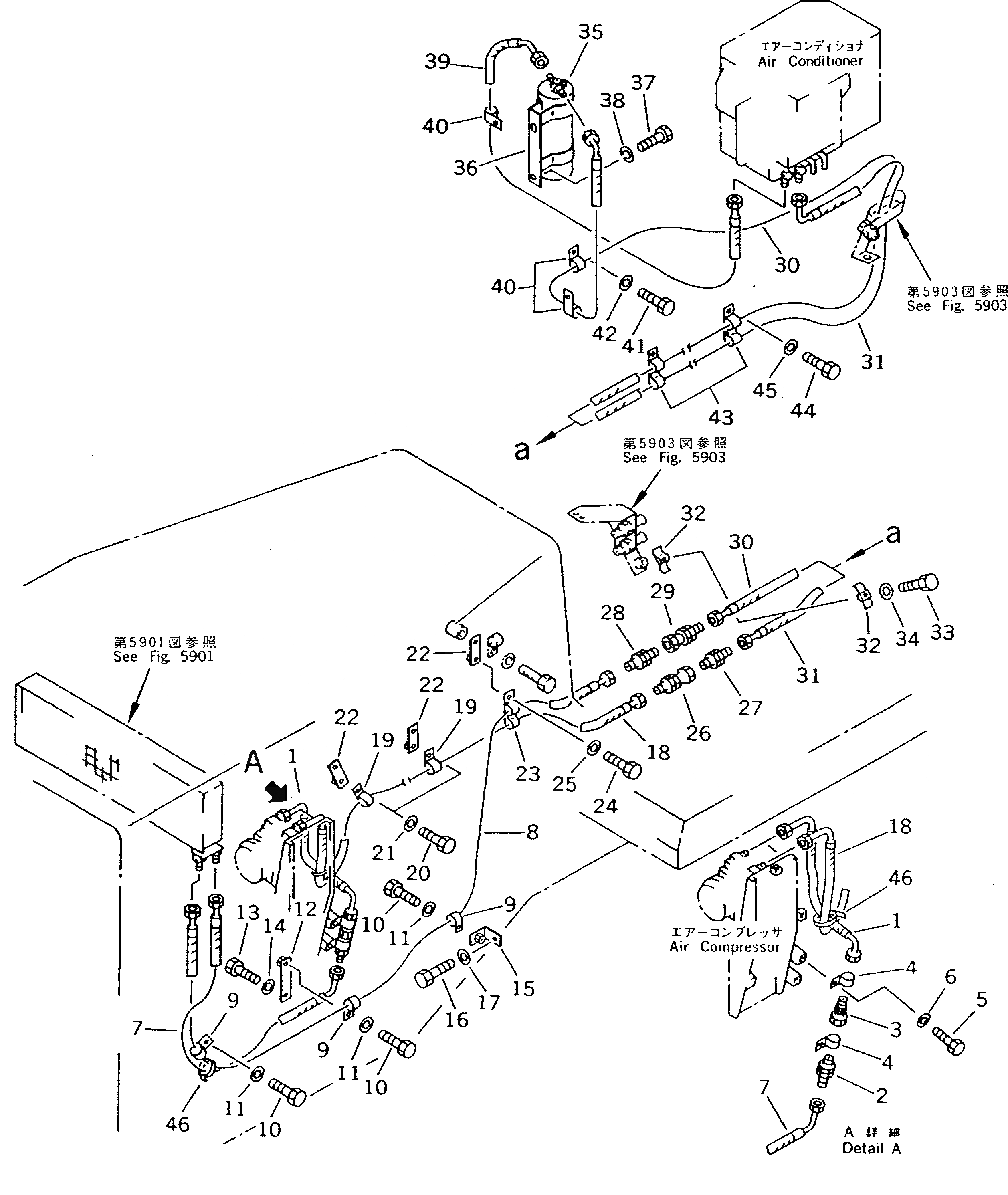
Запчасти Komatsu D135A-2 СИСТЕМА ТРУБ ОХЛАЖДЕНИЯ(№-8) ЧАСТИ КОРПУСА

Схема запчастей Komatsu D135A-2 - СИСТЕМА ТРУБ ОХЛАЖДЕНИЯ(№-8) ЧАСТИ КОРПУСА
FIT
1:1
100%

Артикул

Название

Примечание

Количество

G-1

0

PIPING GROUP

SN: 10301-10584

1шт.

|$$2

====================

-1шт.

1

154-Z11-5440

HOSE

SN: 10301-10584

1шт.

2

195-Z11-6360

CONNECTOR ASS'Y

SN: 10301-10584

1шт.

3

195-Z11-6370

CONNECTOR ASS'Y

SN: 10301-10584

1шт.

4

195-979-2450

CLIP

SN: 10301-10584

2шт.

5

01010-51225

BOLT

SN: 10301-10584

2шт.

6

01643-31232

WASHER

SN: 10301-10584

2шт.

7

154-Z11-5430

HOSE

SN: 10301-10584

1шт.

8

154-Z11-5420

HOSE

SN: 10301-10584

1шт.

9

175-79-82710

CLIP

SN: 10301-10584

3шт.

10

01010-51220

BOLT

SN: 10301-@

3шт.

11

01643-31232

WASHER

SN: 10301-@

3шт.

12

15A-Z11-2120

BRACKET

SN: 10301-@

1шт.

13

01010-51225

BOLT

SN: 10301-@

1шт.

14

01643-31232

WASHER

SN: 10301-@

1шт.

15

15A-Z11-1160

BRACKET

SN: 10301-@

1шт.

16

01010-51235

BOLT

SN: 10301-@

1шт.

17

01643-31232

WASHER

SN: 10301-@

1шт.

18

154-Z11-5410

HOSE

SN: 10301-10584

1шт.

19

08036-62514

CLIP

SN: 10301-@

2шт.

20

01010-51016

BOLT

SN: 10301-@

2шт.

21

01643-31032

WASHER

SN: 10301-@

2шт.

22

154-Z11-5620

BRACKET

SN: 10301-@

3шт.

23

195-979-3530

CLIP

SN: 10301-10584

1шт.

24

01010-51016

BOLT

SN: 10301-@

1шт.

25

01643-31032

WASHER

SN: 10301-@

1шт.

26

195-Z11-6470

CONNECTOR ASS'Y

SN: 10301-10584

1шт.

27

195-Z11-6460

CONNECTOR ASS'Y

SN: 10301-10584

1шт.

28

195-Z11-6430

CONNECTOR ASS'Y

SN: 10301-10584

1шт.

29

195-Z11-6420

CONNECTOR ASS'Y

SN: 10301-10584

1шт.

30

154-Z11-5361

HOSE

SN: 10339-10584

1шт.

30

154-Z11-5360

HOSE

SN: 10301-10338

1шт.

31

154-Z11-5370

HOSE

SN: 10301-10584

1шт.

32

195-Z11-7220

CLIP

SN: 10301-@

2шт.

33

01010-51050

BOLT

SN: 10301-@

1шт.

34

01643-31032

WASHER

SN: 10301-@

1шт.

35

423-T43-1410

TANK,RECEIVER

SN: 10339-10584

1шт.

35

0

TANK,RECEIVER

SN: 10301-10338

1шт.

|$$40

(423-T43-1410,154-Z11-5361,

-1шт.

|$$41

154-Z11-5391)

-1шт.

36

198-911-4590

HOLDER,SPRING

SN: 10301-10584

1шт.

37

01010-50820

BOLT

SN: 10301-@

2шт.

38

01602-20825

WASHER,SPRING

SN: 10301-@

2шт.

39

154-Z11-5391

HOSE

SN: 10339-10584

1шт.

39

154-Z11-5390

HOSE

SN: 10301-10338

1шт.

40

175-79-82710

CLIP

SN: 10301-10584

3шт.

41

01010-51220

BOLT

SN: 10301-@

3шт.

42

01643-31232

WASHER

SN: 10301-@

3шт.

43

195-979-3530

CLIP

SN: 10301-10584

2шт.

44

01010-51225

BOLT

SN: 10301-@

2шт.

45

01643-31232

WASHER

SN: 10301-@

2шт.

46

08034-00519

BAND

SN: 10301-10584

2шт.

|$$54

====================

-1шт.

Выбрано товаров: 54