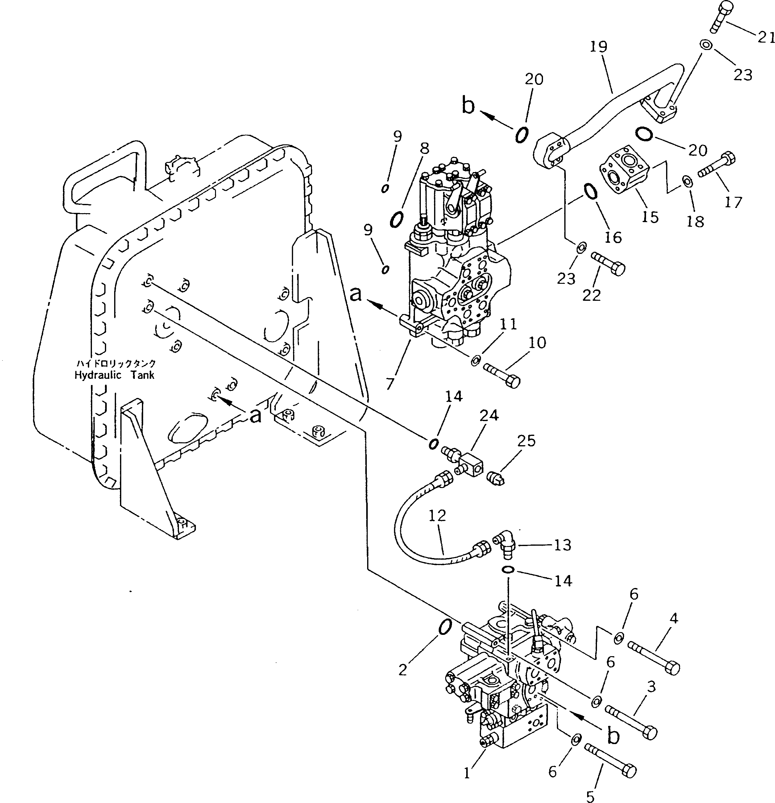
Запчасти Komatsu D135A-2 РАБОЧЕЕ ОБОРУДОВАНИЕ КЛАПАН КРЕПЛЕНИЕ (ДЛЯ РЕГУЛИР. ТИП РЫХЛИТЕЛЬ) УПРАВЛ-Е РАБОЧИМ ОБОРУДОВАНИЕМ

Схема запчастей Komatsu D135A-2 - РАБОЧЕЕ ОБОРУДОВАНИЕ КЛАПАН КРЕПЛЕНИЕ (ДЛЯ РЕГУЛИР. ТИП РЫХЛИТЕЛЬ) УПРАВЛ-Е РАБОЧИМ ОБОРУДОВАНИЕМ
FIT
1:1
100%

Артикул

Название

Примечание

Количество

G-1

0

VALVE GROUP

SN: 10301-UP

1шт.

|$$2

====================

-1шт.

1

709-62-31202

VALVE ASS'Y,BLADE LIFT AND TILT

SN: 10301-UP

1шт.

2

07000-13038

O-RING

SN: 10301-UP

1шт.

3

01011-51215

BOLT

SN: 10301-UP

1шт.

4

01011-51235

BOLT

SN: 10301-UP

1шт.

5

01011-51280

BOLT

SN: 10301-UP

1шт.

6

01643-31232

WASHER

SN: 10301-UP

3шт.

|$$9

====================

-1шт.

G-2

0

VALVE GROUP

SN: 10301-UP

1шт.

|$$11

====================

-1шт.

7

700-92-24001

VALVE ASS'Y,RIPPER CONTROL

SN: 10301-UP

1шт.

8

07000-13035

O-RING

SN: 10301-UP

1шт.

9

07000-12011

O-RING

SN: 10301-UP

2шт.

10

01010-51280

BOLT

SN: 10301-UP

3шт.

11

01643-31232

WASHER

SN: 10301-UP

3шт.

|$$17

====================

-1шт.

G-3

0

PIPING GROUP,(VALVE RELATED)

SN: 10301-UP

1шт.

|$$19

====================

-1шт.

12

07102-20203

HOSE

SN: 10301-UP

1шт.

13

07235-10210

ELBOW

SN: 10301-UP

1шт.

14

07002-01423

O-RING

SN: 10301-UP

2шт.

15

154-60-71240

ELBOW

SN: 10301-UP

1шт.

16

07000-13035

O-RING

SN: 10301-UP

1шт.

17

01010-51080

BOLT

SN: 10301-UP

4шт.

18

01643-51032

WASHER

SN: 10301-UP

4шт.

19

154-60-71230

TUBE

SN: 10301-UP

1шт.

20

07000-13035

O-RING

SN: 10301-UP

2шт.

21

07372-51040

BOLT

SN: 10301-UP

4шт.

22

01010-51060

BOLT

SN: 10301-UP

4шт.

23

01643-51032

WASHER

SN: 10301-UP

8шт.

24

205-62-67230

ELBOW

SN: 10301-UP

1шт.

25

07042-30108

PLUG

SN: 10301-UP

1шт.

|$$34

====================

-1шт.

Выбрано товаров: 34