Запчасти Komatsu D135A-2 ГИДРОЛИНИЯ (БАК - ГИДРОЦИЛИНДР ПОДЪЕМА) (/) УПРАВЛ-Е РАБОЧИМ ОБОРУДОВАНИЕМ

Схема запчастей Komatsu D135A-2 - ГИДРОЛИНИЯ (БАК - ГИДРОЦИЛИНДР ПОДЪЕМА) (/) УПРАВЛ-Е РАБОЧИМ ОБОРУДОВАНИЕМ
FIT
1:1
100%

Артикул

Название

Примечание

Количество

G-1

0

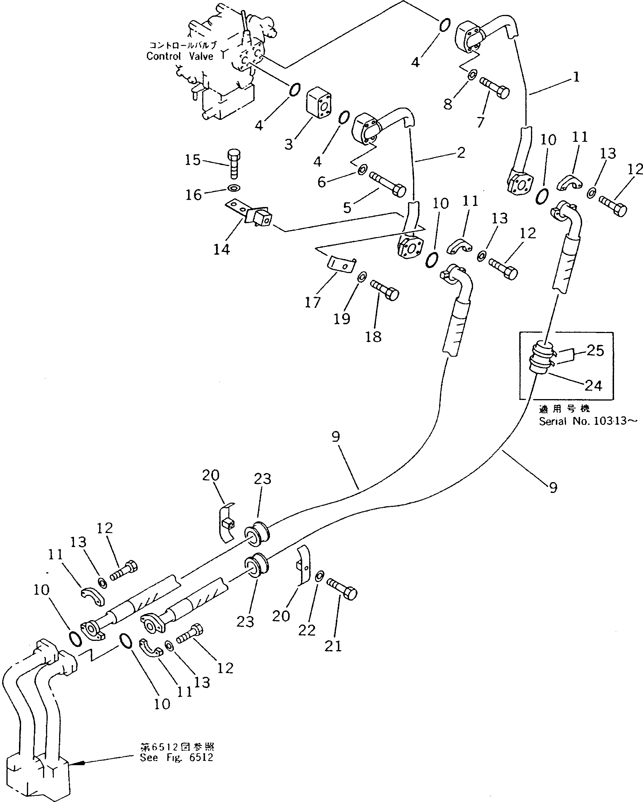
PIPING GROUP,(FOR BLADE LIFT)

SN: 10301-UP

1шт.

|$$2

====================

-1шт.

1

15A-61-12111

TUBE

SN: 10301-UP

1шт.

2

15A-61-12120

TUBE

SN: 10301-UP

1шт.

3

154-61-73140

SPACER

SN: 10301-UP

1шт.

4

07000-13035

O-RING

SN: 10301-UP

3шт.

5

01011-51035

BOLT

SN: 10301-UP

4шт.

6

01643-31032

WASHER

SN: 10301-UP

4шт.

7

01010-51090

BOLT

SN: 10301-UP

4шт.

8

01643-31032

WASHER

SN: 10301-UP

4шт.

9

07124-01218

HOSE

SN: 10301-UP

2шт.

10

07000-13038

O-RING

SN: 10301-UP

4шт.

11

07371-31255

FLANGE,SPRIT

SN: 10301-UP

8шт.

12

07372-21035

BOLT

SN: 10301-UP

16шт.

13

01643-51032

WASHER

SN: 10301-UP

16шт.

14

15A-61-12220

BRACKET

SN: 10301-UP

1шт.

15

01010-51225

BOLT

SN: 10301-UP

2шт.

16

01643-31232

WASHER

SN: 10301-UP

2шт.

17

20X-62-12620

CLAMP

SN: 10301-UP

1шт.

18

01010-51230

BOLT

SN: 10301-UP

1шт.

19

01643-31232

WASHER

SN: 10301-UP

1шт.

20

15A-61-12240

CLAMP

SN: 10301-UP

2шт.

21

01010-51285

BOLT

SN: 10301-UP

1шт.

22

01643-31232

WASHER

SN: 10301-UP

1шт.

23

15A-61-12250

CUSHION

SN: 10301-UP

2шт.

24

205-62-72240

COVER

SN: 10313-UP

1шт.

25

08034-00536

BAND

SN: 10313-UP

2шт.

|$$28

====================

-1шт.

Выбрано товаров: 28