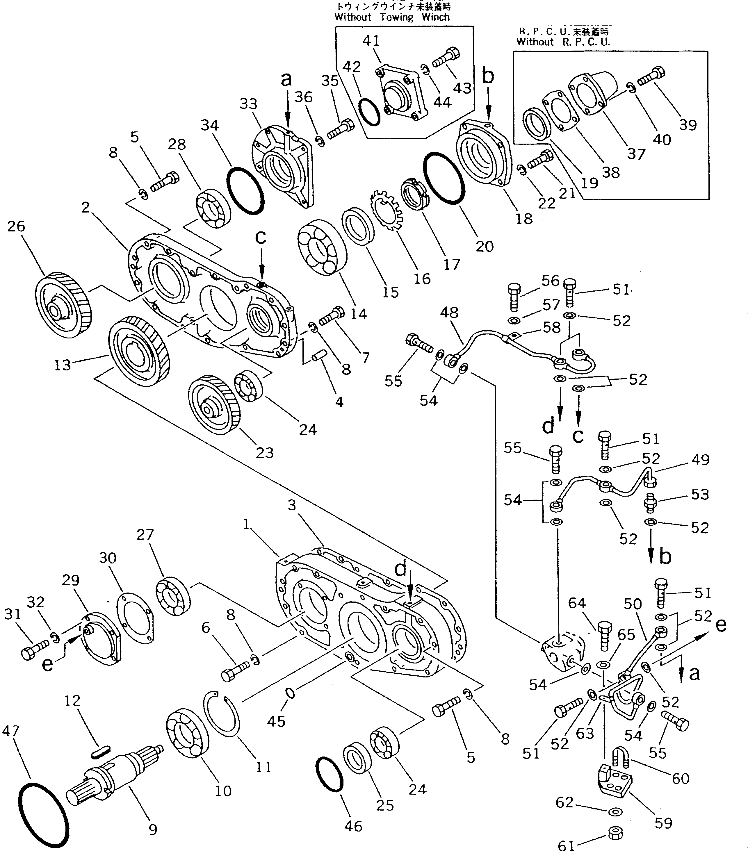
Запчасти Komatsu D135A-2 МЕХ-М ОТБОРА МОЩНОСТИ КОМПОНЕНТЫ ДВИГАТЕЛЯ И ЭЛЕКТРИКА

Схема запчастей Komatsu D135A-2 - МЕХ-М ОТБОРА МОЩНОСТИ КОМПОНЕНТЫ ДВИГАТЕЛЯ И ЭЛЕКТРИКА
FIT
1:1
100%

Артикул

Название

Примечание

Количество

|$0

15A-38-00011

PTO ASS'Y

SN: 10569-UP

1шт.

|$1

0

PTO ASS'Y

SN: 10301-10568

1шт.

1

154-38-25110

CASE

SN: 10301-UP

1шт.

2

175-38-11110

CASE,PTO

SN: 10301-UP

1шт.

3

154-01-12131

GASKET,CASE

SN: 10569-UP

1шт.

3

0

GASKET,CASE

SN: 10301-10568

1шт.

4

04020-01024

PIN,DOWEL

SN: 10301-UP

2шт.

5

01011-51205

BOLT

SN: 10301-UP

13шт.

6

01010-51275

BOLT

SN: 10301-UP

2шт.

7

01010-51250

BOLT

SN: 10301-UP

2шт.

8

01602-21236

WASHER,SPRING

SN: 10301-UP

17шт.

9

154-01-12220

SHAFT

SN: 10301-UP

1шт.

10

154-01-12280

BEARING,ROLLER

SN: 10301-UP

1шт.

11

150-21-22180

RING,SNAP

SN: 10301-UP

1шт.

12

04000-02050

KEY

SN: 10301-UP

2шт.

13

154-01-12230

GEAR

SN: 10301-UP

1шт.

14

06040-06314

BEARING,BALL

SN: 10301-UP

1шт.

15

154-01-12240

COLLAR

SN: 10301-UP

1шт.

16

01658-16823

WASHER,LOCK

SN: 10301-UP

1шт.

17

01530-06814

NUT

SN: 10301-UP

1шт.

18

154-01-12250

COVER

SN: 10301-UP

1шт.

19

07012-00060

SEAL,OIL

SN: 10301-UP

1шт.

20

07000-05150

O-RING

SN: 10301-UP

1шт.

21

01010-51230

BOLT

SN: 10301-UP

4шт.

22

01602-21236

WASHER,SPRING

SN: 10301-UP

4шт.

23

154-01-12310

GEAR

SN: 10301-UP

1шт.

24

06040-06209

BEARING,BALL

SN: 10301-UP

2шт.

25

154-01-12320

RING

SN: 10301-UP

1шт.

26

15A-38-11110

GEAR

SN: 10301-UP

1шт.

27

06040-06212

BEARING,BALL

SN: 10301-UP

1шт.

28

06040-06312

BEARING,BALL

SN: 10301-UP

1шт.

29

154-01-12420

COVER

SN: 10301-UP

1шт.

30

154-01-12431

GASKET

SN: 10569-UP

1шт.

30

0

GASKET

SN: 10301-10568

1шт.

31

01010-51025

BOLT

SN: 10301-UP

4шт.

32

01602-21030

WASHER,SPRING

SN: 10301-UP

4шт.

33

15A-38-11120

CAGE,BEARING

SN: 10301-UP

1шт.

34

07000-05150

O-RING

SN: 10301-UP

1шт.

35

01010-51255

BOLT

SN: 10301-UP

2шт.

36

01602-21236

WASHER,SPRING

SN: 10301-UP

2шт.

37

154-01-12260

COVER

SN: 10301-UP

1шт.

38

154-01-12271

GASKET

SN: 10569-UP

1шт.

38

0

GASKET

SN: 10301-10568

1шт.

39

01010-51025

BOLT

SN: 10301-UP

4шт.

40

01602-21030

WASHER,SPRING

SN: 10301-UP

4шт.

41

154-01-12450

COVER

SN: 10301-UP

1шт.

42

07000-03078

O-RING

SN: 10301-UP

1шт.

43

01010-51245

BOLT

SN: 10301-UP

4шт.

44

01602-21236

WASHER,SPRING

SN: 10301-UP

4шт.

45

07000-03030

O-RING

SN: 10301-UP

1шт.

46

07000-02105

O-RING

SN: 10301-UP

1шт.

47

07000-05195

O-RING

SN: 10301-UP

1шт.

48

154-01-21730

TUBE

SN: 10301-UP

1шт.

49

154-01-21720

TUBE

SN: 10301-UP

1шт.

50

154-01-21740

TUBE

SN: 10301-UP

1шт.

51

6600-01-3860

BOLT,JOINT

SN: 10301-UP

5шт.

52

07005-01012

GASKET

SN: 10301-UP

11шт.

53

154-01-12520

NIPPLE

SN: 10301-UP

1шт.

54

07005-01012

GASKET

SN: 10301-UP

6шт.

55

07206-30710

BOLT,JOINT

SN: 10301-UP

3шт.

56

01010-51220

BOLT

SN: 10301-UP

1шт.

57

01643-31232

WASHER

SN: 10301-UP

1шт.

58

08036-10614

CLIP

SN: 10301-UP

1шт.

59

154-01-21760

ELBOW

SN: 10301-UP

1шт.

60

07283-21529

CLIP

SN: 10301-UP

2шт.

61

01598-00809

NUT

SN: 10301-UP

4шт.

62

01643-30823

WASHER

SN: 10301-UP

4шт.

63

198-38-12330

CLIP

SN: 10301-UP

1шт.

64

01010-51025

BOLT

SN: 10301-UP

1шт.

65

01643-31032

WASHER

SN: 10301-UP

1шт.

Выбрано товаров: 70