Запчасти Komatsu D135A-2 РАДИАТОР КОМПОНЕНТЫ ДВИГАТЕЛЯ И ЭЛЕКТРИКА

Схема запчастей Komatsu D135A-2 - РАДИАТОР КОМПОНЕНТЫ ДВИГАТЕЛЯ И ЭЛЕКТРИКА
FIT
1:1
100%

Артикул

Название

Примечание

Количество

|$0

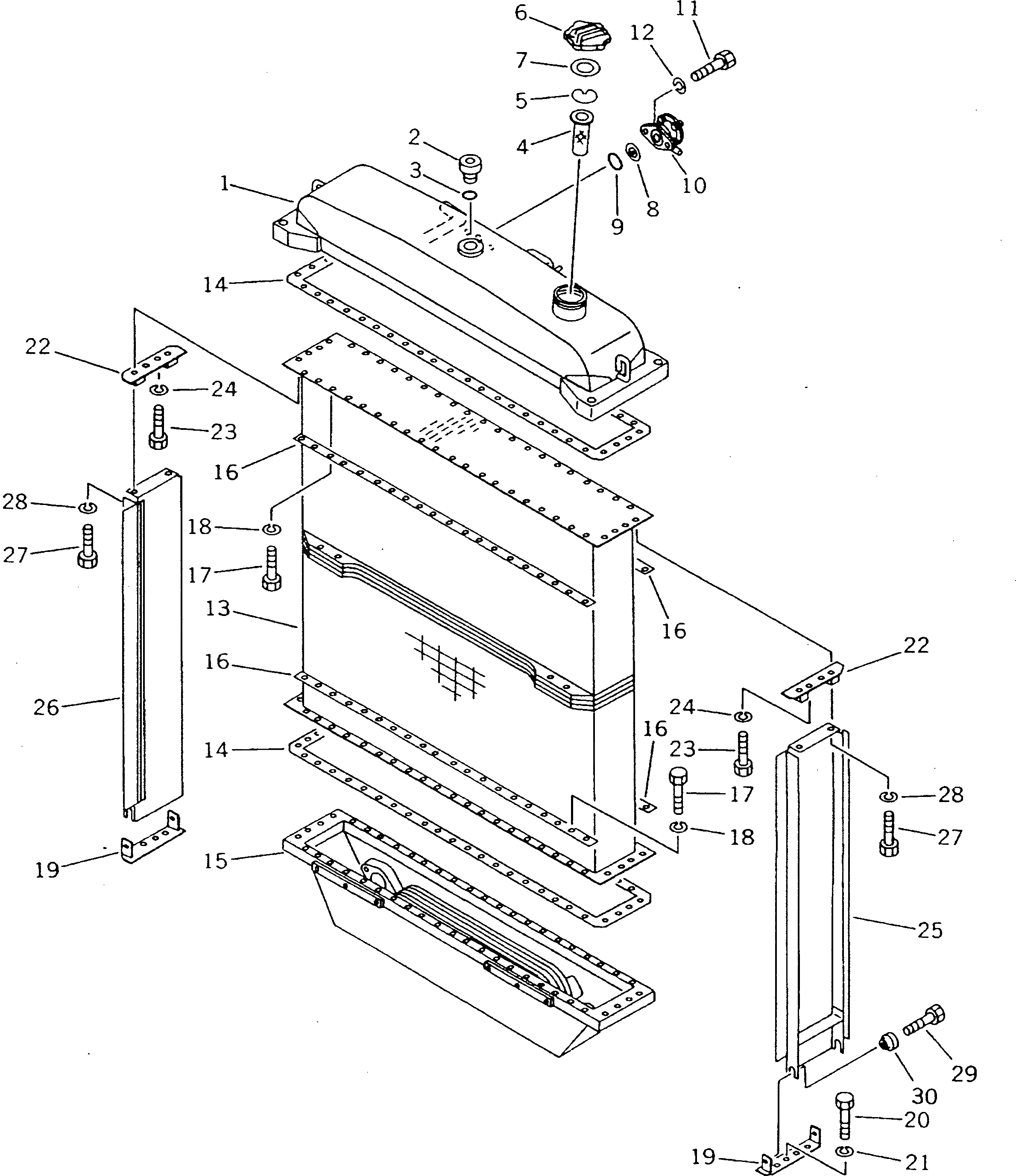
15A-03-00021

RADIATOR ASS'Y

SN: 10569-UP

1шт.

|$1

0

RADIATOR ASS'Y

SN: 10301-10568

1шт.

1

154-03-31510

TANK,UPPER

SN: 10301-UP

1шт.

2

07040-13618

PLUG

SN: 10301-UP

1шт.

3

07002-43634

O-RING

SN: 10301-UP

1шт.

4

07056-00048

STRAINER

SN: 10301-UP

1шт.

5

07057-03271

RING

SN: 10301-UP

1шт.

6

07053-10000

CAP

SN: 10301-UP

1шт.

7

07053-00002

GASKET

SN: 10301-UP

1шт.

8

175-03-32570

SCREEN

SN: 10301-UP

1шт.

9

07000-43045

O-RING

SN: 10301-UP

1шт.

10

195-03-41370

VALVE,PRESSURE

SN: 10301-UP

1шт.

11

01010-51025

BOLT

SN: 10301-UP

2шт.

12

01602-21030

WASHER,SPRING

SN: 10301-UP

2шт.

13

15A-03-11190

CORE,RADIATOR

SN: 10301-UP

1шт.

14

154-03-11263

GASKET

SN: 10569-UP

2шт.

14

0

GASKET

SN: 10301-10568

2шт.

15

15A-03-21240

TANK,LOWER

SN: 10301-UP

1шт.

16

154-03-11151

PLATE

SN: 10301-UP

4шт.

17

01010-51030

BOLT

SN: 10301-UP

80шт.

18

01602-21030

WASHER,SPRING

SN: 10301-UP

80шт.

19

154-03-13150

PLATE

SN: 10301-UP

2шт.

20

01010-51235

BOLT

SN: 10301-UP

8шт.

21

01602-21236

WASHER,SPRING

SN: 10301-UP

8шт.

22

154-03-13140

PLATE

SN: 10301-UP

2шт.

23

01010-51235

BOLT

SN: 10301-UP

4шт.

24

01602-21236

WASHER,SPRING

SN: 10301-UP

4шт.

25

154-03-31440

PLATE,L.H.

SN: 10301-UP

1шт.

26

154-03-31450

PLATE,R.H.

SN: 10301-UP

1шт.

27

01010-51250

BOLT

SN: 10301-UP

4шт.

28

01602-21236

WASHER,SPRING

SN: 10301-UP

4шт.

29

01010-51030

BOLT

SN: 10301-UP

4шт.

30

195-03-22160

SEAT

SN: 10301-UP

4шт.

Выбрано товаров: 33