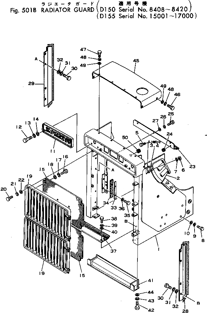
Запчасти Komatsu D150A-1 ЗАЩИТА РАДИАТОРА(№88-8) ЧАСТИ КОРПУСА

Схема запчастей Komatsu D150A-1 - ЗАЩИТА РАДИАТОРА(№88-8) ЧАСТИ КОРПУСА
FIT
1:1
100%

Артикул

Название

Примечание

Количество

1

175-54-31111

RADIATOR GUARD ASS'Y

SN: 8408-8420

1шт.

2

175-54-21133

SUPPORT (WELDED)

SN: 6843-@

2шт.

3

175-862-3480

BRACKET,L.H. (WELDED)

SN: 8408-@

1шт.

4

175-862-3490

BRACKET,R.H. (WELDED)

SN: 8408-@

1шт.

5

01010-30835

BOLT

SN: 8329-@

2шт.

6

01580-00806

NUT

SN: 8329-@

2шт.

7

01602-00825

WASHER,SPRING

SN: 8329-@

2шт.

8

01011-62760

BOLT

SN: 6091-8420

16шт.

9

01602-02783

WASHER

SN: 5508-8420

16шт.

10

01643-32780

WASHER

SN: 5508-8420

16шт.

11

175-54-21244

MARK

SN: 8408-@

1шт.

12

01010-31035

BOLT

SN: 5508-@

4шт.

13

01602-01030

WASHER,SPRING

SN: 5508-@

4шт.

14

01642-01016

WASHER

SN: 5508-@

4шт.

15

175-54-21274

NET

SN: 8408-@

2шт.

16

01010-30825

BOLT

SN: 6091-@

12шт.

17

01602-00825

WASHER,SPRING

SN: 5508-@

12шт.

18

01643-30823

WASHER

SN: 5508-@

12шт.

19

175-54-21285

GRILLE

SN: 8408-@

2шт.

20

01010-31650

BOLT

SN: 8408-@

4шт.

21

01602-01648

WASHER,SPRING

SN: 8408-@

4шт.

22

01643-31645

WASHER

SN: 8408-@

4шт.

23

175-54-21318

PLATE

SN: 8408-@

1шт.

24

08037-01008

GROMMET

SN: 8408-@

1шт.

25

01010-31230

BOLT

SN: 8408-8420

3шт.

26

01602-01236

WASHER,SPRING

SN: 8408-@

3шт.

27

01643-31232

WASHER

SN: 8408-@

3шт.

28

175-54-21820

PLATE,L.H.

SN: 8408-@

1шт.

29

175-54-21830

PLATE,R.H.

SN: 8408-@

1шт.

30

01010-31220

BOLT

SN: 8408-8420

8шт.

31

01602-01236

WASHER,SPRING

SN: 8408-@

8шт.

32

01643-31232

WASHER

SN: 8408-@

8шт.

33

175-862-2340

PLATE

SN: 8408-@

4шт.

34

175-862-2350

SEAT

SN: 8408-@

4шт.

35

01010-31020

BOLT

SN: 8408-8420

8шт.

36

01602-01030

WASHER,SPRING

SN: 8408-@

8шт.

37

175-54-21324

PLATE

SN: 8408-@

1шт.

38

01010-31225

BOLT

SN: 5508-@

4шт.

39

01602-01236

WASHER,SPRING

SN: 5508-@

4шт.

40

01643-31232

WASHER

SN: 5508-@

4шт.

41

175-54-23117

COVER

SN: 8408-@

1шт.

42

01010-32055

BOLT

SN: 6091-@

4шт.

43

01602-02060

WASHER,SPRING

SN: 5508-@

4шт.

44

01643-32060

WASHER

SN: 5508-@

4шт.

45

175-54-21154

COVER

SN: 8408-@

1шт.

46

01010-31220

BOLT

SN: 5508-8420

2шт.

47

01010-31230

BOLT

SN: 5508-8420

6шт.

48

01602-01236

WASHER,SPRING

SN: 5508-@

8шт.

49

01643-31232

WASHER

SN: 5508-@

8шт.

50

08037-03614

GROMMET

SN: 8408-@

1шт.

Выбрано товаров: 50