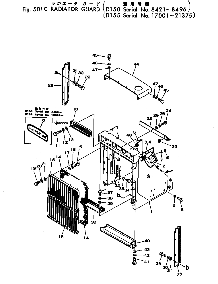
Запчасти Komatsu D150A-1 ЗАЩИТА РАДИАТОРА(№88-89) ЧАСТИ КОРПУСА

Схема запчастей Komatsu D150A-1 - ЗАЩИТА РАДИАТОРА(№88-89) ЧАСТИ КОРПУСА
FIT
1:1
100%

Артикул

Название

Примечание

Количество

1

175-54-31112

RADIATOR GUARD ASS'Y

SN: 8421-8496

1шт.

2

175-54-21133

SUPPORT

SN: 6843-@

2шт.

3

175-862-3480

BRACKET,L.H.

SN: 8408-@

1шт.

4

175-862-3490

BRACKET,R.H.

SN: 8408-@

1шт.

5

01010-30835

BOLT

SN: 8329-@

2шт.

6

01580-00806

NUT

SN: 8329-@

2шт.

7

01602-00825

WASHER,SPRING

SN: 8329-@

2шт.

8

01019-22750

BOLT

SN: 8421-8496

16шт.

9

01643-32780

WASHER

SN: 8454-@

16шт.

10

175-54-21245

MARK

SN: 8454-@

1шт.

10

175-54-21244

MARK

SN: 8408-8453

1шт.

11

01010-31020

BOLT

SN: 8454-@

4шт.

11

01010-31035

BOLT

SN: 5508-8453

4шт.

12

01602-01030

WASHER,SPRING

SN: 5508-@

4шт.

13

01642-01016

WASHER

SN: 5508-@

4шт.

14

175-54-21275

NET

SN: 8454-@

2шт.

14

175-54-21274

NET

SN: 8408-8453

2шт.

15

01010-30825

BOLT

SN: 6091-@

12шт.

16

01602-00825

WASHER,SPRING

SN: 5508-@

12шт.

17

01643-30823

WASHER

SN: 5508-@

12шт.

18

175-54-21285

GRILLE

SN: 8408-@

2шт.

19

01010-31645

BOLT

SN: 8454-@

4шт.

19

01010-31650

BOLT

SN: 8408-8453

4шт.

20

01602-01648

WASHER,SPRING

SN: 8408-8453

4шт.

21

01643-31645

WASHER

SN: 8408-@

4шт.

22

175-54-21318

PLATE

SN: 8408-@

1шт.

23

08037-01008

GROMMET

SN: 8408-@

1шт.

24

01010-31225

BOLT

SN: 8421-@

3шт.

25

01602-01236

WASHER,SPRING

SN: 8408-@

3шт.

26

01643-31232

WASHER

SN: 8408-@

3шт.

27

175-54-21820

PLATE,L.H.

SN: 8408-8496

1шт.

28

175-54-21830

PLATE,R.H.

SN: 8408-8496

1шт.

29

01010-31230

BOLT

SN: 8421-@

8шт.

30

01602-01236

WASHER,SPRING

SN: 8408-8496

8шт.

31

01643-31232

WASHER

SN: 8408-@

8шт.

32

175-862-2340

PLATE

SN: 8408-8496

4шт.

33

175-862-2350

SEAT

SN: 8408-8496

4шт.

34

01010-31025

BOLT

SN: 8421-8496

8шт.

35

01602-01030

WASHER,SPRING

SN: 8408-8496

8шт.

36

175-54-21324

PLATE

SN: 8408-8496

1шт.

37

01010-31225

BOLT

SN: 5508-@

4шт.

38

01602-01236

WASHER,SPRING

SN: 5508-8496

4шт.

39

01643-31232

WASHER

SN: 5508-@

4шт.

40

175-54-23118

COVER

SN: 8454-8496

1шт.

40

175-54-23117

COVER

SN: 8408-8453

1шт.

41

01010-32055

BOLT

SN: 6091-@

4шт.

42

01602-02060

WASHER,SPRING

SN: 5508-@

4шт.

43

01643-32060

WASHER

SN: 5508-@

4шт.

44

175-54-21155

COVER

SN: 8454-@

1шт.

44

175-54-21154

COVER

SN: 8408-8453

1шт.

45

01010-31225

BOLT

SN: 8421-@

8шт.

46

01602-01236

WASHER,SPRING

SN: 5508-@

8шт.

47

01643-31232

WASHER

SN: 5508-@

8шт.

48

08037-03614

GROMMET

SN: 8408-@

1шт.

Выбрано товаров: 54