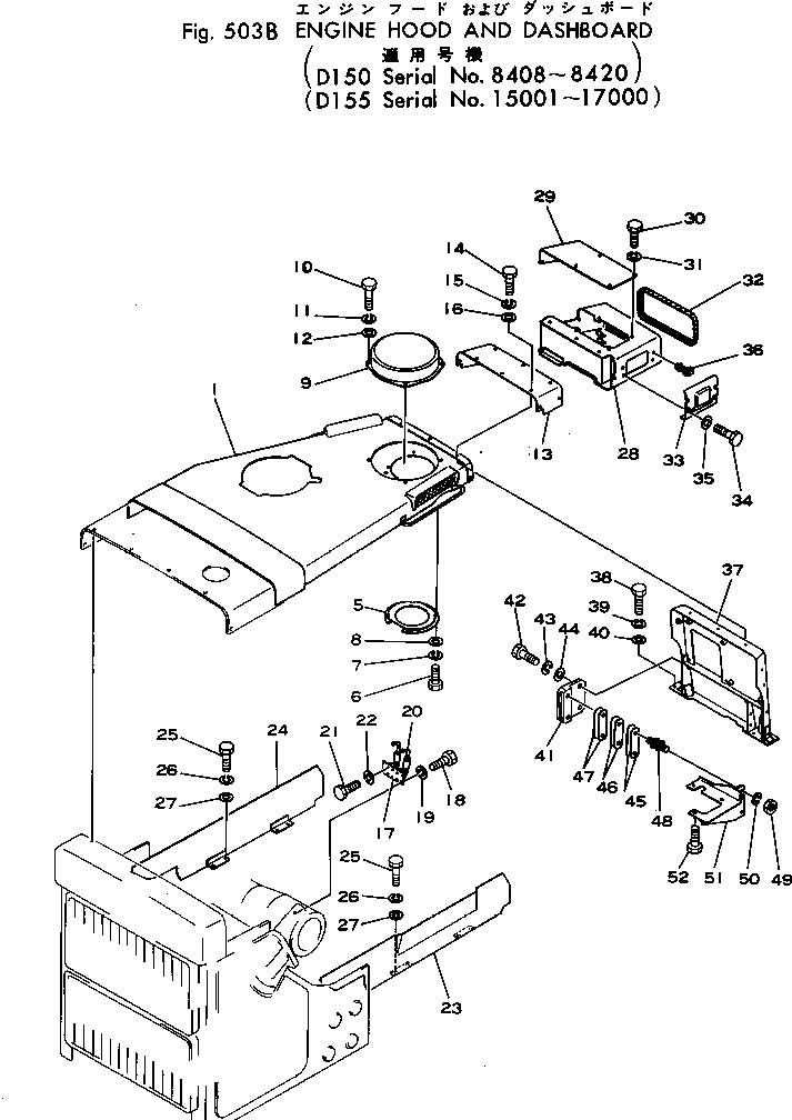
Запчасти Komatsu D150A-1 КАПОТ И ПРИБОРНАЯ ПАНЕЛЬ(№88-8) ЧАСТИ КОРПУСА

Схема запчастей Komatsu D150A-1 - КАПОТ И ПРИБОРНАЯ ПАНЕЛЬ(№88-8) ЧАСТИ КОРПУСА
FIT
1:1
100%

Артикул

Название

Примечание

Количество

1

175-54-21166

HOOD

SN: 8408-8420

1шт.

5

175-54-21681

COVER

SN: 8408-8420

1шт.

6

01010-30820

BOLT

SN: 8408-@

4шт.

7

01602-00825

WASHER

SN: 8408-@

4шт.

8

01643-30823

WASHER

SN: 8408-@

4шт.

9

175-862-3530

COVER

SN: 8408-@

1шт.

10

01010-31020

BOLT

SN: 8408-@

4шт.

11

01602-01030

WASHER

SN: 8408-@

4шт.

12

01643-31032

WASHER

SN: 8408-@

4шт.

13

175-54-21840

COVER

SN: 8408-@

1шт.

14

01010-31235

BOLT

SN: 8408-@

9шт.

15

01602-01236

WASHER

SN: 8408-@

9шт.

16

124-54-26540

WASHER

SN: 8408-@

9шт.

16

0

WASHER

SN: 8408-8416

9шт.

17

175-54-21810

PLATE

SN: 8408-@

2шт.

18

01010-31230

BOLT

SN: 8408-@

4шт.

19

01602-01236

WASHER

SN: 8408-@

4шт.

20

175-54-21360

CATCH ASS'Y

SN: 8408-@

4шт.

21

01010-31025

BOLT

SN: 8408-@

12шт.

22

01602-01030

WASHER

SN: 8408-@

12шт.

23

175-54-21177

COVER,L.H.

SN: 8329-8420

1шт.

24

175-54-21184

COVER,R.H.

SN: 6843-8420

1шт.

25

01010-31240

BOLT

SN: 5508-8420

8шт.

26

01602-01236

WASHER

SN: 5508-8420

8шт.

27

175-54-21340

WASHER

SN: 5508-8420

8шт.

28

175-54-33342

DASHBOARD

SN: 8408-8420

1шт.

29

175-54-33440

COVER

SN: 8408-8420

1шт.

30

01010-31020

BOLT

SN: 8408-8420

6шт.

31

01602-01030

WASHER

SN: 8408-8420

6шт.

32

175-54-21533

STRIP

SN: 8408-@

1шт.

33

175-54-33790

COVER

SN: 8408-8420

1шт.

34

01010-31025

BOLT

SN: 8408-8420

3шт.

35

01602-01030

WASHER

SN: 8408-8420

3шт.

36

09459-00000

LOCK

SN: 8408-8420

2шт.

37

175-54-33362

BRACKET

SN: 8408-8420

1шт.

38

01010-31440

BOLT

SN: 8408-8420

6шт.

39

01602-01442

WASHER

SN: 8408-8420

6шт.

40

01643-31445

WASHER

SN: 8408-8420

6шт.

41

175-54-33660

PLATE

SN: 8408-8420

1шт.

42

01010-31055

BOLT

SN: 8408-8420

2шт.

43

01602-01030

WASHER

SN: 8408-8420

2шт.

44

01643-31032

WASHER

SN: 8408-8420

2шт.

|$42

175-54-00210

SHIM ASS'Y

SN: 8408-8420

1шт.

45

0

SHIM, 2.3MM

SN: 8408-8420

2шт.

46

0

SHIM, 3.2MM

SN: 8408-8420

2шт.

47

0

SHIM, 4.5MM

SN: 8408-8420

2шт.

48

154-06-13910

ISOLATOR

SN: 8408-8420

2шт.

49

01582-01008

NUT

SN: 8408-8420

2шт.

50

01643-31032

WASHER

SN: 8417-8420

2шт.

50

0

WASHER,SPRING

SN: 8408-8416

2шт.

51

175-54-33650

BRACKET

SN: 8408-8420

1шт.

52

01010-31440

BOLT

SN: 8408-8420

3шт.

Выбрано товаров: 52