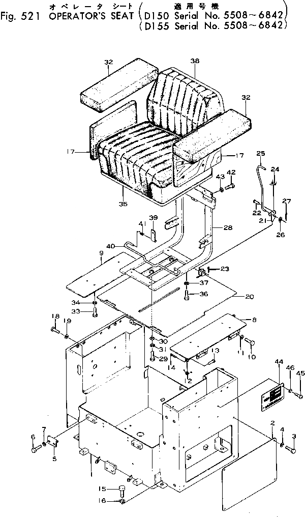
Запчасти Komatsu D150A-1 СИДЕНЬЕ ОПЕРАТОРА(№8-8) ЧАСТИ КОРПУСА

Схема запчастей Komatsu D150A-1 - СИДЕНЬЕ ОПЕРАТОРА(№8-8) ЧАСТИ КОРПУСА
FIT
1:1
100%

Артикул

Название

Примечание

Количество

|$0

175-57-00012

BATTERY CASE ASS'Y

SN: 6091-6842

1шт.

|$1

0

BATTERY CASE ASS'Y

SN: 5513-6090

1шт.

|$2

0

BATTERY CASE ASS'Y

SN: 5508-5512

1шт.

1

154-57-21112

CASE,BATTERY

SN: 5508-6842

1шт.

1

0

CASE,BATTERY

SN: (5508-5512)

1шт.

2

154-57-21120

PLATE

SN: 5508-@

1шт.

3

01010-30816

BOLT

SN: 6091-@

4шт.

3

01000-30816

BOLT

SN: 5508-6090

4шт.

4

01602-00825

WASHER

SN: 5508-@

4шт.

5

140-57-12190

PLATE

SN: 5508-@

2шт.

6

01010-31225

BOLT

SN: 5508-@

4шт.

7

01602-01236

WASHER

SN: 5508-@

4шт.

8

195-57-11123

COVER,L.H.

SN: 5513-@

1шт.

8

195-57-11121

COVER,L.H.

SN: 5508-5512

1шт.

9

195-57-11133

COVER,R.H.

SN: 5513-@

1шт.

9

195-57-11131

COVER,R.H.

SN: 5508-5512

1шт.

10

01010-30816

BOLT

SN: 6091-@

8шт.

10

01000-30816

BOLT

SN: 5508-6090

8шт.

11

01602-00825

WASHER

SN: 5508-@

8шт.

12

131-54-11150

SPRING

SN: 5508-@

2шт.

13

04205-00616

PIN

SN: 5508-@

4шт.

14

04050-01610

PIN

SN: 5508-@

4шт.

15

01040-31435

BOLT

SN: 5508-6090

4шт.

15

01010-31435

BOLT

SN: 6090-6842

4шт.

16

01602-01442

WASHER

SN: 5508-6842

4шт.

17

195-57-11291

SEAT

SN: 5508-@

2шт.

17

0

SEAT

SN: (5508-5512)

2шт.

18

01010-30825

BOLT

SN: 6091-@

8шт.

18

01000-30825

BOLT

SN: 5508-6090

8шт.

19

01602-00825

WASHER

SN: 5508-@

8шт.

20

154-57-21130

PLATE

SN: 5508-6842

1шт.

21

135-57-12191

PLATE

SN: 5508-@

1шт.

22

135-43-16270

PIN

SN: 5508-@

1шт.

23

04050-03015

PIN

SN: 5508-@

1шт.

24

135-57-12230

SPRING

SN: 5508-@

1шт.

25

154-57-21161

ROD

SN: 5508-6842

1шт.

26

01640-20610

WASHER

SN: 5508-@

1шт.

27

04050-01612

PIN

SN: 5508-@

1шт.

28

154-57-21141

FRAME

SN: 5508-6842

1шт.

29

01010-31225

BOLT

SN: 5508-6842

2шт.

30

01643-01232

WASHER

SN: 5508-6842

2шт.

31

01602-01236

WASHER

SN: 5508-6842

2шт.

32

195-57-11211

REST,ARM

SN: 5508-@

2шт.

32

0

REST,ARM

SN: (5508-5512)

2шт.

33

01010-30825

BOLT

SN: 6091-@

8шт.

33

01000-30825

BOLT

SN: 5508-6090

8шт.

34

01602-00825

WASHER

SN: 5508-@

8шт.

35

09400-10000

SEAT

SN: 5508-6842

1шт.

36

01010-30835

BOLT

SN: 6091-@

4шт.

36

01000-30835

BOLT

SN: 5508-6090

4шт.

37

01602-00825

WASHER

SN: 5508-@

4шт.

38

09401-10000

SEAT,BACK

SN: 5508-@

1шт.

39

145-57-12230

PLATE

SN: 5508-@

2шт.

40

154-57-21150

ROD

SN: 5508-@

1шт.

41

150-57-14140

SPRING

SN: 5508-@

1шт.

42

01010-30835

BOLT

SN: 6091-@

6шт.

42

01000-30835

BOLT

SN: 5508-6090

6шт.

43

01602-00825

WASHER

SN: 5508-@

6шт.

44

09602-01643

PLATE, NAME

SN: 5508-6842

1шт.

45

01210-20412

SCREW

SN: 5508-6090

4шт.

45

01210-50412

SCREW

SN: 5508-6842

4шт.

46

01601-00410

WASHER

SN: 5508-6842

4шт.

Выбрано товаров: 62