Запчасти Komatsu D150A-1 ГИДР. БАК. (/)(№88-) УПРАВЛ-Е РАБОЧИМ ОБОРУДОВАНИЕМ

Схема запчастей Komatsu D150A-1 - ГИДР. БАК. (/)(№88-) УПРАВЛ-Е РАБОЧИМ ОБОРУДОВАНИЕМ
FIT
1:1
100%

Артикул

Название

Примечание

Количество

|$0

175-60-29007

TANK ASS'Y

SN: .-UP

1шт.

|$1

0

TANK ASS'Y

SN: 8513-.

1шт.

|$2

0

TANK ASS'Y

SN: 8481-8512

1шт.

|$3

0

TANK ASS'Y

SN: 8454-8480

1шт.

|$4

0

TANK ASS'Y

SN: 8421-8453

1шт.

|$5

0

TANK ASS'Y

SN: 8408-8420

1шт.

|$$7

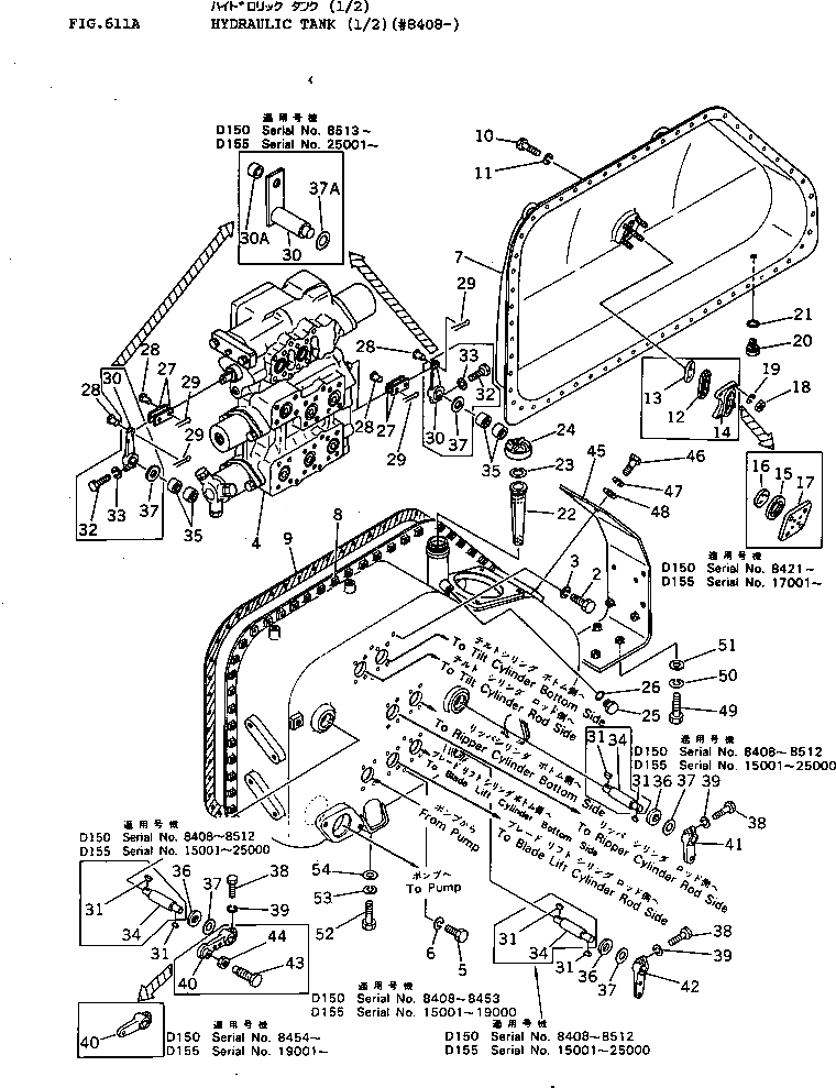
THESE ASSEMBLIES CONSIST OF ALL PARTS SHOWN IN FIGS.611A, 612A, 621B, 622B AND 625A.

-1шт.

1

701-41-11006

VALVE ASS'Y,BLADE TILT

SN: 8481-UP

1шт.

1

0

VALVE ASS'Y,BLADE TILT

SN: 8454-8480

1шт.

1

0

VALVE ASS'Y,BLADE TILT

SN: 8408-8453

1шт.

2

01010-31230

BOLT

SN: 6091-UP

3шт.

3

01602-01236

WASHER,SPRING

SN: 5508-UP

3шт.

4

701-43-24002

VALVE ASS'Y,BLADE LIFT AND RIPPER

SN: 8481-UP

1шт.

4

0

VALVE ASS'Y,BLADE LIFT AND RIPPER

SN: 8454-8480

1шт.

4

0

VALVE ASS'Y,BLADE LIFT AND RIPPER

SN: 8421-8453

1шт.

4

0

VALVE ASS'Y,BLADE LIFT AND RIPPER

SN: 8408-8420

1шт.

5

01010-31230

BOLT

SN: 6091-UP

4шт.

6

01602-01236

WASHER,SPRING

SN: 5508-UP

4шт.

7

175-60-39121

TANK

SN: 8421-UP

1шт.

7

0

TANK

SN: 5508-8420

1шт.

|$$21

(175-60-39121,07715-12257,

-1шт.

|$$22

07115-00651,07715-21074,

-1шт.

|$$23

01698-01011)

-1шт.

8

175-60-27410

TANK

SN: 8513-UP

1шт.

8

175-60-27119

TANK

SN: 8454-8512

1шт.

8

0

TANK

SN: 8408-8453

1шт.

|$$27

(175-60-27119,175-60-29130,

-1шт.

|$$28

01010-31230(2))

-1шт.

9

175-60-27442

GASKET

SN: .-UP

1шт.

9

0

GASKET

SN: 5508-.

1шт.

10

01010-31025

BOLT

SN: 6091-UP

55шт.

11

01602-01030

WASHER,SPRING

SN: 5508-UP

55шт.

|$32

155-60-12300

LEVEL GAUGE ASS'Y

SN: 5508-8420

1шт.

12

155-60-12310

PACKING

SN: 5508-8420

1шт.

13

155-60-12320

PLATE

SN: 5508-8420

1шт.

14

155-60-12230

FLANGE

SN: 5508-8420

1шт.

15

07715-11257

RING

SN: 8421-UP

1шт.

16

07715-00651

COVER

SN: 8421-UP

1шт.

17

07715-21074

CASE

SN: 8421-UP

1шт.

18

01598-01011

NUT

SN: 8421-UP

4шт.

18

01580-01008

NUT

SN: 6091-UP

4шт.

19

01602-01030

WASHER,SPRING

SN: 5508-8420

4шт.

20

07044-13620

PLUG

SN: 5508-UP

1шт.

21

07002-03634

O-RING

SN: 8408-UP

1шт.

22

07056-10045

STRAINER

SN: 8421-UP

1шт.

22

0

STRAINER

SN: 5508-8420

1шт.

23

150-60-22410

RING,SNAP

SN: 5508-8420

1шт.

24

07051-00000

CAP

SN: 5508-UP

1шт.

24

07092-00000

CAP,(FOR VANDALISM PROTECTION)

SN: 5508-UP

1шт.

24

07051-00003

GASKET

SN: 5508-UP

1шт.

25

701-30-63130

PLUG

SN: 8408-UP

1шт.

26

07002-02034

O-RING

SN: 8408-UP

1шт.

27

141-60-32170

YOKE

SN: 6091-UP

6шт.

28

04205-01028

PIN

SN: 5508-UP

6шт.

29

04050-03015

PIN,COTTER

SN: 5508-UP

6шт.

30

175-60-29140

LEVER

SN: 8513-UP

3шт.

30

0

LEVER

SN: 8408-8512

3шт.

|$$58

(175-60-29140,175-60-29150)

-1шт.

30A

06600-01008

BUSHING

SN: 8513-UP

3шт.

31

04010-00519

KEY

SN: 8513-UP

3шт.

31

04010-00519

KEY

SN: 5508-8512

6шт.

32

01010-30830

BOLT

SN: 6091-8512

3шт.

33

01602-00825

WASHER,SPRING

SN: 5508-8512

3шт.

34

0

SHAFT

SN: 5508-8512

3шт.

|$$65

(175-60-29140,175-60-29150)

-1шт.

35

06120-02520

BEARING

SN: 5508-UP

6шт.

36

154-60-12370

SEAL

SN: 5508-UP

3шт.

37

01640-22440

WASHER

SN: 8513-UP

3шт.

37

01640-22440

WASHER

SN: 5508-8512

6шт.

37A

175-60-29150

WASHER

SN: 6091-UP

3шт.

38

01010-31040

BOLT

SN: 6091-UP

3шт.

39

01602-01030

WASHER,SPRING

SN: 5508-UP

3шт.

40

175-60-29120

LEVER

SN: 8454-UP

1шт.

40

175-60-27330

LEVER

SN: 5508-8453

1шт.

41

195-60-13120

LEVER

SN: 8408-UP

1шт.

42

175-60-27310

LEVER

SN: 8329-UP

1шт.

43

154-60-41220

BOLT

SN: 6091-8453

1шт.

44

01580-01613

NUT

SN: 6091-8453

1шт.

45

175-60-27371

BRACKET

SN: 5508-UP

1шт.

46

01010-31235

BOLT

SN: 6091-UP

4шт.

47

01602-01236

WASHER,SPRING

SN: 5508-UP

4шт.

48

01643-01232

WASHER

SN: 5508-UP

4шт.

49

01010-31440

BOLT

SN: 8408-UP

4шт.

50

01602-01442

WASHER,SPRING

SN: 5508-UP

4шт.

51

01643-01445

WASHER

SN: 8408-UP

4шт.

52

01010-31850

BOLT

SN: 8408-UP

5шт.

53

01602-01854

WASHER,SPRING

SN: 7272-UP

5шт.

54

01643-31845

WASHER

SN: 8408-UP

5шт.

Выбрано товаров: 88