Запчасти Komatsu D150A-1 ГИДР. БАК. (/)(№88-) УПРАВЛ-Е РАБОЧИМ ОБОРУДОВАНИЕМ

Схема запчастей Komatsu D150A-1 - ГИДР. БАК. (/)(№88-) УПРАВЛ-Е РАБОЧИМ ОБОРУДОВАНИЕМ
FIT
1:1
100%

Артикул

Название

Примечание

Количество

|$0

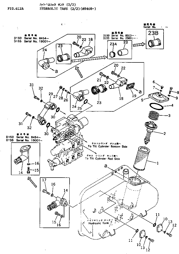
175-60-29006

TANK ASS'Y

SN: 8513-UP

1шт.

|$1

0

TANK ASS'Y

SN: 8481-8512

1шт.

|$2

0

TANK ASS'Y

SN: 8454-8408

1шт.

|$3

0

TANK ASS'Y

SN: 8421-8453

1шт.

|$4

0

TANK ASS'Y

SN: 8408-8420

1шт.

|$$6

THESE ASSEMBLIES CONSIST OF ALL PARTS SHOWN IN FIGS.611A, 612A, 621B, 622B AND 625A.

-1шт.

1

07063-01100

ELEMENT

SN: 5508-UP

1шт.

2

175-60-27300

VALVE ASS'Y

SN: 8408-UP

1шт.

3

175-60-27340

SPRING

SN: 5508-UP

1шт.

4

07000-05150

O-RING

SN: 5508-UP

1шт.

5

175-60-27171

COVER

SN: 6091-UP

1шт.

6

154-60-12260

PLUG

SN: 8408-UP

1шт.

7

07000-02010

O-RING

SN: 5508-UP

1шт.

8

01010-31235

BOLT

SN: 6091-UP

4шт.

9

01602-01236

WASHER

SN: 5508-UP

4шт.

10

07378-01460

FLANGE

SN: 5508-UP

4шт.

11

07000-13048

O-RING

SN: 5508-UP

4шт.

12

01010-31240

BOLT

SN: 5508-UP

16шт.

13

01602-01236

WASHER

SN: 5508-UP

16шт.

14

175-60-29130

BAFFLE

SN: 8454-UP

1шт.

14

175-60-27281

BAFFLE

SN: 8408-8453

1шт.

15

01010-31230

BOLT

SN: 8454-UP

2шт.

15

01010-31235

BOLT

SN: 8408-8453

1шт.

16

01643-51232

WASHER

SN: 8513-UP

2шт.

16

0

WASHER,SPRING

SN: 8408-8512

2шт.

17

01011-31205

BOLT

SN: 8408-8453

1шт.

18

175-60-27262

TUBE

SN: 8454-UP

1шт.

18

0

TUBE

SN: 6091-8453

1шт.

19

175-60-27460

GASKET

SN: 6091-8453

1шт.

20

01010-31275

BOLT

SN: 8454-UP

2шт.

20

01010-31275

BOLT

SN: 6091-8453

3шт.

21

01010-31285

BOLT

SN: 6091-8453

1шт.

22

01643-51232

WASHER

SN: 8454-8512

4шт.

22

0

WASHER,SPRING

SN: 6091-8453

2шт.

23

175-60-29160

HOSE

SN: 8513-.

1шт.

23

0

COUPLING ASS'Y

SN: 8454-8512

1шт.

|$$37

(175-60-29160,07281-00709)

-1шт.

23

0

COUPLING

SN: 5508-8453

1шт.

23A

07281-00709

CLAMP

SN: 8513-.

2шт.

23B

175-60-29170

HOSE

SN: .-UP

1шт.

24

175-60-27272

TUBE

SN: 8454-UP

1шт.

24

0

TUBE

SN: 6091-8453

1шт.

25

07000-13050

O-RING

SN: 5508-8453

1шт.

26

01144-31435

STUD

SN: 5508-UP

2шт.

27

01580-01411

NUT

SN: 5508-UP

2шт.

28

20D-14-11510

WASHER

SN: 8513-UP

2шт.

28

0

WASHER,SPRING

SN: 6091-8512

2шт.

29

175-60-27253

TUBE

SN: 8513-UP

1шт.

29

0

TUBE

SN: 5508-8512

1шт.

30

07000-13050

O-RING

SN: 6091-UP

2шт.

31

01010-31445

BOLT

SN: 6091-UP

4шт.

32

20D-14-11510

WASHER

SN: 8513-UP

4шт.

32

0

WASHER,SPRING

SN: 5508-8512

4шт.

Выбрано товаров: 53