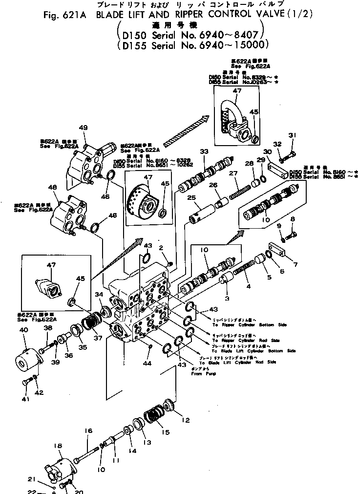
Запчасти Komatsu D150A-1 КЛАПАН ПОДЪЕМА ОТВАЛА И РЫХЛИТЕЛЯ (/)(№9-87) УПРАВЛ-Е РАБОЧИМ ОБОРУДОВАНИЕМ

Схема запчастей Komatsu D150A-1 - КЛАПАН ПОДЪЕМА ОТВАЛА И РЫХЛИТЕЛЯ (/)(№9-87) УПРАВЛ-Е РАБОЧИМ ОБОРУДОВАНИЕМ
FIT
1:1
100%

Артикул

Название

Примечание

Количество

|$0

175-60-00202

TANK ASS'Y

SN: 5508-8407

1шт.

|$$2

THIS ASSEMBLY CONSISTS OF ALL PARTS SHOWN IN FIGS.611, 612, 621, 621A, 622, 622A AND 625.

-1шт.

|$2

701-43-11005

VALVE ASS'Y

SN: 8329-8407

1шт.

|$3

701-43-11004

VALVE ASS'Y

SN: 8160-8328

1шт.

|$4

701-43-11003

VALVE ASS'Y

SN: 5508-8159

1шт.

|$5

701-43-31005

BODY ASS'Y

SN: .-8407

1шт.

|$6

701-43-31004

BODY ASS'Y

SN: 8160-.

1шт.

|$7

701-43-31003

BODY ASS'Y

SN: 6940-8159

1шт.

1

0

BODY

SN: 6940-8407

1шт.

2

07042-00312

PLUG

SN: 5508-8407

2шт.

3

701-53-31120

VALVE

SN: 5508-8407

1шт.

4

701-53-31130

SPRING

SN: 5508-@

1шт.

5

701-43-31140

SEAT

SN: 5508-8407

1шт.

6

07000-13035

O-RING

SN: 5508-@

1шт.

7

701-53-31160

PLATE

SN: 5508-@

1шт.

8

01010-31445

BOLT

SN: 5508-@

2шт.

9

01602-01442

WASHER

SN: 5508-@

2шт.

10

0

SPOOL

SN: 5509-@

1шт.

10

0

SPOOL

SN: 5508-5508

1шт.

11

701-43-31171

DETENT

SN: 8160-@

1шт.

11

701-43-31170

DETENT

SN: 5508-8159

1шт.

12

701-43-31180

SPACER

SN: 5508-8407

1шт.

13

701-43-31190

SPACER

SN: 5508-8407

1шт.

14

701-43-31210

COLLAR

SN: 5508-8407

1шт.

15

701-43-31221

SPRING

SN: 8160-@

1шт.

15

701-43-31220

SPRING

SN: 5508-8159

1шт.

16

701-43-31230

BOLT

SN: 5508-@

1шт.

17

01602-01236

WASHER

SN: 5508-@

1шт.

18

701-43-31240

CASE

SN: 5508-@

1шт.

19

01010-31235

BOLT

SN: .-8407

2шт.

19

0

BOLT

SN: 5508-.

2шт.

20

01602-01236

WASHER

SN: 5508-@

2шт.

21

701-33-31320

BALL

SN: 5508-@

3шт.

22

701-43-31370

GUIDE

SN: 8160-8407

3шт.

22

701-33-31330

GUIDE

SN: 5508-8159

3шт.

22A

701-43-31390

SHIM

SN: 8160-8407

6шт.

23

701-43-31331

SPRING

SN: 8160-@

3шт.

23

701-43-31330

SPRING

SN: 5508-8159

3шт.

24

701-43-31380

PLUG

SN: 8160-8407

3шт.

24

701-33-31350

PLUG

SN: 5508-8159

3шт.

25

701-43-31250

COLLAR

SN: 5508-.

1шт.

26

701-43-31420

VALVE

SN: .-@

1шт.

26

701-43-31260

VALVE

SN: 5508-.

1шт.

27

701-53-31130

SPRING

SN: 5508-@

1шт.

28

701-43-33130

SEAT

SN: .-@

1шт.

28

701-43-31270

SEAT

SN: 5508-.

1шт.

29

07000-13035

O-RING

SN: .-@

1шт.

29

07000-13028

O-RING

SN: 5508-.

1шт.

30

701-53-31290

PLATE

SN: 5508-8407

1шт.

31

01010-31450

BOLT

SN: 5508-8407

2шт.

32

01602-01442

WASHER

SN: 5508-@

2шт.

33

0

SPOOL

SN: 8160-@

1шт.

33

0

SPOOL

SN: 5508-8159

1шт.

34

701-43-31180

SPACER

SN: 5508-8407

1шт.

35

701-43-31190

SPACER

SN: 5508-8407

1шт.

36

701-43-31290

COLLAR

SN: 5508-8407

1шт.

37

701-43-31221

SPRING

SN: 8160-8407

1шт.

37

701-43-31220

SPRING

SN: 5508-8159

1шт.

38

01010-31290

BOLT

SN: 5508-@

1шт.

39

01602-01236

WASHER

SN: 5508-@

1шт.

40

701-43-31310

CASE

SN: 5508-@

1шт.

41

01010-31235

BOLT

SN: .-8407

2шт.

41

0

BOLT

SN: 5508-.

2шт.

42

01602-01236

WASHER

SN: 5508-@

2шт.

43

701-51-31250

O-RING

SN: 5508-8407

6шт.

44

07000-02015

O-RING

SN: 5508-8407

29шт.

45

701-40-51140

COLLAR

SN: 5508-@

1шт.

46

07000-13038

O-RING

SN: 5508-@

4шт.

47

701-40-51002

VALVE ASS'Y

SN: 8329-@

1шт.

47

701-40-51001

VALVE ASS'Y

SN: 8160-8328

1шт.

47

701-40-51000

VALVE ASS'Y

SN: 5508-8159

1шт.

48

701-40-61001

VALVE ASS'Y

SN: 6040-8407

1шт.

49

701-40-62001

VALVE ASS'Y

SN: 6940-8407

1шт.

Выбрано товаров: 73