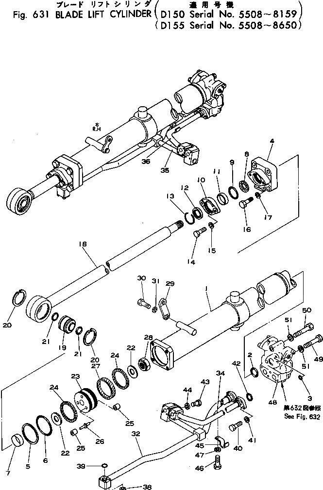
Запчасти Komatsu D150A-1 ЦИЛИНДР ПОДЪЕМА ОТВАЛА(№8-89) УПРАВЛ-Е РАБОЧИМ ОБОРУДОВАНИЕМ

Схема запчастей Komatsu D150A-1 - ЦИЛИНДР ПОДЪЕМА ОТВАЛА(№8-89) УПРАВЛ-Е РАБОЧИМ ОБОРУДОВАНИЕМ
FIT
1:1
100%

Артикул

Название

Примечание

Количество

|$0

175-63-12004

CYLINDER ASS'Y,L.H.

SN: 6843-8159

1шт.

|$1

175-63-12001

CYLINDER ASS'Y,L.H.

SN: 5508-6842

1шт.

|$2

175-63-12104

CYLINDER ASS'Y,R.H.

SN: 6843-8159

1шт.

|$3

175-63-12101

CYLINDER ASS'Y,R.H.

SN: 5508-6842

1шт.

|$$5

THESE ASSEMBLIES CONSIST OF ALL PARTS SHOWN IN FIGS.631 AND 632.

-1шт.

1

175-63-12141

CYLINDER

SN: 6843-8159

1шт.

1

175-63-12140

CYLINDER

SN: 5508-6842

1шт.

2

07000-12055

O-RING

SN: 5508-@

1шт.

3

07000-13022

O-RING

SN: 5508-@

1шт.

4

175-63-12130

HEAD

SN: 5508-@

1шт.

5

07146-02136

RING,BACK-UP

SN: 5508-@

1шт.

6

07000-12135

O-RING

SN: 5508-@

1шт.

7

07177-07030

BUSHING

SN: 5508-@

1шт.

8

154-63-42373

PACKING

SN: 6843-@

1шт.

8

0

U-PACKING

SN: (6843-8159)

1шт.

8

154-63-42370

PACKING

SN: 5508-6842

1шт.

9

07000-13090

O-RING

SN: 5508-@

1шт.

10

07178-07042

GLAND

SN: 5508-8159

1шт.

11

07177-07015

BUSHING

SN: 5508-@

1шт.

12

07016-00708

SEAL,DUST

SN: 5508-@

1шт.

13

07179-00093

RING

SN: 5508-@

1шт.

14

01010-31650

BOLT

SN: 5508-8159

2шт.

15

01602-01648

WASHER

SN: 5508-8159

2шт.

16

01010-32470

BOLT

SN: 6843-8159

4шт.

16

01010-32475

BOLT

SN: 5508-6842

4шт.

17

01602-02472

WASHER

SN: 5508-8159

4шт.

18

175-63-12120

ROD

SN: 5508-@

1шт.

19

07137-05008

BUSHING

SN: 5508-@

1шт.

20

04065-01140

RING,SNAP

SN: 5508-@

2шт.

21

07000-03050

O-RING

SN: 5508-@

2шт.

22

07164-01408

RETAINER

SN: 5508-@

2шт.

23

07151-01445

PISTON

SN: 5508-@

1шт.

24

175-63-12250

RING,PISTON

SN: 8160-@

2шт.

24

0

RING,PISTON

SN: 5508-8159

2шт.

25

0

SEAT

SN: 6843-8159

6шт.

25

0

SEAT

SN: 5508-6842

6шт.

26

0

VALVE

SN: 6843-8159

3шт.

26

0

VALVE

SN: 5508-6842

3шт.

27

07155-01435

RING

SN: 5508-@

1шт.

28

07165-14547

NUT

SN: 5508-@

1шт.

29

175-63-12370

PLATE

SN: 6843-@

1шт.

29

175-61-12140

PLATE

SN: 5508-6842

1шт.

30

01010-31245

BOLT

SN: 5508-8159

1шт.

31

01602-01236

WASHER

SN: 5508-8159

1шт.

32

175-63-12172

TUBE,L.H.

SN: 6843-8159

1шт.

32

175-61-14241

TUBE,L.H.

SN: 5508-6842

1шт.

33

07042-00108

PLUG

SN: 5508-8159

1шт.

34

175-63-12182

TUBE,L.H.

SN: 6843-8159

1шт.

34

175-61-14281

TUBE,L.H.

SN: 5508-6842

1шт.

35

175-63-12271

TUBE,R.H.

SN: 6843-8159

1шт.

35

175-61-14311

TUBE,R.H.

SN: 5508-6842

1шт.

36

175-63-12281

TUBE,R.H.

SN: 6843-8159

1шт.

36

175-61-14321

TUBE,R.H.

SN: 5508-6842

1шт.

37

01010-31075

BOLT

SN: 5508-8159

4шт.

38

01602-01030

WASHER

SN: 5508-8159

4шт.

39

07000-13035

O-RING

SN: 5508-8159

1шт.

40

01010-31240

BOLT

SN: 5508-8159

4шт.

41

01602-01236

WASHER

SN: 5508-8159

4шт.

42

07000-13038

O-RING

SN: 5508-8159

2шт.

43

01010-31020

BOLT

SN: 5508-8159

2шт.

44

01602-01030

WASHER

SN: 5508-8159

2шт.

45

175-61-14390

PLATE

SN: 5508-8159

1шт.

46

01010-31020

BOLT

SN: 5508-8159

1шт.

47

01602-01030

WASHER

SN: 5508-8159

1шт.

48

175-61-00043

VALVE ASS'Y

SN: 5508-8159

1шт.

49

01011-31640

BOLT

SN: 5508-8159

1шт.

50

01011-31610

BOLT

SN: 5508-8159

1шт.

51

01602-01648

WASHER

SN: 5508-8159

3шт.

Выбрано товаров: 68