Запчасти Komatsu D150A-1 R.O.P.S.(№8-) ОПЦИОННЫЕ КОМПОНЕНТЫ

Схема запчастей Komatsu D150A-1 - R.O.P.S.(№8-) ОПЦИОННЫЕ КОМПОНЕНТЫ
FIT
1:1
100%

Артикул

Название

Примечание

Количество

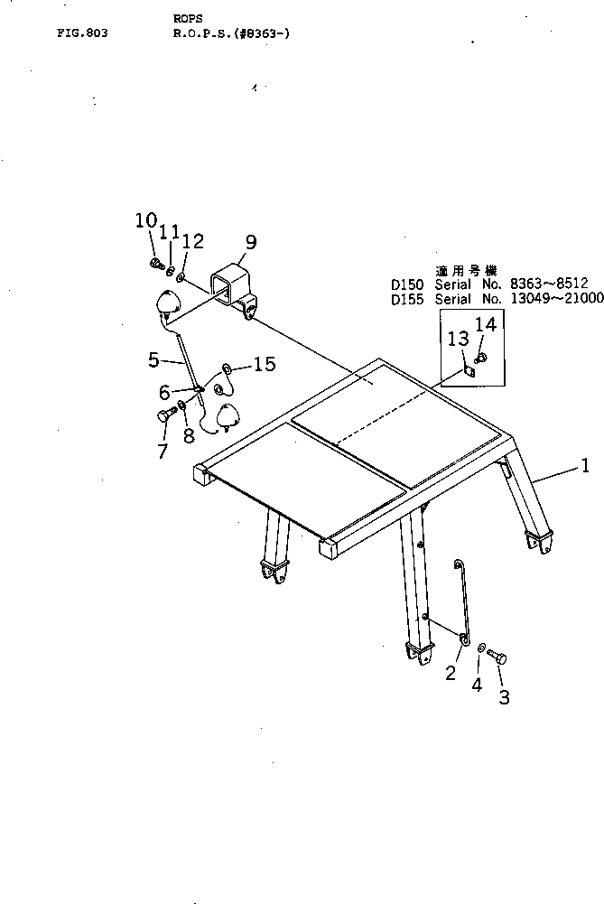
1

175-978-3512

GUARD

SN: 8513-UP

1шт.

1

0

GUARD

SN: 8421-8512

1шт.

1

0

GUARD

SN: 8363-8420

1шт.

1

175-978-3270

GUARD,(FOR AUSTRALIA)

SN: 5507-5507

1шт.

2

09420-01907

HANDLE

SN: .-UP

2шт.

2

0

HANDLE

SN: 8363-.

2шт.

3

01010-51230

BOLT

SN: 8363-UP

4шт.

4

01643-31232

WASHER

SN: 8513-UP

4шт.

4

0

WASHER,SPRING

SN: 8363-8512

4шт.

5

195-06-15993

WIRE ASS'Y

SN: 8526-UP

1шт.

5

0

WIRE ASS'Y

SN: 8363-8525

1шт.

6

08036-01814

CLIP

SN: 8363-UP

2шт.

7

01010-31020

BOLT

SN: 8363-UP

2шт.

8

01643-31032

WASHER

SN: 8363-UP

2шт.

9

195-06-21931

COVER

SN: 8363-UP

1шт.

10

01010-51230

BOLT

SN: 8363-UP

3шт.

11

01602-01236

WASHER,SPRING

SN: 8363-8512

3шт.

12

01643-31232

WASHER

SN: 8363-UP

3шт.

13

09620-00200

PLATE, NAME

SN: 8363-8512

1шт.

14

04418-13060

SCREW

SN: 8363-8512

4шт.

15

195-978-2280

WIRE

SN: 8363-UP

1шт.

Выбрано товаров: 21