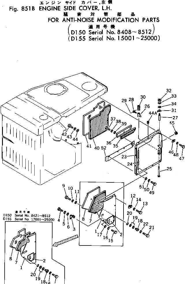
Запчасти Komatsu D150A-1 БОКОВ. КРЫШКА ДВИГ.¤ ЛЕВ.¤ ДЛЯ ШУМОИЗОЛЯЦИЯ(№88-8) ОПЦИОННЫЕ КОМПОНЕНТЫ

Схема запчастей Komatsu D150A-1 - БОКОВ. КРЫШКА ДВИГ.¤ ЛЕВ.¤ ДЛЯ ШУМОИЗОЛЯЦИЯ(№88-8) ОПЦИОННЫЕ КОМПОНЕНТЫ
FIT
1:1
100%

Артикул

Название

Примечание

Количество

|$0

175-54-00136

SIDE COVER ASS'Y

SN: 8421-8512

1шт.

|$1

175-54-00135

SIDE COVER ASS'Y

SN: 8408-8420

1шт.

1

175-54-37141

COVER

SN: 8421-8512

1шт.

1

175-54-37140

COVER

SN: 8408-8420

1шт.

2

175-54-25270

COVER

SN: 8408-8512

1шт.

3

175-54-25281

CATCH

SN: 8421-8512

1шт.

3

175-54-25280

CATCH

SN: 8408-8420

1шт.

4

01010-31025

BOLT

SN: 8408-8512

2шт.

5

01602-01030

WASHER

SN: 8408-8512

2шт.

6

01643-31032

WASHER

SN: 8408-8512

2шт.

7

175-54-37181

FELT

SN: 8421-@

1шт.

7

175-54-37180

FELT

SN: 8408-8420

1шт.

8

175-54-37171

NET

SN: 8421-@

1шт.

8

175-54-37170

NET

SN: 8408-8420

1шт.

9

01010-31025

BOLT

SN: 8408-@

8шт.

10

01602-01030

WASHER

SN: 8408-@

8шт.

11

22-406497-01

PLATE

SN: 8408-@

8шт.

12

09462-00080

STOPPER

SN: 8408-@

2шт.

13

01010-31250

BOLT

SN: 8408-@

2шт.

14

01602-01236

WASHER

SN: 8408-@

2шт.

15

01010-31235

BOLT

SN: 8408-@

2шт.

16

01602-01236

WASHER

SN: 8408-8512

2шт.

17

124-54-26540

WASHER

SN: 8408-8420

2шт.

|$23

175-54-00100

COLLAR ASS'Y

SN: 8421-@

4шт.

|$24

175-54-00100

COLLAR ASS'Y

SN: 8408-8420

2шт.

18

175-54-27360

COLLAR

SN: 8408-@

1шт.

19

175-54-27350

SPRING

SN: 8408-@

2шт.

20

175-54-28770

RING

SN: 8408-@

1шт.

21

01010-31235

BOLT

SN: 8408-@

2шт.

22

01602-01236

WASHER

SN: 8408-8512

2шт.

|$30

175-54-00146

SIDE COVER ASS'Y

SN: 8421-8512

1шт.

|$31

175-54-00145

SIDE COVER ASS'Y

SN: 8408-8420

1шт.

23

175-54-37131

COVER

SN: 8421-8512

1шт.

23

175-54-37130

COVER

SN: 8408-8420

1шт.

24

175-54-29850

HINGE

SN: 8408-@

2шт.

25

175-862-3140

GUIDE

SN: 8408-8512

1шт.

26

175-54-25492

LEVER

SN: 8408-8512

1шт.

27

175-862-3130

ROD

SN: 8408-8512

1шт.

28

01306-00820

SCREW

SN: 8408-8512

2шт.

29

04059-01010

WIRE

SN: 8408-8512

2шт.

30

175-54-25511

SPRING

SN: 8408-8512

1шт.

31

175-54-25530

PLATE

SN: 8408-8512

1шт.

32

01580-01210

NUT

SN: 8408-8512

1шт.

33

01602-01236

WASHER

SN: 8408-8512

1шт.

34

01643-31232

WASHER

SN: 8408-8512

1шт.

35

175-54-37160

FELT

SN: 8408-@

1шт.

36

175-54-37150

NET

SN: 8408-@

1шт.

37

01010-31025

BOLT

SN: 8408-@

3шт.

38

01602-01030

WASHER

SN: 8408-@

3шт.

39

22-406497-01

PLATE

SN: 8408-@

3шт.

40

175-862-2751

FELT

SN: 8408-@

1шт.

41

175-862-2741

NET

SN: 8408-@

1шт.

42

01010-31025

BOLT

SN: 8408-@

9шт.

43

01602-01030

WASHER

SN: 8408-@

9шт.

44

22-406497-01

PLATE

SN: 8408-@

9шт.

44A

07049-01012

PLUG

SN: 8408-@

1шт.

45

09415-03614

CAP

SN: 8408-@

1шт.

46

09462-00080

STOPPER

SN: 8408-@

3шт.

47

01010-31250

BOLT

SN: 8408-@

3шт.

48

01602-01236

WASHER

SN: 8408-@

3шт.

49

01010-31235

BOLT

SN: 8408-8512

4шт.

50

01602-01236

WASHER

SN: 8408-8512

4шт.

51

01643-31232

WASHER

SN: 8408-@

4шт.

52

175-54-29370

COVER

SN: 8408-@

1шт.

Выбрано товаров: 64