Запчасти Komatsu D150A-1 БОКОВ. КРЫШКА ДВИГ.¤ ЛЕВ. (ДЛЯ ХОЛОДН. РАЙОНОВ)(№8-) ОПЦИОННЫЕ КОМПОНЕНТЫ

Схема запчастей Komatsu D150A-1 - БОКОВ. КРЫШКА ДВИГ.¤ ЛЕВ. (ДЛЯ ХОЛОДН. РАЙОНОВ)(№8-) ОПЦИОННЫЕ КОМПОНЕНТЫ
FIT
1:1
100%

Артикул

Название

Примечание

Количество

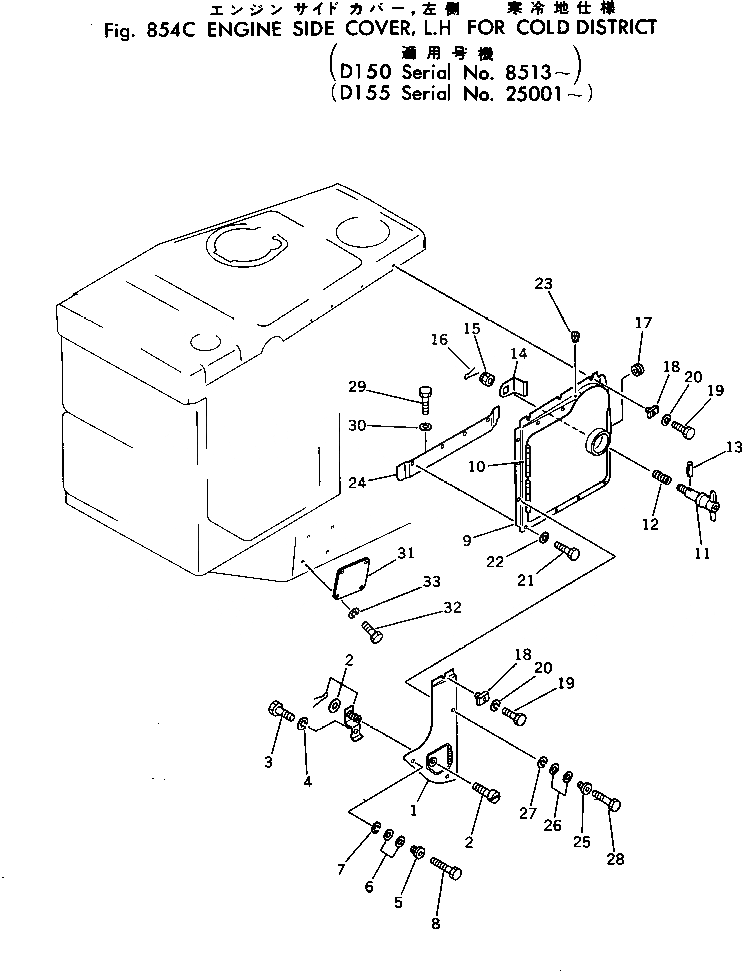
1

175-54-37512

COVER

SN: 8513-UP

1шт.

2

175-54-33940

LOCK ASS'Y

SN: 8513-UP

1шт.

3

01010-50816

BOLT

SN: 8513-UP

1шт.

4

01602-20825

WASHER

SN: 8513-UP

1шт.

|$4

175-54-00100

COLLAR ASS'Y

SN: 8421-UP

2шт.

5

175-54-27360

COLLAR

SN: 8421-UP

1шт.

6

175-54-27350

SPRING

SN: 8421-UP

2шт.

7

175-54-28770

RING

SN: 8421-UP

1шт.

8

01010-31235

BOLT

SN: 8408-UP

2шт.

9

175-54-37132

COVER

SN: 8513-UP

1шт.

10

175-54-29850

HINGE

SN: 8408-UP

2шт.

11

175-886-1260

HANDLE

SN: 8513-UP

1шт.

12

175-886-1270

SPRING

SN: 8513-UP

1шт.

13

04025-00532

PIN

SN: 8513-UP

1шт.

14

175-54-28780

PLATE

SN: 8513-UP

1шт.

15

01590-01215

NUT

SN: 8513-UP

1шт.

16

04050-13020

PIN

SN: 8513-UP

1шт.

17

09415-03614

CAP

SN: 8408-UP

1шт.

18

09462-00080

STOPPER

SN: 8408-UP

4шт.

19

01010-31250

BOLT

SN: 8408-UP

4шт.

20

01602-01236

WASHER

SN: 8408-UP

4шт.

21

01010-31235

BOLT

SN: 8408-UP

4шт.

22

01643-31232

WASHER

SN: 8408-UP

4шт.

23

07049-01012

PLUG

SN: 8408-UP

1шт.

24

175-54-29370

COVER

SN: 8408-UP

1шт.

|$25

175-54-00100

COLLAR ASS'Y

SN: 8421-UP

2шт.

25

175-54-27360

COLLAR

SN: 8421-UP

1шт.

26

175-54-27350

SPRING

SN: 8421-UP

2шт.

27

175-54-28770

RING

SN: 8421-UP

1шт.

28

01010-51235

BOLT

SN: 8408-UP

2шт.

29

01010-31235

BOLT

SN: 8421-UP

4шт.

30

175-54-21340

WASHER

SN: 8421-UP

4шт.

31

175-54-32140

PLATE

SN: 8408-UP

1шт.

32

01010-31235

BOLT

SN: 8408-UP

4шт.

33

01602-01236

WASHER

SN: 8408-UP

4шт.

Выбрано товаров: 35