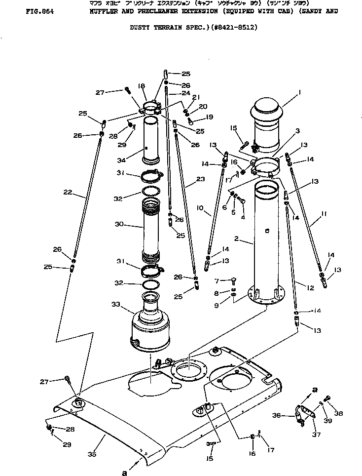
Запчасти Komatsu D150A-1 УДЛИННЕНИЕ ГЛУШИТЕЛЯ И ПРЕФИЛЬТРА (EQUIPED С КАБИНОЙ) (ПЕСЧАН. ИЗАПЫЛЕНН МЕСТН. СПЕЦ-Я.)(№8-8) ОПЦИОННЫЕ КОМПОНЕНТЫ

Схема запчастей Komatsu D150A-1 - УДЛИННЕНИЕ ГЛУШИТЕЛЯ И ПРЕФИЛЬТРА (EQUIPED С КАБИНОЙ) (ПЕСЧАН. И  ЗАПЫЛЕНН МЕСТН. СПЕЦ-Я.)(№8-8) ОПЦИОННЫЕ КОМПОНЕНТЫ
FIT
1:1
100%

Артикул

Название

Примечание

Количество

1

600-181-4950

HOOD

SN: 8421-@

1шт.

2

6127-81-7980

PIPE

SN: 8421-@

1шт.

3

175-54-39120

CLAMP

SN: 8421-@

1шт.

4

01010-31035

BOLT

SN: 8421-8512

1шт.

5

01602-01030

WASHER

SN: 8421-8512

1шт.

6

01643-31032

WASHER

SN: 8421-@

1шт.

7

01010-31030

BOLT

SN: 8421-8512

8шт.

8

01602-01030

WASHER

SN: 8421-8512

8шт.

9

01643-31032

WASHER

SN: 8421-@

8шт.

10

04245-41674

ROD

SN: 8421-@

1шт.

11

04245-41675

ROD

SN: 8421-@

1шт.

12

04245-41687

ROD

SN: 8421-@

1шт.

13

04250-41683

END

SN: 8421-@

6шт.

14

01582-01613

NUT

SN: 8421-@

6шт.

15

01092-31655

BOLT

SN: 8421-@

6шт.

16

01592-01619

NUT

SN: 8421-@

6шт.

17

04050-04030

PIN

SN: 8421-@

6шт.

18

175-54-39130

CLAMP

SN: 8421-8512

1шт.

19

01010-31035

BOLT

SN: 8421-8512

1шт.

20

01602-01030

WASHER

SN: 8421-8512

1шт.

21

01643-31032

WASHER

SN: 8421-@

1шт.

22

175-54-39140

ROD

SN: 8421-8512

1шт.

23

175-54-39150

ROD

SN: 8421-8512

1шт.

24

175-54-39160

ROD

SN: 8421-8512

1шт.

25

175-54-39170

JOINT

SN: 8421-8512

6шт.

26

01582-01613

NUT

SN: 8421-@

6шт.

27

01092-31655

BOLT

SN: 8421-@

6шт.

28

01592-01619

NUT

SN: 8421-@

6шт.

29

04050-04030

PIN

SN: 8421-@

6шт.

30

175-01-82141

BELLOWS

SN: 8421-8512

1шт.

31

175-01-82230

COUPLING

SN: 8421-8512

2шт.

32

175-01-82150

GASKET

SN: 8421-8512

2шт.

33

6127-11-5623

PIPE

SN: 8421-8512

1шт.

34

6127-11-5990

PIPE

SN: 8421-8512

1шт.

35

175-54-39110

HOOD

SN: 8421-8512

1шт.

36

175-54-21361

CATCH ASS'Y

SN: 8454-@

2шт.

36

175-54-21361

CATCH ASS'Y

SN: 8421-8453

4шт.

37

175-54-21810

PLATE

SN: 8454-@

2шт.

38

01010-31025

BOLT

SN: 8454-@

6шт.

39

01602-01030

WASHER

SN: 8454-@

6шт.

Выбрано товаров: 40