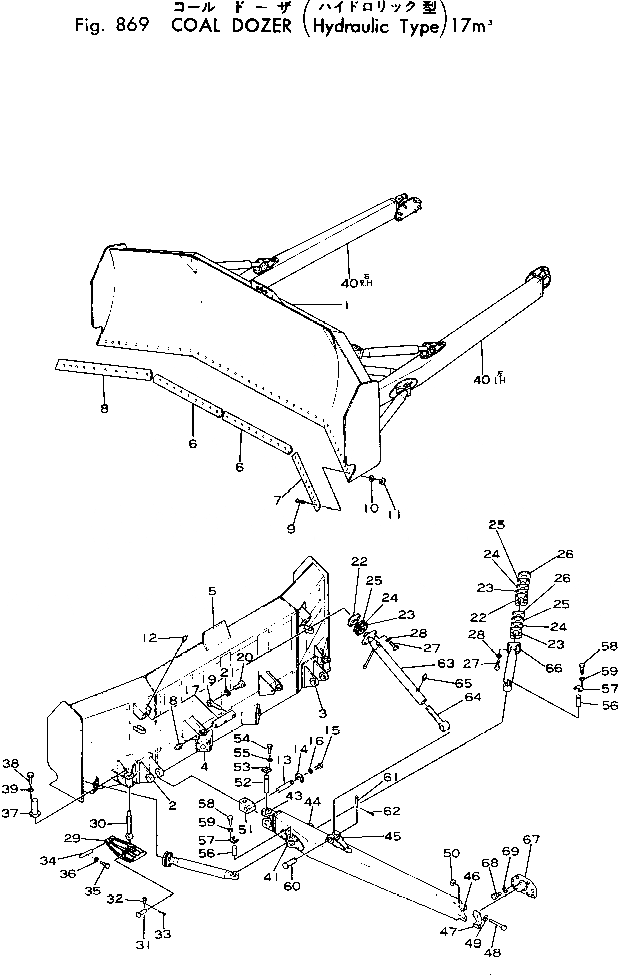
Запчасти Komatsu D150A-1 УГОЛЬН. DOZER (ГИДРАВЛ ТИП) 7M(№8-9) ОПЦИОННЫЕ КОМПОНЕНТЫ

Схема запчастей Komatsu D150A-1 - УГОЛЬН. DOZER (ГИДРАВЛ ТИП) 7M(№8-9) ОПЦИОННЫЕ КОМПОНЕНТЫ
FIT
1:1
100%

Артикул

Название

Примечание

Количество

|$0

175-73-00020

BLADE ASS'Y

SN: 5508-6090

1шт.

1

0

BLADE

SN: 5508-6090

1шт.

2

175-71-21130

BRACKET (WELDED)

SN: 5508-@

1шт.

3

175-71-21140

BRACKET (WELDED)

SN: 5508-@

1шт.

4

175-73-11160

BRACKET (WELDED)

SN: 5508-6090

6шт.

5

175-73-11170

MARK (WELDED)

SN: 5508-6090

1шт.

6

175-73-11130

EDGE

SN: 5508-6090

2шт.

7

175-73-11140

EDGE

SN: 5508-6090

1шт.

8

175-73-11150

EDGE

SN: 5508-6090

1шт.

9

175-71-11450

BOLT

SN: 5508-6090

38шт.

10

01643-22245

WASHER

SN: 5508-@

38шт.

11

02290-01422

NUT

SN: 5508-6090

38шт.

12

07020-00000

FITTING

SN: 5508-@

6шт.

13

175-71-21220

PIN

SN: 5508-6090

2шт.

14

175-71-21230

PLATE

SN: 5508-@

2шт.

15

01010-31450

BOLT

SN: 5508-6090

8шт.

16

01602-21442

WASHER

SN: 5508-@

8шт.

|$17

175-71-00360

SHAFT ASS'Y

SN: 5508-6090

2шт.

17

0

SHAFT

SN: 5508-6090

1шт.

18

07020-00000

FITTING

SN: 5508-@

1шт.

19

195-71-11520

PIN

SN: 5508-@

2шт.

20

01010-51435

BOLT

SN: 5508-@

2шт.

21

01602-21442

WASHER

SN: 5508-@

2шт.

22

175-71-11190

CAP

SN: 5508-6090

6шт.

|$24

175-71-00291

SHIM ASS'Y

SN: 5508-6090

4шт.

23

0

SHIM, 0.5MM

SN: 5508-6090

2шт.

24

0

SHIM, 1.0MM

SN: 5508-6090

5шт.

25

0

SHIM, 2.3MM

SN: 5508-6090

5шт.

26

0

SHIM, 8.0MM

SN: 5508-6090

1шт.

27

175-71-21360

BOLT

SN: 5508-6090

24шт.

28

01602-02268

WASHER

SN: 5508-6090

24шт.

29

170-905-1310

EDGE

SN: 5508-@

2шт.

30

170-905-1320

BOLT

SN: 5508-@

2шт.

31

170-905-1330

PIN

SN: 5508-@

2шт.

32

170-905-1340

PIN

SN: 5508-@

2шт.

33

04050-13020

PIN

SN: 5508-@

2шт.

34

170-905-1350

PIN

SN: 5508-@

2шт.

35

170-905-1360

BOLT

SN: 5508-@

2шт.

36

01602-21442

WASHER

SN: 5508-@

2шт.

37

175-73-11180

COVER

SN: 5508-@

2шт.

38

01010-51230

BOLT

SN: 5508-@

8шт.

39

01602-21236

WASHER

SN: 5508-@

8шт.

|$42

175-73-00030

FRAME ASS'Y,L.H.

SN: 5508-6090

1шт.

|$43

175-73-00040

FRAME ASS'Y,R.H.

SN: 5508-6090

1шт.

40

0

FRAME,L.H.

SN: 5508-6090

1шт.

40

0

FRAME,R.H.

SN: 5508-6090

1шт.

41

195-71-11240

BRACKET

SN: 5508-6090

1шт.

43

175-71-21180

BRACKET

SN: 5508-@

1шт.

44

195-71-11240

BRACKET

SN: 5508-6090

1шт.

45

195-71-11260

BRACKET

SN: 5508-6090

1шт.

|$50

175-71-00190

BRACKET ASS'Y

SN: 5508-6090

1шт.

46

0

BRACKET

SN: 5508-6090

1шт.

47

0

CAP

SN: 5508-6090

2шт.

48

175-71-11490

BOLT

SN: 5508-6090

4шт.

49

01602-22268

WASHER

SN: 5508-@

4шт.

50

180-70-12151

NUT

SN: 5508-6090

4шт.

51

175-71-21260

JOINT

SN: 5508-6090

2шт.

52

175-71-21220

PIN

SN: 5508-6090

2шт.

53

175-71-21230

PLATE

SN: 5508-@

2шт.

54

01010-31450

BOLT

SN: 5508-6090

8шт.

55

01602-21442

WASHER

SN: 5508-@

8шт.

56

154-71-21290

PIN

SN: 5508-@

4шт.

57

175-71-21330

PLATE

SN: 5508-@

4шт.

58

01010-51450

BOLT

SN: 5508-@

16шт.

59

01602-21442

WASHER

SN: 5508-@

16шт.

60

195-71-11350

SHAFT

SN: 5508-6090

2шт.

61

170-901-2181

PIN

SN: 5508-6090

2шт.

62

04050-04025

PIN

SN: 5508-6090

2шт.

|$68

175-73-00050

BRACE ASS'Y

SN: 5508-6090

2шт.

63

0

BRACE

SN: 5508-6090

1шт.

64

175-71-11280

SCREW

SN: 5508-@

1шт.

65

07020-00000

FITTING

SN: 5508-@

1шт.

66

175-71-21281

ARM

SN: 5508-6090

4шт.

67

175-70-23131

TRUNNION

SN: 5508-6090

2шт.

67

175-70-23291

BALL (WELDED)

SN: 5508-6090

1шт.

68

01010-52450

BOLT

SN: 5508-@

16шт.

69

01602-22472

WASHER

SN: 5508-@

16шт.

Выбрано товаров: 77