Запчасти Komatsu D150A-1 СФЕРИЧ. ОТВАЛ(№88-) ОПЦИОННЫЕ КОМПОНЕНТЫ

Схема запчастей Komatsu D150A-1 - СФЕРИЧ. ОТВАЛ(№88-) ОПЦИОННЫЕ КОМПОНЕНТЫ
FIT
1:1
100%

Артикул

Название

Примечание

Количество

|$0

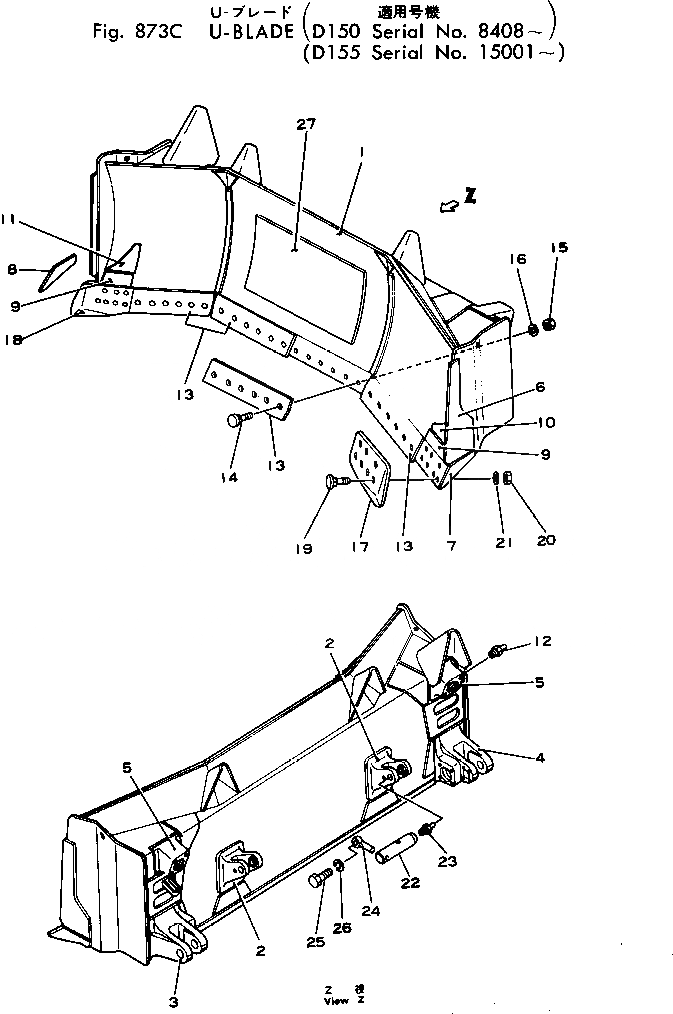
175-72-00018

U-BLADE ASS'Y

SN: 8421-UP

1шт.

|$1

0

U-BLADE ASS'Y

SN: 8408-8420

1шт.

1

175-72-31000

BLADE

SN: 8408-UP

1шт.

2

175-71-27841

BRACKET (WELDED)

SN: 8329-UP

2шт.

3

175-71-31121

BRACKET (WELDED)

SN: 8421-UP

1шт.

3

175-71-31120

BRACKET (WELDED)

SN: 8408-8420

1шт.

4

175-71-31131

BRACKET (WELDED)

SN: 8421-UP

1шт.

4

175-71-31130

BRACKET (WELDED)

SN: 8408-8420

1шт.

5

175-71-31140

PIVOT (WELDED)

SN: 8408-UP

2шт.

6

175-72-22142

PLATE (WELDED)

SN: 8329-UP

2шт.

7

175-72-22121

PLATE (WELDED)

SN: 8329-UP

1шт.

8

175-72-22131

PLATE (WELDED)

SN: 8329-UP

1шт.

9

175-72-31120

PLATE (WELDED)

SN: 8329-UP

2шт.

10

175-72-31130

PLATE (WELDED)

SN: 8329-UP

1шт.

11

175-72-31140

PLATE (WELDED)

SN: 8329-UP

1шт.

12

07020-00000

FITTING

SN: 8421-UP

4шт.

12

07020-00000

FITTING

SN: 5508-8420

2шт.

13

175-72-21123

EDGE

SN: 8329-UP

4шт.

14

175-71-11452

BOLT

SN: 8329-UP

24шт.

15

175-71-11530

NUT

SN: 8329-UP

24шт.

16

01643-32245

WASHER

SN: 8329-UP

24шт.

17

175-70-21126

BIT

SN: 8329-UP

1шт.

18

175-70-21136

BIT

SN: 8329-UP

1шт.

19

175-71-11462

BOLT

SN: 8329-UP

14шт.

20

175-71-11530

NUT

SN: 8329-UP

14шт.

21

01643-32245

WASHER

SN: 8329-UP

14шт.

|$26

175-71-00361

SHAFT ASS'Y

SN: 8329-UP

2шт.

22

0

SHAFT

SN: 8329-UP

1шт.

23

07020-00000

FITTING

SN: 5508-UP

1шт.

24

195-71-11520

PIN

SN: 5508-UP

2шт.

25

01010-31435

BOLT

SN: 6091-UP

2шт.

26

01602-01442

WASHER

SN: 5508-UP

2шт.

27

175-937-4220

PLATE (WELDED)

SN: 8408-UP

1шт.

Выбрано товаров: 33