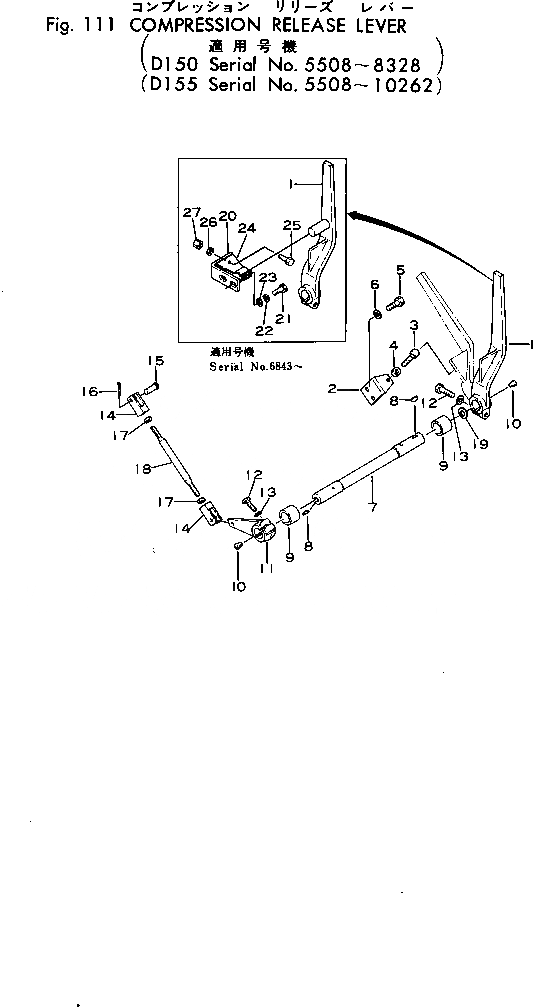
Запчасти Komatsu D150A-1 РЫЧАГ СБРОСА ДАВЛЕНИЯ(№8-88) КОМПОНЕНТЫ ДВИГАТЕЛЯ И ЭЛЕКТРИКА

Схема запчастей Komatsu D150A-1 - РЫЧАГ СБРОСА ДАВЛЕНИЯ(№8-88) КОМПОНЕНТЫ ДВИГАТЕЛЯ И ЭЛЕКТРИКА
FIT
1:1
100%

Артикул

Название

Примечание

Количество

1

175-43-26111

LEVER

SN: 6843-8328

1шт.

1

175-43-26110

LEVER

SN: 5508-6842

1шт.

2

175-43-26130

BRACKET

SN: 5508-8328

1шт.

3

01016-30830

BOLT

SN: 6091-8328

1шт.

3

01046-00830

BOLT

SN: 5508-6090

1шт.

4

01580-00806

NUT

SN: 6091-8328

1шт.

4

01500-30807

NUT

SN: 5508-6090

1шт.

5

01010-31020

BOLT

SN: 5508-8328

2шт.

6

01602-01030

WASHER

SN: 5508-8328

2шт.

7

175-43-36110

SHAFT

SN: 5508-8328

1шт.

8

04010-00519

KEY

SN: 5508-@

2шт.

9

175-43-32221

BUSHING

SN: 6843-8328

2шт.

9

0

BUSHING

SN: 5508-6842

2шт.

10

07043-00108

PLUG

SN: 5508-8328

2шт.

11

175-43-26171

LEVER

SN: 5508-@

1шт.

12

01010-31035

BOLT

SN: 5508-@

2шт.

13

01602-01030

WASHER

SN: 5508-@

2шт.

14

04211-00844

YOKE

SN: 5508-@

2шт.

15

04205-00822

PIN

SN: 5508-@

2шт.

16

04050-02012

PIN

SN: 5508-@

2шт.

17

01580-00806

NUT

SN: 6091-@

2шт.

17

01501-30805

NUT

SN: 5508-6090

2шт.

18

175-43-26180

ROD

SN: 5508-@

1шт.

19

01643-02460

WASHER

SN: 5508-8328

1шт.

20

175-43-26220

BRACKET

SN: 6843-8328

1шт.

21

01010-31025

BOLT

SN: 6843-8328

2шт.

22

01602-01030

WASHER

SN: 6843-8328

2шт.

23

01643-01032

WASHER

SN: 6843-8328

2шт.

24

195-43-18360

SPRING

SN: 6843-@

1шт.

25

01010-31020

BOLT

SN: 6843-@

2шт.

26

01602-01030

WASHER

SN: 6843-@

2шт.

27

01580-01008

NUT

SN: 6843-@

2шт.

Выбрано товаров: 32