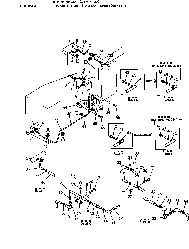
Запчасти Komatsu D150A-1 ГИДР. ПРОВОД. ОБОГРЕВАТЕЛЯ (КРОМЕ ЯПОН.)(№8-) ОПЦИОННЫЕ КОМПОНЕНТЫ

Схема запчастей Komatsu D150A-1 - ГИДР. ПРОВОД. ОБОГРЕВАТЕЛЯ (КРОМЕ ЯПОН.)(№8-) ОПЦИОННЫЕ КОМПОНЕНТЫ
FIT
1:1
100%

Артикул

Название

Примечание

Количество

1

195-911-5591

VALVE

SN: 8513-UP

2шт.

2

195-979-2110

JOINT

SN: 8408-UP

1шт.

3

195-979-2370

HOSE

SN: 8408-UP

1шт.

4

07281-00419

CLAMP

SN: 8408-UP

4шт.

5

175-911-4340

JOINT

SN: 8408-UP

1шт.

6

113-899-7950

CLIP

SN: 8408-UP

1шт.

7

01010-51020

BOLT

SN: 8408-UP

1шт.

8

01602-21030

WASHER

SN: 8408-UP

1шт.

9

195-979-8310

HOSE

SN: 8513-UP

1шт.

10

07281-00259

CLAMP

SN: 8513-UP

2шт.

11

08037-02512

GROMMET

SN: 8513-UP

2шт.

12

195-979-3371

TUBE

SN: 8513-UP

1шт.

13

195-979-3911

HOSE

SN: 8513-UP

1шт.

14

07281-00259

CLAMP

SN: 8513-UP

3шт.

15

195-979-3631

BRACKET

SN: 8513-UP

1шт.

16

01010-51020

BOLT

SN: 8513-UP

2шт.

17

01643-31032

WASHER

SN: 8513-UP

2шт.

18

10E-60-16330

CLIP

SN: 8513-UP

1шт.

19

01010-51020

BOLT

SN: 8513-UP

1шт.

20

01643-31032

WASHER

SN: 8513-UP

1шт.

21

195-979-3421

TUBE

SN: 8513-UP

1шт.

22

195-979-3391

TUBE

SN: 8513-UP

1шт.

23

01010-51020

BOLT

SN: 8513-UP

2шт.

24

01643-31032

WASHER

SN: 8513-UP

2шт.

25

07281-00259

CLAMP

SN: 8513-UP

3шт.

26

195-979-8330

HOSE

SN: 8513-UP

1шт.

27

175-79-83760

SPACER

SN: 8513-UP

1шт.

28

08036-22514

CLIP

SN: 8513-UP

1шт.

29

01010-51040

BOLT

SN: 8513-UP

1шт.

30

01643-31032

WASHER

SN: 8513-UP

1шт.

31

195-979-8290

JOINT

SN: 8513-UP

1шт.

32

176-911-4280

JOINT

SN: 8513-UP

1шт.

33

195-979-8310

HOSE

SN: 8513-UP

1шт.

34

07281-00259

CLAMP

SN: 8513-UP

2шт.

35

195-911-5710

HOSE

SN: 8408-UP

1шт.

36

07281-00419

CLAMP

SN: 8408-UP

2шт.

37

195-979-3381

TUBE

SN: 8427-UP

1шт.

38

01010-51230

BOLT

SN: 8408-UP

2шт.

39

01602-21236

WASHER

SN: 8408-UP

2шт.

40

195-979-2140

HOSE

SN: 8408-UP

1шт.

41

113-899-7950

CLIP

SN: 8408-UP

4шт.

42

01010-51020

BOLT

SN: 5507-5507

3шт.

42

01010-51020

BOLT

SN: 8408-UP

4шт.

43

01602-21030

WASHER

SN: 8408-UP

4шт.

44

175-979-2490

BRACKET

SN: 8408-UP

1шт.

45

01010-51225

BOLT

SN: 8408-UP

1шт.

46

01602-21236

WASHER

SN: 8408-UP

1шт.

47

01010-51030

BOLT

SN: 5507-5507

1шт.

48

175-54-21340

WASHER

SN: 5507-5507

4шт.

Выбрано товаров: 0