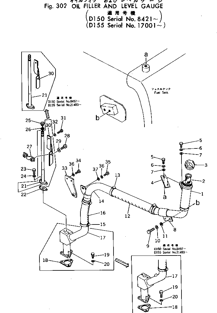
Запчасти Komatsu D150A-1 МАСЛОНАЛИВНОЙ ПАТРУБОК И ЩУП(№8-) СИСТЕМАУПРАВЛЕНИЯ ПОВОРОТОМ И КОНЕЧНАЯ ПЕРЕДАЧА

Схема запчастей Komatsu D150A-1 - МАСЛОНАЛИВНОЙ ПАТРУБОК И ЩУП(№8-) СИСТЕМАУПРАВЛЕНИЯ ПОВОРОТОМ И КОНЕЧНАЯ ПЕРЕДАЧА
FIT
1:1
100%

Артикул

Название

Примечание

Количество

1

175-21-35151

TUBE

SN: 8421-UP

1шт.

2

07056-10045

STRAINER

SN: 8421-UP

1шт.

3

07051-20000

CAP

SN: 8421-UP

1шт.

3

07092-00000

CAP,(FOR VANDALISM PROTECTION)

SN: 8454-UP

1шт.

3

0

CAP,(FOR VANDALISM PROTECTION)

SN: 8160-8453

1шт.

4

175-21-35170

PLATE

SN: 8408-UP

1шт.

5

01010-31020

BOLT

SN: 8408-UP

2шт.

6

01602-01030

WASHER,SPRING

SN: 8408-8512

2шт.

7

01643-31032

WASHER

SN: 8408-UP

2шт.

8

175-21-35242

BRACKET

SN: 8421-UP

1шт.

9

01010-31020

BOLT

SN: 8513-UP

2шт.

9

0

BOLT

SN: 8421-8512

2шт.

10

01602-01030

WASHER,SPRING

SN: 8421-8512

2шт.

11

01643-31032

WASHER

SN: 8421-UP

2шт.

12

07260-24156

HOSE

SN: 8408-UP

1шт.

13

07281-00549

CLAMP

SN: 8408-UP

2шт.

14

175-21-35141

TUBE

SN: 8421-UP

1шт.

15

07281-00549

CLAMP

SN: 8421-UP

2шт.

16

07260-24122

HOSE

SN: 8421-UP

1шт.

17

175-21-35132

TUBE

SN: 8497-UP

1шт.

17

175-21-35131

TUBE

SN: 8421-8496

1шт.

18

154-21-11951

GASKET

SN: .-UP

1шт.

18

0

GASKET

SN: 5508-.

1шт.

19

01010-31235

BOLT

SN: 6091-UP

3шт.

20

01602-01236

WASHER

SN: 5508-UP

3шт.

21

175-21-35182

TUBE

SN: 8497-UP

1шт.

21

175-21-35181

TUBE

SN: 8421-8496

1шт.

22

175-21-35211

GASKET

SN: .-UP

1шт.

22

0

GASKET

SN: 8408-.

1шт.

23

01010-30825

BOLT

SN: 8408-UP

2шт.

24

01602-00825

WASHER

SN: 8408-UP

2шт.

25

175-21-32153

GAUGE

SN: 8408-UP

1шт.

26

07000-02018

O-RING

SN: 8160-UP

1шт.

27

195-49-12990

CLIP

SN: 8421-UP

1шт.

28

01010-31030

BOLT

SN: 8421-UP

2шт.

29

01602-01030

WASHER,SPRING

SN: 8421-UP

2шт.

30

175-21-35410

PLATE

SN: 8497-UP

1шт.

30

195-49-13110

BRACKET

SN: 8421-8496

1шт.

31

01010-31030

BOLT

SN: 8421-UP

2шт.

32

01602-01030

WASHER,SPRING

SN: 8421-UP

2шт.

33

195-49-13120

PLATE

SN: 8421-UP

1шт.

34

01010-51020

BOLT

SN: 8513-UP

2шт.

34

0

BOLT

SN: 8421-8512

2шт.

35

01010-31025

BOLT

SN: 8513-UP

1шт.

35

0

BOLT

SN: 8421-8512

1шт.

36

01602-01030

WASHER,SPRING

SN: 8513-UP

2шт.

36

01602-01030

WASHER,SPRING

SN: 8421-8512

3шт.

37

01643-31032

WASHER

SN: 8421-UP

1шт.

Выбрано товаров: 48