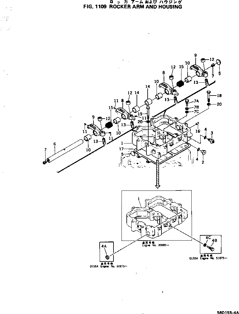
Запчасти Komatsu S6D155-4A КОРОМЫСЛО И КОЖУХ ГОЛОВКА ЦИЛИНДРОВ

Схема запчастей Komatsu S6D155-4A - КОРОМЫСЛО И КОЖУХ ГОЛОВКА ЦИЛИНДРОВ
FIT
1:1
100%

Артикул

Название

Примечание

Количество

|$0

6127-11-7030

HOUSING ASS'Y,(S6D155-4B)

SN: 51875-UP

3шт.

|$1

6127-11-7013

HOUSING ASS'Y

SN: 20000-UP

3шт.

|$2

6127-11-7012

HOUSING ASS'Y

SN: 10866-19999

3шт.

|$3

0

HOUSING ASS'Y

SN: 10278-10865

3шт.

|$4

6127-11-7010

HOUSING ASS'Y

SN: 10014-10277

3шт.

|$5

6127-11-7040

HOUSING ASS'Y,(S6D155-4B)

SN: 51875-UP

1шт.

|$6

6127-11-7022

HOUSING ASS'Y

SN: 20000-UP

1шт.

|$7

6127-11-7021

HOUSING ASS'Y

SN: 14720-19999

1шт.

|$8

0

HOUSING ASS'Y

SN: 10014-14719

1шт.

1

0

HOUSING

SN: 20000-UP

1шт.

1

0

HOUSING

SN: 14792-19999

1шт.

1

0

HOUSING

SN: 10014-14791

1шт.

2

6127-11-7131

CONNECTOR

SN: 10014-UP

2шт.

3

6127-11-7140

CONNECTOR

SN: 10014-UP

2шт.

4

07000-02016

O-RING (K1)

SN: 10014-UP

4шт.

4A

07046-22816

PLUG,(S6D155-4B)

SN: 51875-UP

2шт.

4B

01010-30812

BOLT,(S6D155-4B)

SN: 51875-UP

1шт.

4C

07005-00812

GASKET,(S6D155-4B)

SN: 51875-UP

1шт.

5

6127-11-7150

PLUG

SN: 14792-UP

2шт.

5

07046-14020

PLUG

SN: 10014-14791

2шт.

|$20

6127-41-5021

ROCKER ARM SHAFT A.

SN: 10866-UP

1шт.

|$21

0

ROCKER ARM SHAFT A.

SN: 10014-10865

1шт.

6

6127-41-5212

SHAFT

SN: 10866-UP

1шт.

6

0

SHAFT

SN: 10014-10865

1шт.

7

07043-00312

PLUG

SN: 10866-UP

1шт.

7

07043-00415

PLUG

SN: 10014-10865

2шт.

7A

6127-11-7412

STOPPER

SN: 20000-UP

1шт.

7A

6127-11-7411

STOPPER

SN: 10273-19999

1шт.

7A

6127-11-7410

STOPPER

SN: 10014-10272

1шт.

7B

01602-00825

WASHER

SN: 10014-UP

1шт.

7C

01642-20810

WASHER

SN: 10014-UP

1шт.

|$31

6128-41-5040

ARM ASS'Y,INTAKE

SN: 10014-UP

2шт.

|$32

6127-41-5050

ARM ASS'Y,EXHAUST

SN: 10014-UP

2шт.

|$33

6128-41-5400

ARM ASS'Y,INTAKE

SN: 10014-UP

1шт.

|$34

6127-41-5500

ARM ASS'Y,EXHAUST

SN: 10014-UP

1шт.

8

6128-41-5412

LEVER,INTAKE

SN: 10014-UP

1шт.

9

6127-41-5512

LEVER,EXHAUST

SN: 10014-UP

1шт.

10

6127-41-5420

BUSHING

SN: 10014-UP

1шт.

11

6162-43-5340

RIVET

SN: 10014-UP

2шт.

12

6127-41-5431

NUT

SN: 10014-UP

1шт.

13

6127-41-5445

SCREW

SN: 10014-UP

1шт.

14

6127-41-5540

COLLAR

SN: 10014-UP

2шт.

15

6127-41-5320

SPRING

SN: 10014-UP

2шт.

16

04020-01024

PIN

SN: 10014-UP

2шт.

17

6127-11-7811

GASKET (K1)

SN: 10014-UP

3шт.

18

01011-31205

BOLT

SN: 10014-UP

22шт.

19

01011-31210

BOLT

SN: 10014-UP

2шт.

20

01602-01236

WASHER

SN: 10014-UP

24шт.

|$0

6127-11-7030

HOUSING ASS'Y,(S6D155-4B)

SN: 51875-UP

3шт.

|$1

6127-11-7013

HOUSING ASS'Y

SN: 20000-UP

3шт.

|$2

6127-11-7012

HOUSING ASS'Y

SN: 10866-19999

3шт.

|$3

0

HOUSING ASS'Y

SN: 10278-10865

3шт.

|$4

6127-11-7010

HOUSING ASS'Y

SN: 10014-10277

3шт.

|$5

6127-11-7040

HOUSING ASS'Y,(S6D155-4B)

SN: 51875-UP

1шт.

|$6

6127-11-7022

HOUSING ASS'Y

SN: 20000-UP

1шт.

|$7

6127-11-7021

HOUSING ASS'Y

SN: 14720-19999

1шт.

|$8

0

HOUSING ASS'Y

SN: 10014-14719

1шт.

1

0

HOUSING

SN: 20000-UP

1шт.

1

0

HOUSING

SN: 14792-19999

1шт.

1

0

HOUSING

SN: 10014-14791

1шт.

2

6127-11-7131

CONNECTOR

SN: 10014-UP

2шт.

3

6127-11-7140

CONNECTOR

SN: 10014-UP

2шт.

4

07000-02016

O-RING (K1)

SN: 10014-UP

4шт.

4A

07046-22816

PLUG,(S6D155-4B)

SN: 51875-UP

2шт.

4B

01010-30812

BOLT,(S6D155-4B)

SN: 51875-UP

1шт.

4C

07005-00812

GASKET,(S6D155-4B)

SN: 51875-UP

1шт.

5

6127-11-7150

PLUG

SN: 14792-UP

2шт.

5

07046-14020

PLUG

SN: 10014-14791

2шт.

|$20

6127-41-5021

ROCKER ARM SHAFT A.

SN: 10866-UP

1шт.

|$21

0

ROCKER ARM SHAFT A.

SN: 10014-10865

1шт.

6

6127-41-5212

SHAFT

SN: 10866-UP

1шт.

6

0

SHAFT

SN: 10014-10865

1шт.

7

07043-00312

PLUG

SN: 10866-UP

1шт.

7

07043-00415

PLUG

SN: 10014-10865

2шт.

7A

6127-11-7412

STOPPER

SN: 20000-UP

1шт.

7A

6127-11-7411

STOPPER

SN: 10273-19999

1шт.

7A

6127-11-7410

STOPPER

SN: 10014-10272

1шт.

7B

01602-00825

WASHER

SN: 10014-UP

1шт.

7C

01642-20810

WASHER

SN: 10014-UP

1шт.

|$31

6128-41-5040

ARM ASS'Y,INTAKE

SN: 10014-UP

2шт.

|$32

6127-41-5050

ARM ASS'Y,EXHAUST

SN: 10014-UP

2шт.

|$33

6128-41-5400

ARM ASS'Y,INTAKE

SN: 10014-UP

1шт.

|$34

6127-41-5500

ARM ASS'Y,EXHAUST

SN: 10014-UP

1шт.

8

6128-41-5412

LEVER,INTAKE

SN: 10014-UP

1шт.

9

6127-41-5512

LEVER,EXHAUST

SN: 10014-UP

1шт.

10

6127-41-5420

BUSHING

SN: 10014-UP

1шт.

11

6162-43-5340

RIVET

SN: 10014-UP

2шт.

12

6127-41-5431

NUT

SN: 10014-UP

1шт.

13

6127-41-5445

SCREW

SN: 10014-UP

1шт.

14

6127-41-5540

COLLAR

SN: 10014-UP

2шт.

15

6127-41-5320

SPRING

SN: 10014-UP

2шт.

16

04020-01024

PIN

SN: 10014-UP

2шт.

17

6127-11-7811

GASKET (K1)

SN: 10014-UP

3шт.

18

01011-31205

BOLT

SN: 10014-UP

22шт.

19

01011-31210

BOLT

SN: 10014-UP

2шт.

20

01602-01236

WASHER

SN: 10014-UP

24шт.

Выбрано товаров: 96