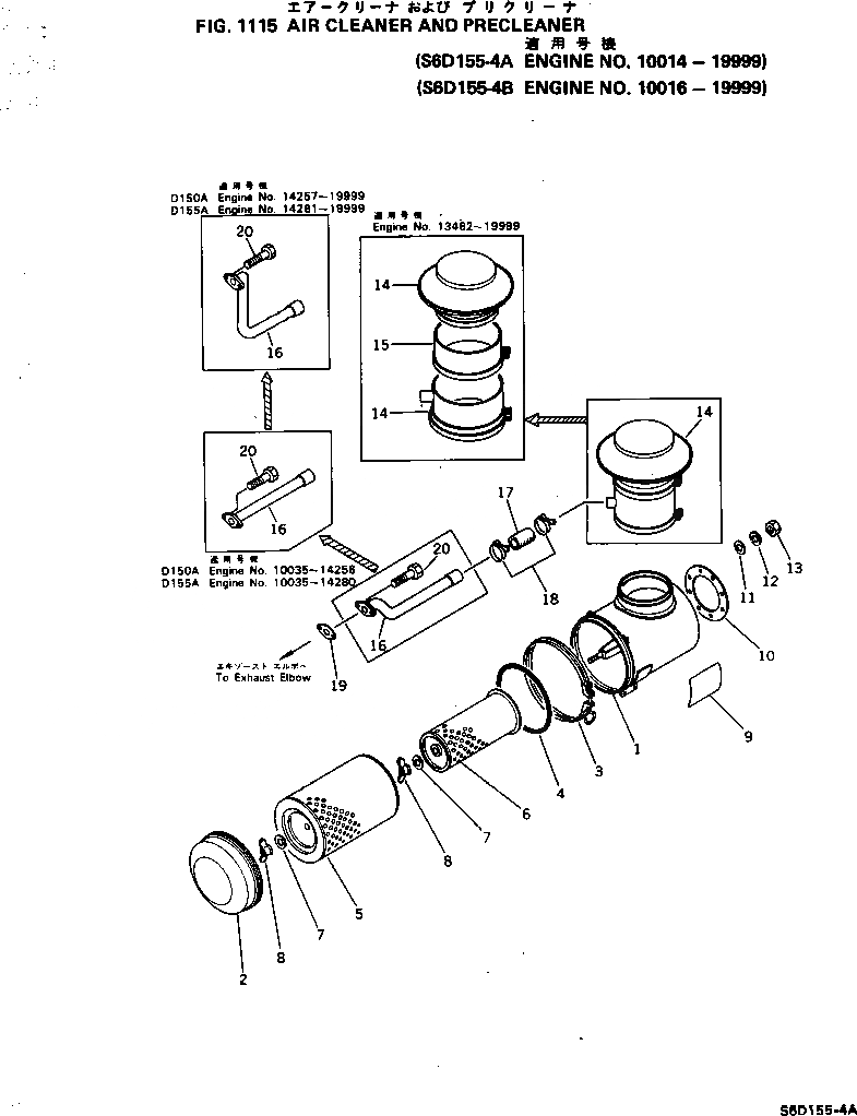
Запчасти Komatsu S6D155-4A ВОЗДУХООЧИСТИТЕЛЬ И ПРЕФИЛЬТР(№-9999) ГОЛОВКА ЦИЛИНДРОВ

Схема запчастей Komatsu S6D155-4A - ВОЗДУХООЧИСТИТЕЛЬ И ПРЕФИЛЬТР(№-9999) ГОЛОВКА ЦИЛИНДРОВ
FIT
1:1
100%

Артикул

Название

Примечание

Количество

|$0

6127-82-7103

AIR CLEANER ASS'Y

SN: 10037-19999

1шт.

|$1

0

AIR CLEANER ASS'Y

SN: 10014-10036

1шт.

1

0

BODY

SN: 10037-19999

1шт.

1

0

BODY

SN: 10014-10036

1шт.

2

6127-81-7141

CUP

SN: 10037-19999

1шт.

2

0

CUP

SN: 10014-10036

1шт.

3

6127-81-7161

CLAMP

SN: 10037-19999

1шт.

3

0

CLAMP

SN: 10014-10036

1шт.

4

6127-81-7190

O-RING

SN: 10014-19999

1шт.

|$9

6127-81-7032

ELEMENT ASS'Y

SN: ..-19999

1шт.

|$10

0

ELEMENT ASS'Y

SN: .-..

1шт.

|$11

0

ELEMENT ASS'Y

SN: 10014-.

1шт.

5

0

ELEMENT,OUTER

SN: ..-19999

1шт.

5

0

ELEMENT,OUTER

SN: 10014-..

1шт.

6

0

ELEMENT,INNER

SN: ..-@

1шт.

6

0

ELEMENT,INNER

SN: 10014-..

1шт.

7

600-181-4591

WASHER

SN: 15170-19999

2шт.

7

0

WASHER

SN: 10014-15169

2шт.

|$$19

(600-181-4591,600-181-4581)

-1шт.

8

600-181-4581

NUT

SN: 15170-19999

2шт.

8

0

NUT

SN: 10014-15169

2шт.

|$$22

(600-181-4581,600-181-4591)

-1шт.

9

09637-00160

PLATE, INSTRUCTION,(JAPANESE-ENGLISH)

SN: 10014-19999

1шт.

10

6127-81-4820

GASKET

SN: 10014-19999

1шт.

11

01640-21016

WASHER

SN: 10014-19999

8шт.

12

01602-01030

WASHER

SN: 10014-19999

8шт.

13

01580-01008

NUT

SN: 10014-19999

8шт.

|$27

6127-81-7900

PRE-CLEANER ASS'Y

SN: 11794-19999

1шт.

|$28

0

PRE-CLEANER ASS'Y

SN: 10014-11793

1шт.

14

600-181-4190

BODY

SN: 11794-19999

1шт.

14

600-181-4740

HOOD

SN: 11794-19999

1шт.

15

6124-81-7910

CONNECTER

SN: 13462-19999

1шт.

16

6127-11-5653

PIPE

SN: 14257-19999

1шт.

16

6127-11-5651

PIPE

SN: 10035-14256

1шт.

16

6127-11-5760

PIPE

SN: 10014-10034

1шт.

17

6127-11-5670

HOSE

SN: 10014-19999

1шт.

18

6124-11-5760

CLAMP

SN: 10014-19999

2шт.

19

6128-11-5610

GASKET (K1)

SN: 10014-19999

1шт.

20

01010-01030

BOLT

SN: .-19999

2шт.

20

0

BOLT

SN: 10014-.

2шт.

|$0

6127-82-7103

AIR CLEANER ASS'Y

SN: 10037-19999

1шт.

|$1

0

AIR CLEANER ASS'Y

SN: 10014-10036

1шт.

1

0

BODY

SN: 10037-19999

1шт.

1

0

BODY

SN: 10014-10036

1шт.

2

6127-81-7141

CUP

SN: 10037-19999

1шт.

2

0

CUP

SN: 10014-10036

1шт.

3

6127-81-7161

CLAMP

SN: 10037-19999

1шт.

3

0

CLAMP

SN: 10014-10036

1шт.

4

6127-81-7190

O-RING

SN: 10014-19999

1шт.

|$9

6127-81-7032

ELEMENT ASS'Y

SN: ..-19999

1шт.

|$10

0

ELEMENT ASS'Y

SN: .-..

1шт.

|$11

0

ELEMENT ASS'Y

SN: 10014-.

1шт.

5

0

ELEMENT,OUTER

SN: ..-19999

1шт.

5

0

ELEMENT,OUTER

SN: 10014-..

1шт.

6

0

ELEMENT,INNER

SN: ..-@

1шт.

6

0

ELEMENT,INNER

SN: 10014-..

1шт.

7

600-181-4591

WASHER

SN: 15170-19999

2шт.

7

0

WASHER

SN: 10014-15169

2шт.

|$$19

(600-181-4591,600-181-4581)

-1шт.

8

600-181-4581

NUT

SN: 15170-19999

2шт.

8

0

NUT

SN: 10014-15169

2шт.

|$$22

(600-181-4581,600-181-4591)

-1шт.

9

09637-00160

PLATE, INSTRUCTION,(JAPANESE-ENGLISH)

SN: 10014-19999

1шт.

10

6127-81-4820

GASKET

SN: 10014-19999

1шт.

11

01640-21016

WASHER

SN: 10014-19999

8шт.

12

01602-01030

WASHER

SN: 10014-19999

8шт.

13

01580-01008

NUT

SN: 10014-19999

8шт.

|$27

6127-81-7900

PRE-CLEANER ASS'Y

SN: 11794-19999

1шт.

|$28

0

PRE-CLEANER ASS'Y

SN: 10014-11793

1шт.

14

600-181-4190

BODY

SN: 11794-19999

1шт.

14

600-181-4740

HOOD

SN: 11794-19999

1шт.

15

6124-81-7910

CONNECTER

SN: 13462-19999

1шт.

16

6127-11-5653

PIPE

SN: 14257-19999

1шт.

16

6127-11-5651

PIPE

SN: 10035-14256

1шт.

16

6127-11-5760

PIPE

SN: 10014-10034

1шт.

17

6127-11-5670

HOSE

SN: 10014-19999

1шт.

18

6124-11-5760

CLAMP

SN: 10014-19999

2шт.

19

6128-11-5610

GASKET (K1)

SN: 10014-19999

1шт.

20

01010-01030

BOLT

SN: .-19999

2шт.

20

0

BOLT

SN: 10014-.

2шт.

Выбрано товаров: 80