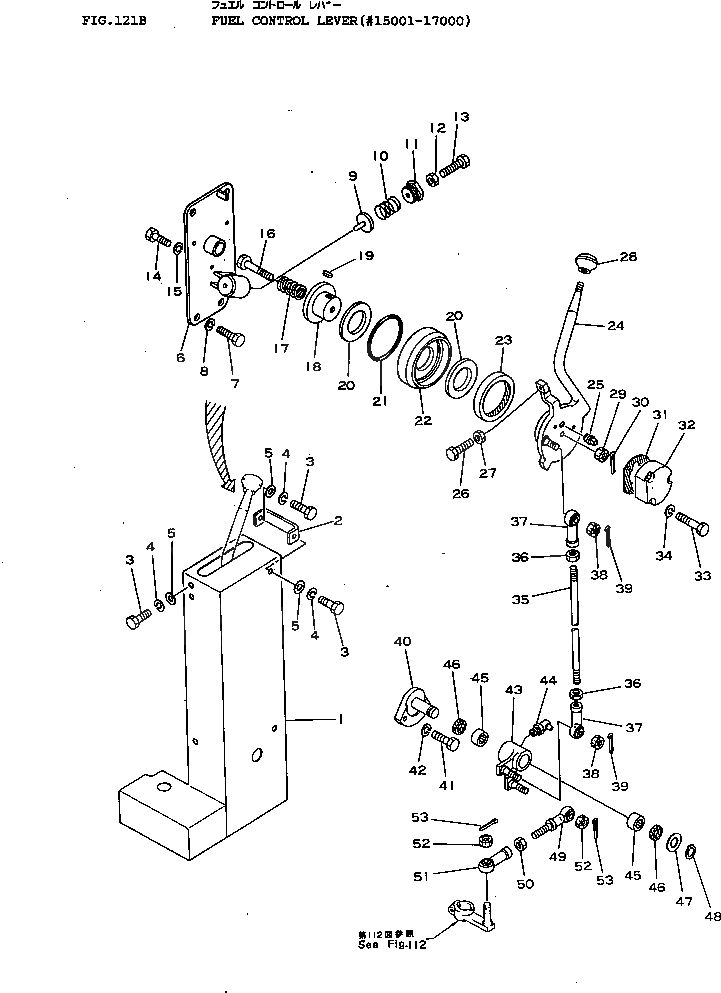
Запчасти Komatsu D155A-1 РЫЧАГ УПРАВЛ-Я ПОДАЧЕЙ ТОПЛИВА(№-7) КОМПОНЕНТЫ ДВИГАТЕЛЯ И ЭЛЕКТРИКА

Схема запчастей Komatsu D155A-1 - РЫЧАГ УПРАВЛ-Я ПОДАЧЕЙ ТОПЛИВА(№-7) КОМПОНЕНТЫ ДВИГАТЕЛЯ И ЭЛЕКТРИКА
FIT
1:1
100%

Артикул

Название

Примечание

Количество

1

175-43-41861

COVER

SN: 15001-17000

1шт.

1

175-43-41851

COVER,(WITH CAB)

SN: 15001-17000

1шт.

2

175-43-41870

PLATE

SN: 15001-17000

2шт.

3

01010-31025

BOLT

SN: 15001-17000

6шт.

4

01602-01030

WASHER,SPRING

SN: 15001-17000

6шт.

5

01643-31032

WASHER

SN: 15001-17000

6шт.

6

175-43-42360

BRACKET

SN: 15001-17000

1шт.

7

01010-31225

BOLT

SN: 10263-@

4шт.

8

01602-01236

WASHER,SPRING

SN: 5508-@

4шт.

9

175-43-34212

PIN

SN: 10263-@

1шт.

10

155-43-12160

SPRING

SN: 10263-@

1шт.

11

155-43-16160

CAP

SN: 10263-@

1шт.

12

01580-01008

NUT

SN: 10263-@

1шт.

13

01016-31050

BOLT

SN: 10263-@

1шт.

14

01010-30616

BOLT

SN: 5508-@

3шт.

15

01602-00619

WASHER,SPRING

SN: 5508-@

3шт.

16

175-43-34160

BOLT

SN: 5508-@

1шт.

17

178-43-13130

SPRING

SN: 15001-@

1шт.

18

131-43-28130

CAP

SN: 5508-@

1шт.

19

04000-00512

KEY

SN: 5508-@

1шт.

20

110-43-15171

PLATE

SN: 5508-@

2шт.

21

07000-02085

O-RING

SN: 5508-@

1шт.

22

175-43-34130

CAGE

SN: 5508-@

1шт.

23

07012-00075

SEAL,OIL

SN: 5508-@

1шт.

24

175-43-42370

LEVER

SN: 15001-17000

1шт.

25

07042-00108

PLUG

SN: 5508-@

1шт.

26

01016-30860

BOLT

SN: 10263-@

1шт.

27

01580-00806

NUT

SN: 6091-@

1шт.

28

09304-01250

KNOB

SN: 5508-@

1шт.

29

01592-01012

NUT

SN: 6091-@

1шт.

30

04050-02018

PIN

SN: 5508-@

1шт.

31

175-43-41541

GASKET

SN: 15001-17000

1шт.

32

175-43-42350

COVER

SN: 15001-12000

1шт.

33

01010-30630

BOLT

SN: 5508-@

3шт.

34

01602-00619

WASHER,SPRING

SN: 5508-@

3шт.

35

04245-01024

ROD

SN: 15001-17000

1шт.

36

01582-01008

NUT

SN: 15001-@

2шт.

37

04250-41056

END,ROD

SN: 15001-17000

2шт.

38

01593-01008

NUT

SN: 15001-@

2шт.

39

04050-02018

PIN,COTTER

SN: 15001-@

2шт.

40

195-43-18430

BRACKET

SN: 15001-17000

1шт.

41

01010-31030

BOLT

SN: 15001-17000

2шт.

42

01602-01030

WASHER,SPRING

SN: 15001-17000

2шт.

43

175-43-41550

LEVER

SN: 15001-17000

1шт.

44

07020-00900

FITTING,GREASE

SN: 15001-17000

1шт.

45

06120-02016

BEARING

SN: 15001-17000

2шт.

46

06122-02004

SEAL

SN: 15001-17000

2шт.

47

01640-01826

WASHER

SN: 15001-17000

1шт.

48

04064-01812

RING,SNAP

SN: 15001-17000

1шт.

49

175-43-41560

ROD

SN: 15001-17000

1шт.

50

01582-01008

NUT

SN: 15001-17000

1шт.

51

04250-51056

END,ROD

SN: 15001-17000

1шт.

52

01593-01008

NUT

SN: 15001-17000

2шт.

53

04050-02018

PIN,COTTER

SN: 15001-17000

2шт.

Выбрано товаров: 54