Запчасти Komatsu D155A-1 ПЕДАЛЬ ТОРМОЗА И МЕХАНИЗМ(№8-) СИСТЕМАУПРАВЛЕНИЯ ПОВОРОТОМ И КОНЕЧНАЯ ПЕРЕДАЧА

Схема запчастей Komatsu D155A-1 - ПЕДАЛЬ ТОРМОЗА И МЕХАНИЗМ(№8-) СИСТЕМАУПРАВЛЕНИЯ ПОВОРОТОМ И КОНЕЧНАЯ ПЕРЕДАЧА
FIT
1:1
100%

Артикул

Название

Примечание

Количество

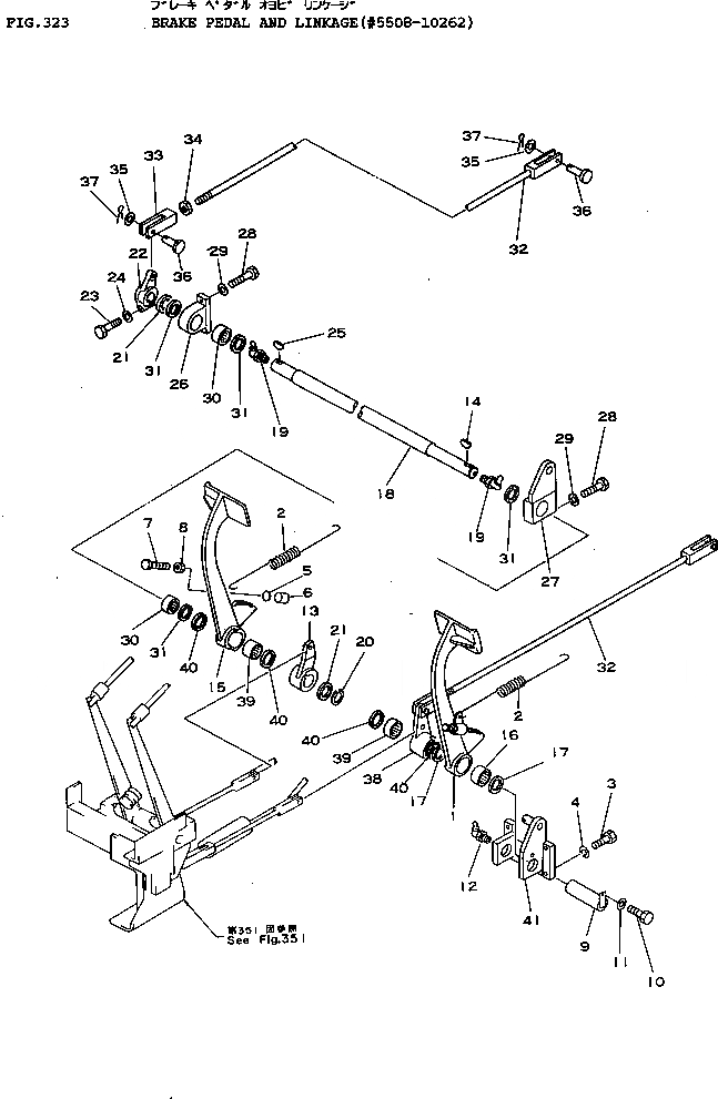
1

175-43-32250

PEDAL

SN: 5508-10262

1шт.

2

195-43-12183

SPRING

SN: 9197-@

2шт.

2

0

SPRING

SN: 6843-9196

2шт.

2

0

SPRING

SN: 5508-6842

2шт.

3

01010-31230

BOLT

SN: 5508-@

4шт.

4

01602-01236

WASHER

SN: 5508-@

4шт.

5

154-44-11350

PLATE

SN: 5508-@

2шт.

6

154-44-11360

STOPPER

SN: 5508-@

2шт.

7

01016-30845

BOLT

SN: 6091-@

2шт.

7

01046-30845

BOLT

SN: 5508-6090

2шт.

8

01501-30805

NUT

SN: 5508-6090

2шт.

9

154-44-21380

SHAFT

SN: 5508-@

1шт.

10

01010-30812

BOLT

SN: 6091-@

1шт.

10

01000-30812

BOLT

SN: 5508-6090

1шт.

11

01602-00825

WASHER

SN: 5508-@

1шт.

12

07020-00675

FITTING

SN: 5508-@

1шт.

13

175-43-32151

LEVER

SN: 6843-@

1шт.

13

175-43-32150

LEVER

SN: 5508-6842

1шт.

14

04010-00728

KEY

SN: 5508-@

1шт.

15

175-43-32260

PEDAL

SN: 5508-10262

1шт.

16

06120-03520

BEARING

SN: 5508-@

1шт.

17

06122-03504

SEAL

SN: 5508-@

2шт.

18

175-43-32171

SHAFT

SN: 5508-@

1шт.

19

07020-00675

FITTING

SN: 5508-@

2шт.

20

04064-03515

RING

SN: 5508-@

1шт.

21

154-44-11650

SPACER

SN: 5508-@

2шт.

22

175-43-23380

LEVER

SN: 5508-@

1шт.

23

01010-31245

BOLT

SN: 5508-@

1шт.

24

01602-01236

WASHER

SN: 5508-@

1шт.

25

04010-00728

KEY

SN: 5508-@

1шт.

26

154-44-21620

BRACKET

SN: 5508-@

1шт.

27

154-44-21612

BRACKET

SN: 6091-@

1шт.

27

154-44-21611

BRACKET

SN: 5508-6090

1шт.

28

01010-31230

BOLT

SN: 5508-@

4шт.

29

01602-01236

WASHER

SN: 5508-@

4шт.

30

06120-03520

BEARING

SN: 5508-@

2шт.

31

06122-03504

SEAL

SN: 5508-@

4шт.

32

04244-11486

ROD

SN: 5508-@

2шт.

33

04211-01478

YOKE

SN: 5508-@

2шт.

34

01582-01411

NUT

SN: 6091-@

2шт.

34

01501-31408

NUT

SN: 5508-6090

2шт.

35

01641-01423

WASHER

SN: 5508-@

4шт.

36

04205-01440

PIN

SN: 5508-@

4шт.

37

04050-04022

PIN

SN: 5508-@

4шт.

38

175-43-23391

LEVER

SN: 6843-10262

1шт.

38

175-43-23390

LEVER

SN: 5508-6842

1шт.

39

06120-03520

BEARING

SN: 5508-@

2шт.

40

06122-03504

SEAL

SN: 5508-@

2шт.

41

175-43-32140

BRACKET

SN: 5508-@

1шт.

Выбрано товаров: 49