Запчасти Komatsu D155A-1 СУППОРТ (ДЛЯ IRAQ)(№87-) ЧАСТИ КОРПУСА

Схема запчастей Komatsu D155A-1 - СУППОРТ (ДЛЯ IRAQ)(№87-) ЧАСТИ КОРПУСА
FIT
1:1
100%

Артикул

Название

Примечание

Количество

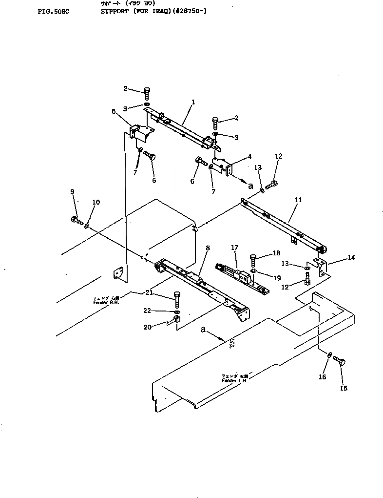
1

175-54-33884

SUPPORT

SN: 28750-UP

1шт.

2

01010-31635

BOLT

SN: 28750-UP

4шт.

3

01643-31645

WASHER

SN: 28750-UP

4шт.

4

175-54-33892

BRACKET

SN: 28750-UP

1шт.

5

175-54-33981

BRACKET

SN: 28750-UP

1шт.

6

01010-31635

BOLT

SN: 28750-UP

5шт.

7

01643-31645

WASHER

SN: 28750-UP

5шт.

8

175-54-36161

SUPPORT

SN: 28750-UP

1шт.

9

01010-31645

BOLT

SN: 28750-UP

6шт.

10

01643-31645

WASHER

SN: 28750-UP

6шт.

11

175-54-22196

STAY,(WITHOUT REAR PCU)

SN: 28750-UP

1шт.

12

01010-31230

BOLT,(WITHOUT REAR PCU)

SN: 28750-UP

3шт.

13

01643-31232

WASHER,(WITHOUT REAR PCU)

SN: 28750-UP

3шт.

14

175-54-22273

BRACKET,(WITHOUT REAR PCU)

SN: 28750-UP

1шт.

15

01010-31235

BOLT,(WITHOUT REAR PCU)

SN: 28750-UP

2шт.

16

01643-31232

WASHER,(WITHOUT REAR PCU)

SN: 28750-UP

2шт.

17

175-54-33842

BRACKET

SN: 28750-UP

1шт.

18

01010-31225

BOLT

SN: 28750-UP

2шт.

19

01602-01236

WASHER

SN: 28750-UP

2шт.

20

175-54-36170

SEAT

SN: 28750-UP

1шт.

21

01010-51495

BOLT

SN: 28750-UP

1шт.

22

01643-31445

WASHER

SN: 28750-UP

1шт.

Выбрано товаров: 0