Запчасти Komatsu D155A-1 ПОЛ КАБИНЫ(№-) ЧАСТИ КОРПУСА

Схема запчастей Komatsu D155A-1 - ПОЛ КАБИНЫ(№-) ЧАСТИ КОРПУСА
FIT
1:1
100%

Артикул

Название

Примечание

Количество

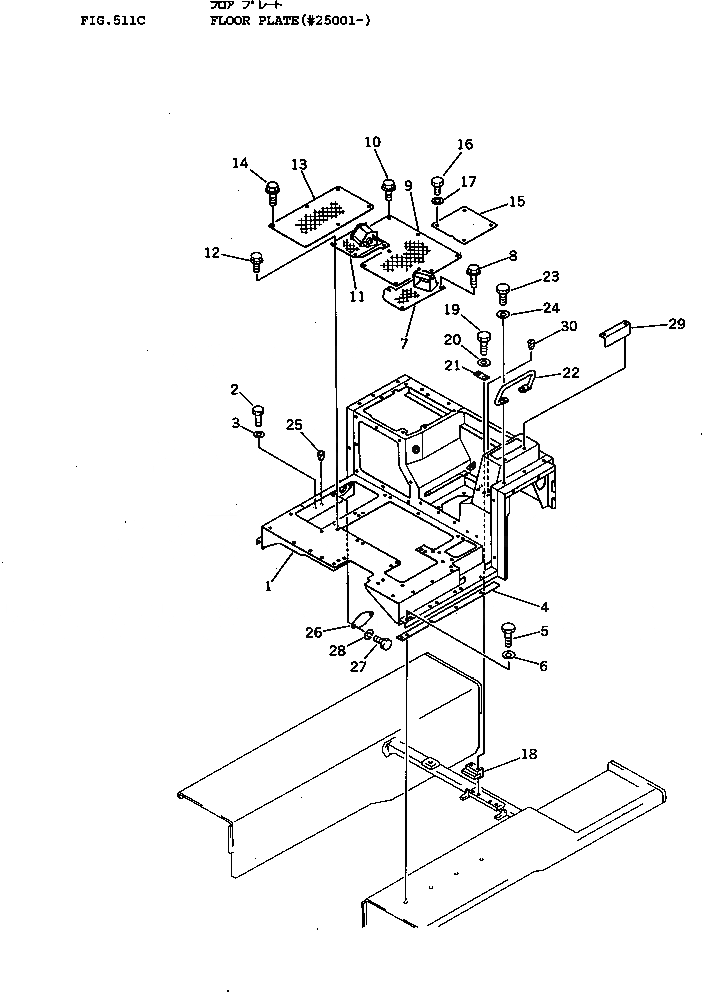
1

175-54-33113

FRAME

SN: 25001-UP

1шт.

2

01010-51475

BOLT

SN: 17001-UP

4шт.

3

01643-31445

WASHER

SN: 15001-UP

4шт.

4

175-54-33140

SEAT,(WITHOUT CAB)

SN: 15001-UP

1шт.

5

01011-51490

BOLT,(WITHOUT CAB)

SN: 25001-UP

4шт.

5

0

BOLT,(WITHOUT CAB)

SN: 19001-25000

4шт.

6

01643-31445

WASHER,(WITHOUT CAB)

SN: 15001-UP

4шт.

7

175-54-33214

COVER

SN: 25001-UP

1шт.

8

195-54-26230

BOLT

SN: 25001-UP

4шт.

9

175-54-33175

COVER

SN: 25001-UP

1шт.

10

195-54-26230

BOLT

SN: 25001-UP

9шт.

11

175-54-33197

COVER

SN: 25001-UP

1шт.

12

195-54-26230

BOLT

SN: 25001-UP

3шт.

13

195-54-23562

COVER

SN: 25001-UP

1шт.

14

195-54-26230

BOLT

SN: 25001-UP

6шт.

15

175-54-33233

COVER

SN: 25001-UP

1шт.

16

01010-50816

BOLT

SN: 25001-UP

4шт.

17

01643-30823

WASHER

SN: 25001-UP

4шт.

18

175-54-33151

SEAT,(WITHOUT CAB)

SN: 17001-UP

1шт.

19

01011-51400

BOLT,(WITHOUT CAB)

SN: 25001-UP

2шт.

20

01643-31445

WASHER,(WITHOUT CAB)

SN: 17001-UP

2шт.

21

195-54-23471

PLATE,(WITHOUT CAB)

SN: 17001-UP

1шт.

22

195-54-24780

HANDLE,(WITHOUT CAB)

SN: 25001-UP

1шт.

23

01010-51440

BOLT,(WITHOUT CAB)

SN: 25001-UP

2шт.

24

01643-31445

WASHER,(WITHOUT CAB)

SN: 25001-UP

2шт.

25

07049-01418

PLUG,(WITHOUT CAB)

SN: 25001-UP

19шт.

26

175-54-37260

COVER

SN: 25001-UP

1шт.

27

01010-50816

BOLT

SN: 25001-UP

2шт.

28

01602-20825

WASHER

SN: 25001-UP

2шт.

29

195-54-26250

COVER,(WITHOUT CAB)

SN: 25001-UP

1шт.

30

07049-00811

PLUG,(WITH CAB)

SN: 25001-UP

1шт.

Выбрано товаров: 31