Запчасти Komatsu D155A-1 ПРИБОРНАЯ ПАНЕЛЬ(№-7) ЧАСТИ КОРПУСА

Схема запчастей Komatsu D155A-1 - ПРИБОРНАЯ ПАНЕЛЬ(№-7) ЧАСТИ КОРПУСА
FIT
1:1
100%

Артикул

Название

Примечание

Количество

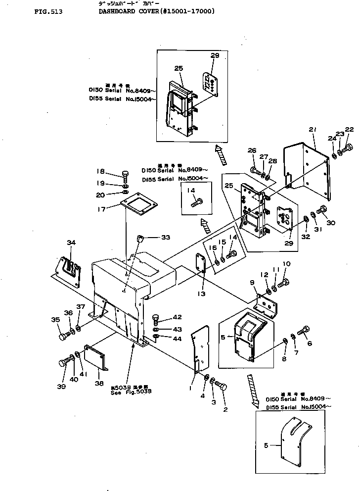
1

175-54-33432

COVER

SN: 15001-17000

1шт.

2

01010-31230

BOLT

SN: 15001-17000

5шт.

3

01602-01236

WASHER

SN: 15001-17000

5шт.

4

01643-31232

WASHER

SN: 15001-17000

5шт.

5

175-54-33492

COVER

SN: 15004-17000

1шт.

5

175-54-33491

COVER

SN: 15001-15003

1шт.

6

01010-31225

BOLT

SN: 15001-@

6шт.

7

01602-01236

WASHER

SN: 15001-@

6шт.

8

01643-31232

WASHER

SN: 15001-@

6шт.

9

175-54-33640

COVER

SN: 15001-17000

1шт.

10

01010-31225

BOLT

SN: 15001-17000

4шт.

11

01602-01236

WASHER

SN: 15001-17000

4шт.

12

01643-31232

WASHER

SN: 15001-17000

4шт.

13

175-54-33761

PLATE

SN: 15004-17000

1шт.

13

175-54-33760

PLATE

SN: 15001-15003

1шт.

14

01220-00816

SCREW

SN: 15004-17000

4шт.

14

01010-31030

BOLT

SN: 15001-15003

4шт.

15

01602-01030

WASHER

SN: 15001-15003

4шт.

16

01643-31032

WASHER

SN: 15001-15003

4шт.

17

175-54-33630

SEAT

SN: 15001-17000

1шт.

18

01010-31230

BOLT

SN: 15001-17000

4шт.

19

01602-01236

WASHER

SN: 15001-17000

4шт.

20

01643-31232

WASHER

SN: 15001-17000

4шт.

21

175-54-33392

COVER

SN: 15001-17000

1шт.

22

01010-31230

BOLT

SN: 15001-17000

8шт.

23

01602-01236

WASHER

SN: 15001-17000

8шт.

24

01643-31232

WASHER

SN: 15001-17000

8шт.

25

175-54-33353

BRACKET

SN: 15004-17000

1шт.

25

175-54-33352

BRACKET

SN: 15001-15003

1шт.

26

01010-31230

BOLT

SN: 15001-@

3шт.

27

01602-01236

WASHER

SN: 15001-@

3шт.

28

01643-31232

WASHER

SN: 15001-@

3шт.

29

175-54-33771

COVER

SN: 15004-17000

1шт.

29

175-54-33770

COVER

SN: 15001-15003

1шт.

30

01010-31030

BOLT

SN: 15001-17000

4шт.

31

01602-01030

WASHER

SN: 15001-17000

4шт.

32

01643-31032

WASHER

SN: 15001-17000

4шт.

33

175-54-33470

PLUG

SN: 15001-17000

1шт.

34

175-54-33581

COVER

SN: 15001-15003

1шт.

35

01010-31230

BOLT

SN: 15001-15003

4шт.

36

01602-01236

WASHER

SN: 15001-15003

4шт.

37

01643-31232

WASHER

SN: 15001-15003

4шт.

38

175-54-33590

COVER

SN: 15001-@

1шт.

39

01010-31025

BOLT

SN: 15001-17000

4шт.

40

01602-01030

WASHER

SN: 15001-@

4шт.

41

01643-31032

WASHER

SN: 15001-@

4шт.

42

01010-31445

BOLT

SN: 15001-17000

5шт.

43

01602-01442

WASHER

SN: 15001-17000

5шт.

44

01643-31445

WASHER

SN: 15001-17000

5шт.

Выбрано товаров: 49