Запчасти Komatsu D155A-1 МАРКИРОВКА¤ ДЛЯ США И PUERTORICO(№7-) ЧАСТИ КОРПУСА

Схема запчастей Komatsu D155A-1 - МАРКИРОВКА¤ ДЛЯ США И PUERTORICO(№7-) ЧАСТИ КОРПУСА
FIT
1:1
100%

Артикул

Название

Примечание

Количество

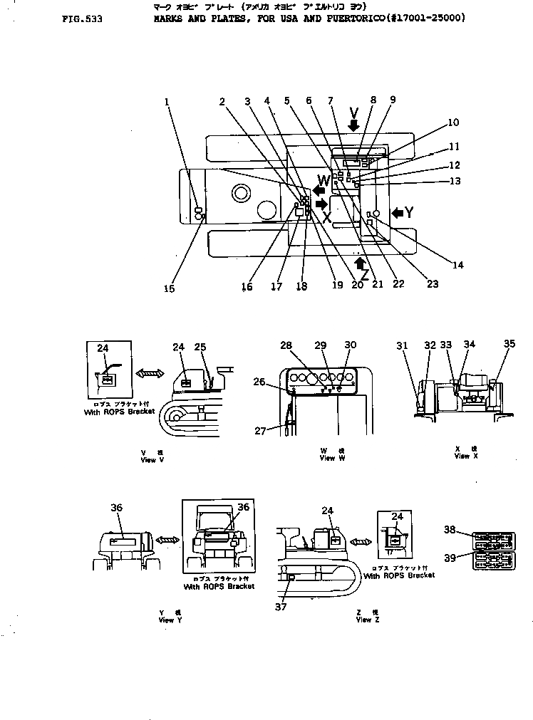
1

09650-30101

PLATE, INSTRUCTION

SN: 17001-@

1шт.

2

09666-03000

PLATE, SAFETY,FIRE PREVENTION

SN: 17001-@

1шт.

3

09649-10300

PLATE, INSTRUCTION,ENGINE STOP

SN: 17001-25000

1шт.

4

175-900-2350

PLATE, CAUTION,TRAVELING ON SLOPE

SN: 17001-@

1шт.

5

175-900-2330

PLATE, OPERATING,TRANSMISSION LEVER

SN: 5507-5507

1шт.

6

09173-03000

PLATE, SAFETY,MAINTENANCE

SN: 17001-@

1шт.

7

195-98-13690

PLATE, OPERATING,PIN PULLER LEVER

SN: 19001-@

1шт.

7

175-79-31540

PLATE, OPERATING,PIN PULLER LEVER

SN: 8257-19000

1шт.

8

175-900-2416

CHART, OIL

SN: 19001-25000

1шт.

8

175-900-2415

CHART

SN: 17001-19000

1шт.

9

09653-03000

PLATE, SAFETY,OIL TANK

SN: 17001-@

1шт.

10

09655-30120

PLATE, INSTRUCTION,OIL FILTER

SN: 17001-@

1шт.

11

09671-31683

PLATE, OPERATING,VARIABLE RIPPER LEVER

SN: 17001-25000

1шт.

11

09671-35468

PLATE, OPERATING,RIGID RIPPER LEVER

SN: 17001-25000

1шт.

12

09685-00001

PLATE, OPERATING,RIPPER LEVER LOCK

SN: 17001-@

1шт.

13

195-98-12940

PLATE, CAUTION,SEAT BELT

SN: 17001-@

1шт.

14

09652-30100

PLATE, CAUTION,WATER DRAIN

SN: 17001-@

1шт.

15

09668-03000

PLATE, SAFETY,RADIATOR CAP

SN: 17001-25000

1шт.

16

6127-81-9860

PLATE, CAUTION,APS CONTROL

SN: 17001-25000

1шт.

17

195-98-12820

PLATE, CAUTION,APS CONTROL

SN: 17001-25000

1шт.

18

09654-03000

PLATE, SAFETY

SN: 17001-@

1шт.

19

09651-03000

PLATE, SAFETY,BEFORE OPERATING

SN: 17001-@

1шт.

20

09667-03000

PLATE, SAFETY,ENGINE COVER

SN: 17001-@

1шт.

21

09685-00003

PLATE, OPERATING,BLADE LEVER LOCK

SN: 17001-@

1шт.

22

09670-00003

PLATE, OPERATING,FOR STRAIGHT TILT AND U-DOZER

SN: 17001-25000

1шт.

22

09670-00001

PLATE, OPERATING,FOR STRAIGHT AND ANGLE DOZER

SN: 17001-@

1шт.

23

09656-30080

PLATE, INSTRUCTION,FUEL STRAINER

SN: 17001-@

1шт.

24

09691-42155

PLATE, MARK

SN: 5508-@

2шт.

25

09687-32570

PLATE, OPERATING,MAIN CLUTCH LEVER

SN: 5507-5507

1шт.

26

09684-30040

PLATE, NAME,OIL FILTER

SN: 17001-25000

1шт.

27

09682-30020

PLATE, OPERATING,DECOMP LEVER

SN: 17001-25000

1шт.

28

09609-34008

PLATE, NAME,LAMP SWITCH

SN: 17001-25000

1шт.

29

09609-34007

PLATE, NAME,PRE-HEATER SWITCH

SN: 17001-25000

1шт.

30

09683-30060

PLATE, OPERATING,STARTING SWITCH

SN: 17001-25000

1шт.

31

09602-01643

PLATE, NAME,(LIMITED SUPPLY)

SN: 5508-@

1шт.

32

01220-60408

SCREW

SN: 17001-@

4шт.

33

09679-02002

PLATE, OPERATING,HORN SWITCH

SN: 17001-@

1шт.

34

09685-00001

PLATE, OPERATING,PARKING LEVER LOCK

SN: 17001-@

1шт.

35

09685-00002

PLATE, OPERATING,TRANSMISSION LEVER LOCK

SN: 17001-@

1шт.

36

09692-42155

PLATE, MARK

SN: 5508-@

1шт.

37

09657-03000

PLATE, SAFETY,TRACK ADJUSTING

SN: 17001-@

2шт.

38

09664-30081

PLATE, SAFETY

SN: 17001-@

2шт.

39

09664-30065

PLATE, SAFETY

SN: 17001-@

2шт.

Выбрано товаров: 0