Запчасти Komatsu D155A-1 МАРКИРОВКА¤ ДЛЯ США И PUERTORICO(№-) ЧАСТИ КОРПУСА

Схема запчастей Komatsu D155A-1 - МАРКИРОВКА¤ ДЛЯ США И PUERTORICO(№-) ЧАСТИ КОРПУСА
FIT
1:1
100%

Артикул

Название

Примечание

Количество

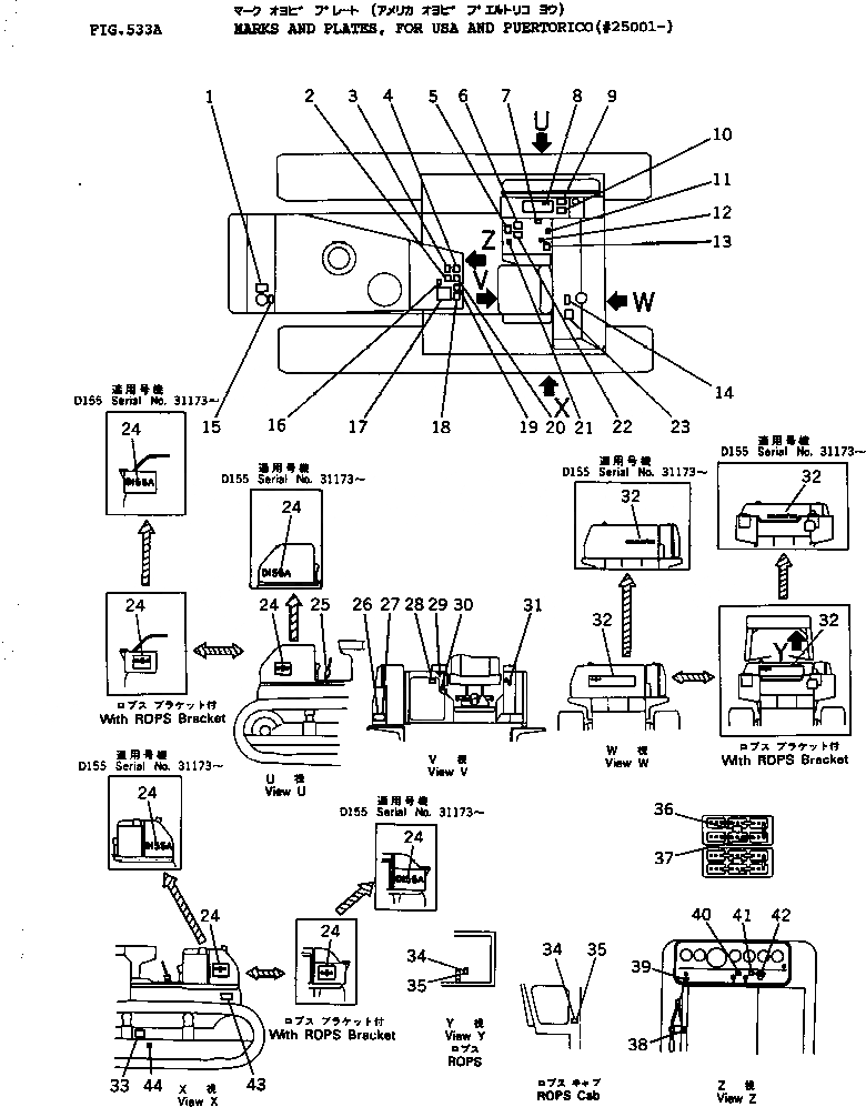
1

09650-30101

PLATE, INSTRUCTION

SN: 17001-UP

1шт.

2

09666-03000

PLATE, SAFETY

SN: 17001-UP

1шт.

3

09649-03001

PLATE, INSTRUCTION,ENGINE STOP

SN: 25001-UP

1шт.

4

175-900-2350

PLATE, CAUTION,TRAVELING ON SLOPE

SN: 17001-UP

1шт.

5

175-900-2330

PLATE, OPERATING,OPERATING

SN: 5507-5507

1шт.

6

09173-03000

PLATE, SAFETY

SN: 17001-UP

1шт.

7

09685-00002

PLATE, OPERATING,PIN PULLER

SN: 25001-UP

1шт.

8

175-900-2417

CHART,LUBRICATION

SN: 25001-UP

1шт.

9

09653-03000

PLATE, SAFETY,OIL TANK

SN: 17001-UP

1шт.

10

09655-30120

PLATE, INSTRUCTION,OIL FILTER

SN: 17001-UP

1шт.

11

195-98-13690

PLATE, OPERATING,PIN PULLER

SN: 19001-UP

1шт.

12

09685-00001

PLATE, OPERATING,RIPPER LOCK

SN: 17001-UP

1шт.

13

09671-00002

PLATE, OPERATING,VARIABLE RIPPER LEVER

SN: 25001-UP

1шт.

13

09671-00001

PLATE, OPERATING,RIGID RIPPER LEVER

SN: 25001-UP

1шт.

14

09652-30100

PLATE, CAUTION,WATER DRAIN

SN: 17001-UP

1шт.

15

09668-03000

PLATE, SAFETY,RADIATOR CAP

SN: 5507-5507

1шт.

16

6128-82-4990

PLATE, CAUTION,APS CONTROL

SN: 25001-UP

1шт.

17

6128-81-4991

PLATE, OPERATING,APS CONTROL

SN: 25001-UP

1шт.

18

09654-03000

PLATE, SAFETY

SN: 17001-UP

1шт.

19

09651-03000

PLATE, SAFETY,BEFORE OPERATING

SN: 17001-UP

1шт.

20

09667-03000

PLATE, SAFETY

SN: 17001-UP

1шт.

21

09685-00003

PLATE, OPERATING

SN: 17001-UP

1шт.

22

09670-00004

PLATE, OPERATING,FOR STRAIGHT TILT AND U-DOZER

SN: 25001-UP

1шт.

22

09670-00001

PLATE, OPERATING,FOR STRAIGHT AND ANGLE DOZER

SN: 17001-UP

1шт.

23

09656-30080

PLATE, INSTRUCTION,FUEL STRAINER

SN: 17001-UP

1шт.

24

175-98-31470

PLATE, MARK

SN: 31173-UP

2шт.

24

09691-42155

PLATE, MARK

SN: 5508-31172

2шт.

25

09687-32570

PLATE, OPERATING

SN: 5507-5507

1шт.

26

09602-01643

PLATE, NAME

SN: 5508-UP

1шт.

27

01220-60408

SCREW

SN: 17001-UP

4шт.

28

195-98-12940

PLATE, CAUTION

SN: 17001-UP

1шт.

29

09679-02002

PLATE, OPERATING

SN: 17001-UP

1шт.

30

09685-00001

PLATE, OPERATING

SN: 17001-UP

1шт.

31

09685-00002

PLATE, OPERATING

SN: 17001-UP

1шт.

32

09690-B0500

PLATE, MARK

SN: 31173-UP

1шт.

32

09692-42155

PLATE, MARK

SN: 5508-31172

1шт.

33

09657-03000

PLATE, SAFETY

SN: 17001-UP

2шт.

34

09620-30200

PLATE, NAME

SN: 25001-UP

1шт.

35

04418-13060

SCREW

SN: 25001-UP

4шт.

36

09664-30081

PLATE, SAFETY

SN: 17001-UP

2шт.

37

09664-30065

PLATE, SAFETY

SN: 17001-UP

2шт.

38

09682-01020

PLATE, OPERATING,DECOMP LEVER

SN: 5507-5507

1шт.

39

09684-30040

PLATE, NAME,OIL FILTER

SN: 5507-5507

1шт.

40

09609-04008

PLATE, NAME,LAMP SWITCH

SN: 5507-5507

1шт.

41

09609-04007

PLATE, NAME,PRE-HEATER SWITCH

SN: 5507-5507

1шт.

42

09683-00060

PLATE, OPERATING,STARTING SWITCH

SN: 5507-5507

1шт.

43

195-98-23370

PLATE, OPERATING

SN: 30138-UP

1шт.

44

09960-61012

PLATE, MARK

SN: 30138-UP

2шт.

Выбрано товаров: 48