Запчасти Komatsu D155A-1 МАРКИРОВКА¤ АРАБСК.(№7-) ЧАСТИ КОРПУСА

Схема запчастей Komatsu D155A-1 - МАРКИРОВКА¤ АРАБСК.(№7-) ЧАСТИ КОРПУСА
FIT
1:1
100%

Артикул

Название

Примечание

Количество

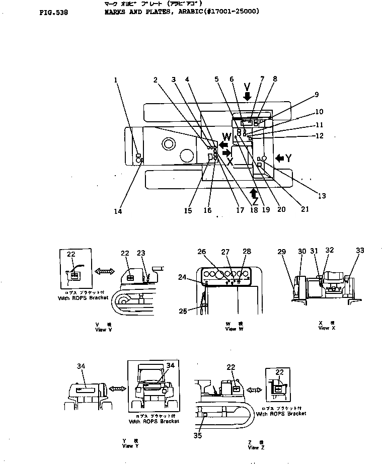
1

09650-02101

PLATE, INSTRUCTION

SN: 17001-@

1шт.

2

09649-02300

PLATE, INSTRUCTION,ENGINE STOP

SN: 17001-25000

1шт.

3

175-900-3560

PLATE, CAUTION,TRAVELING ON SLOPE

SN: 17001-@

1шт.

4

09666-00200

PLATE, SAFETY,FIRE PREVENTION

SN: 17001-@

1шт.

5

09173-00200

PLATE, SAFETY,MAINTENANCE

SN: 17001-@

1шт.

6

195-98-13690

PLATE, OPERATING,PIN PULLER LEVER

SN: 19001-@

1шт.

6

175-79-31540

PLATE, OPERATING,PIN PULLER LEVER

SN: 8257-19000

1шт.

7

175-900-3513

,LUBRICATION

SN: 19001-25000

1шт.

7

175-900-3512

CHART,LUBRICATION

SN: 17001-19000

1шт.

8

09653-00200

PLATE, SAFETY,OIL TANK

SN: 17001-@

1шт.

9

09655-02120

PLATE, INSTRUCTION,OIL FILTER

SN: 17001-@

1шт.

10

09671-02683

PLATE, OPERATING,VARIABLE RIPPER LEVER

SN: 17001-25000

1шт.

10

09671-02468

PLATE, OPERATING,RIGID RIPPER LEVER

SN: 17001-25000

1шт.

11

09685-00001

PLATE, OPERATING,RIPPER LEVER LOCK

SN: 17001-@

1шт.

12

195-98-13410

PLATE, CAUTION,SEAT BELT

SN: 17001-@

1шт.

13

09652-02100

PLATE, CAUTION,WATER DRAIN

SN: 17001-@

1шт.

14

09668-00200

PLATE, SAFETY,RADIATOR CAP

SN: 17001-25000

1шт.

15

195-98-12910

PLATE, CAUTION,APS CONTROL

SN: 17001-25000

1шт.

16

09654-00200

PLATE, SAFETY

SN: 17001-@

1шт.

17

09651-00200

PLATE, SAFETY,BEFORE OPERATING

SN: 17001-@

1шт.

18

09667-00200

PLATE, SAFETY,ENGINE COVER

SN: 17001-@

1шт.

19

09685-00003

PLATE, OPERATING,BLADE LEVER LOCK

SN: 17001-@

1шт.

20

09670-00003

PLATE, OPERATING,FOR STRAIGHT TILT AND U-DOZER

SN: 17001-25000

1шт.

20

09670-00001

PLATE, OPERATING,FOR STRAIGHT AND ANGLE DOZER

SN: 17001-@

1шт.

21

09656-02080

PLATE, INSTRUCTION,FUEL STRAINER

SN: 17001-@

1шт.

22

09691-42155

PLATE, MARK

SN: 5508-@

2шт.

23

09687-02070

PLATE, OPERATING,MAIN CLUTCH LEVER

SN: 5507-5507

1шт.

24

09684-02040

PLATE, NAME,OIL FILTER

SN: 17001-25000

1шт.

25

09682-02020

PLATE, OPERATING,DECOMP LEVER

SN: 17001-25000

1шт.

26

09609-00208

PLATE, NAME,LAMP SWITCH

SN: 17001-25000

1шт.

27

09609-00207

PLATE, NAME,PRE-HEATER SWITCH

SN: 17001-25000

1шт.

28

09683-02060

PLATE, OPERATING,STARTING SWITCH

SN: 17001-25000

1шт.

29

175-900-3580

PLATE,(LIMITED SUPPLY)

SN: 17001-@

1шт.

29

175-900-3590

PLATE,(LIMITED SUPPLY)

SN: 5508-17000

1шт.

30

01220-60408

SCREW

SN: 17001-@

4шт.

31

09679-02002

PLATE, OPERATING,HORN SWITCH

SN: 17001-@

1шт.

32

09685-00001

PLATE, OPERATING,PARKING LEVER LOCK

SN: 17001-@

1шт.

33

09685-00002

PLATE, OPERATING,TRANSMISSION LEVER LOCK

SN: 17001-@

1шт.

34

09692-92155

PLATE, MARK

SN: 5508-@

1шт.

35

09657-00200

PLATE, SAFETY,TRACK ADJUSTING

SN: 17001-@

2шт.

Выбрано товаров: 0