Запчасти Komatsu D155A-1 МАРКИРОВКА¤ ИТАЛИЯ(№-) ЧАСТИ КОРПУСА

Схема запчастей Komatsu D155A-1 - МАРКИРОВКА¤ ИТАЛИЯ(№-) ЧАСТИ КОРПУСА
FIT
1:1
100%

Артикул

Название

Примечание

Количество

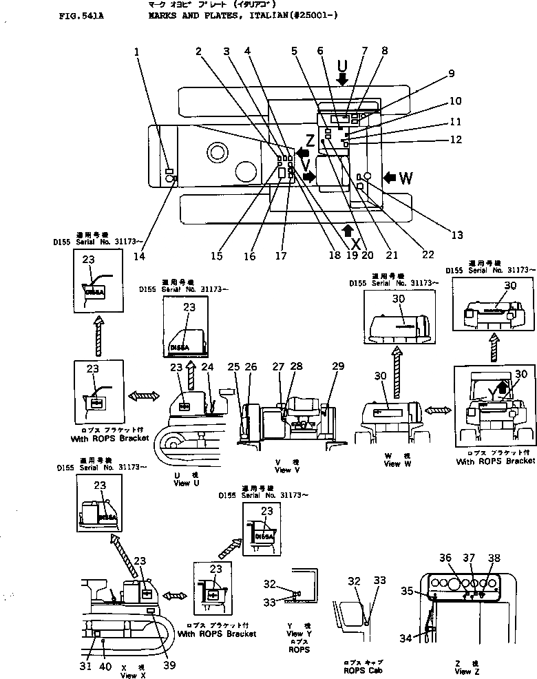
1

09650-61101

PLATE, INSTRUCTION

SN: 17001-UP

1шт.

2

09649-06001

PLATE, INSTRUCTION,ENGINE STOP

SN: 25001-UP

1шт.

3

175-900-4740

PLATE,TRAVELING ON SLOPE

SN: 17001-UP

1шт.

4

09666-06000

PLATE, SAFETY,FIRE PREVENTION

SN: 17001-UP

1шт.

5

09173-06000

PLATE, SAFETY,MAINTENANCE

SN: 17001-UP

1шт.

6

09685-00002

PLATE, OPERATING,PIN PULLER

SN: 25001-UP

1шт.

7

0

CHART,LUBRICATION

SN: 25001-UP

1шт.

8

09653-06000

PLATE, SAFETY,OIL TANK

SN: 17001-UP

1шт.

9

09655-61120

PLATE, INSTRUCTION,OIL FILTER

SN: 17001-UP

1шт.

10

195-98-13690

PLATE, OPERATING,PIN PULLER

SN: 19001-UP

1шт.

11

09685-00001

PLATE, OPERATING,RIPPER LOCK

SN: 17001-UP

1шт.

12

09671-00002

PLATE, OPERATING,VARIABLE RIPPER LEVER

SN: 25001-UP

1шт.

12

09671-00001

PLATE, OPERATING,RIGID RIPPER LEVER

SN: 25001-UP

1шт.

13

09652-61101

PLATE, CAUTION,WATER DRAIN

SN: 17001-UP

1шт.

14

09668-06000

PLATE, SAFETY,RADIATOR CAP

SN: 17001-UP

1шт.

15

6128-82-4470

PLATE, CAUTION,APS CONTROL

SN: 25001-UP

1шт.

16

6128-81-4471

PLATE, OPERATING,APS CONTROL

SN: 25001-UP

1шт.

17

09654-06000

PLATE, SAFETY

SN: 17001-UP

1шт.

18

09651-06000

PLATE, SAFETY,BEFORE OPERATING

SN: 17001-UP

1шт.

19

09667-06000

PLATE, SAFETY,ENGINE COVER

SN: 17001-UP

1шт.

20

09685-00003

PLATE, OPERATING,BLADE LEVER LOCK

SN: 17001-UP

1шт.

21

09670-00004

PLATE, OPERATING,FOR STRAIGHT TILT AND U-DOZER

SN: 25001-UP

1шт.

21

09670-00001

PLATE, OPERATING,FOR STRAIGHT AND ANGLE DOZER

SN: 17001-UP

1шт.

22

09656-61080

PLATE, INSTRUCTION,FUEL STRAINER

SN: 17001-UP

1шт.

23

175-98-31470

PLATE, MARK

SN: 31173-UP

2шт.

23

09691-42155

PLATE, MARK

SN: 5508-31172

2шт.

24

09687-60070

PLATE, OPERATING,MAIN CLUTCH LEVER

SN: 5507-5507

1шт.

25

09602-61643

PLATE, NAME,(LIMITED SUPPLY)

SN: 5508-UP

1шт.

26

01220-60408

SCREW

SN: 17001-UP

4шт.

27

09679-02002

PLATE, OPERATING,HORN SWITCH

SN: 17001-UP

1шт.

28

09685-00001

PLATE, OPERATING,PARKING LEVER LOCK

SN: 17001-UP

1шт.

29

09685-00002

PLATE, OPERATING,TRANSMISSION LEVER LOCK

SN: 17001-UP

1шт.

30

09690-B0500

PLATE, MARK

SN: 31173-UP

1шт.

30

09692-42155

PLATE, MARK

SN: 5508-31172

1шт.

31

09657-06000

PLATE, SAFETY,TRACK ADJUSTING

SN: 17001-UP

2шт.

32

09620-60200

PLATE, NAME,ROPS

SN: 25001-UP

1шт.

33

04418-13060

SCREW

SN: 25001-UP

4шт.

34

09682-61020

PLATE, OPERATING,DECOMP LEVER

SN: 5507-5507

1шт.

35

09684-61040

PLATE, NAME,OIL FILTER

SN: 5507-5507

1шт.

36

09609-64008

PLATE, NAME,LAMP SWITCH

SN: 5507-5507

1шт.

37

09609-64007

PLATE, NAME,PRE-HEATER SWITCH

SN: 5507-5507

1шт.

38

09683-61060

PLATE, OPERATING,STARTING SWITCH

SN: 5507-5507

1шт.

39

195-98-23370

PLATE, OPERATING

SN: 30138-UP

1шт.

40

09960-61012

PLATE, MARK

SN: 30138-UP

2шт.

Выбрано товаров: 44