Запчасти Komatsu D155A-1 МАРКИРОВКА¤ ИРАН(№-) ЧАСТИ КОРПУСА

Схема запчастей Komatsu D155A-1 - МАРКИРОВКА¤ ИРАН(№-) ЧАСТИ КОРПУСА
FIT
1:1
100%

Артикул

Название

Примечание

Количество

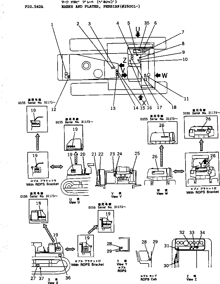
1

09650-04101

PLATE, INSTRUCTION

SN: 17001-UP

1шт.

2

09649-00401

PLATE, INSTRUCTION,ENGINE STOP

SN: 25001-UP

1шт.

3

09173-00400

PLATE, SAFETY,MAINTENANCE

SN: 17001-UP

1шт.

4

09666-00400

PLATE, SAFETY,FIRE PREVENTION

SN: 17001-UP

1шт.

5

09685-00002

PLATE, OPERATING,PIN PULLER

SN: 25001-UP

1шт.

6

09653-00400

PLATE, SAFETY,OIL TANK

SN: 17001-UP

1шт.

7

09655-04120

PLATE, INSTRUCTION,OIL FILTER

SN: 17001-UP

1шт.

8

195-98-13690

PLATE, OPERATING,PIN PULLER

SN: 19001-UP

1шт.

9

09685-00001

PLATE, OPERATING,RIPPER LOCK

SN: 17001-UP

1шт.

10

09671-00002

PLATE, OPERATING,VARIABLE RIPPER LEVER

SN: 25001-UP

1шт.

10

09671-00001

PLATE, OPERATING,RIGID RIPPER LEVER

SN: 25001-UP

1шт.

11

09652-04101

PLATE, CAUTION,WATER DRAIN

SN: 17001-UP

1шт.

12

09668-00400

PLATE, SAFETY,RADIATOR CAP

SN: 17001-UP

1шт.

13

09654-00400

PLATE, SAFETY

SN: 17001-UP

1шт.

14

09651-00400

PLATE, SAFETY,BEFORE OPERATING

SN: 17001-UP

1шт.

15

09667-00400

PLATE, SAFETY,ENGINE COVER

SN: 17001-UP

1шт.

16

09685-00003

PLATE, OPERATING,BLADE LEVER LOCK

SN: 17001-UP

1шт.

17

09670-00004

PLATE, OPERATING,FOR STRAIGHT TILT AND U-DOZER

SN: 25001-UP

1шт.

17

09670-00001

PLATE, OPERATING,FOR STRAIGHT AND ANGLE DOZER

SN: 17001-UP

1шт.

18

09656-04080

PLATE, INSTRUCTION,FUEL STRAINER

SN: 17001-UP

1шт.

19

175-98-31470

PLATE, MARK

SN: 31173-UP

2шт.

19

09691-42155

PLATE, MARK

SN: 5508-31172

2шт.

20

09687-04070

PLATE, OPERATING,MAIN CLUTCH LEVER

SN: 5507-5507

1шт.

21

09602-04643

PLATE, NAME,(LIMITED SUPPLY)

SN: 5508-UP

1шт.

22

01220-60408

SCREW

SN: 17001-UP

4шт.

23

09679-02002

PLATE, OPERATING,HORN SWITCH

SN: 17001-UP

1шт.

24

09685-00001

PLATE, OPERATING,PARKING LEVER LOCK

SN: 17001-UP

1шт.

25

09685-00002

PLATE, OPERATING,TRANSMISSION LEVER LOCK

SN: 17001-UP

1шт.

26

09690-B0500

PLATE, MARK

SN: 31173-UP

1шт.

26

09692-42155

PLATE, MARK

SN: 5508-31172

1шт.

27

09657-00400

PLATE, SAFETY,TRACK ADJUSTING

SN: 17001-UP

2шт.

28

09620-04200

PLATE, NAME,ROPS

SN: 25001-UP

1шт.

29

04418-13060

SCREW

SN: 25001-UP

4шт.

30

09682-04020

PLATE, OPERATING,DECOMP LEVER

SN: 5507-5507

1шт.

31

09684-04040

PLATE, NAME,OIL FILTER

SN: 5507-5507

1шт.

32

09609-00508

PLATE, NAME,LAMP SWITCH

SN: 5507-5507

1шт.

33

09609-00507

PLATE, NAME,PRE-HEATER SWITCH

SN: 5507-5507

1шт.

34

09683-04060

PLATE, OPERATING,STARTING SWITCH

SN: 5507-5507

1шт.

35

175-900-5810

CHART,LUBRICATION

SN: 25001-UP

1шт.

36

195-98-23370

PLATE, OPERATING

SN: 30138-UP

1шт.

37

09960-61012

PLATE, MARK

SN: 30138-UP

2шт.

Выбрано товаров: 41