Запчасти Komatsu D155A-1 МАРКИРОВКА¤ SERBIAN(№7-) ЧАСТИ КОРПУСА

Схема запчастей Komatsu D155A-1 - МАРКИРОВКА¤ SERBIAN(№7-) ЧАСТИ КОРПУСА
FIT
1:1
100%

Артикул

Название

Примечание

Количество

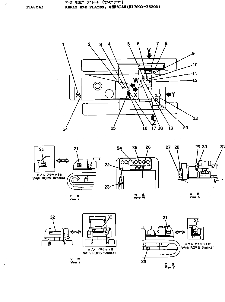
1

195-98-14310

PLATE

SN: 17001-@

1шт.

2

195-98-14190

PLATE,ENGINE STOP

SN: 17001-25000

1шт.

3

195-98-14450

PLATE,TRAVELING ON SLOPE

SN: 17001-@

1шт.

4

195-98-14280

PLATE,FIRE PREVENTION

SN: 17001-@

1шт.

5

195-98-14160

PLATE,MAINTENANCE

SN: 17001-@

1шт.

6

195-98-13690

PLATE, OPERATING,PIN PULLER LEVER

SN: 19001-@

1шт.

6

175-79-31540

PLATE, OPERATING,PIN PULLER LEVER

SN: 8257-19000

1шт.

7

175-900-6280

CHART,LUBRICATION

SN: 19001-25000

1шт.

8

195-98-14290

PLATE,OIL TANK

SN: 17001-@

1шт.

9

195-98-14370

PLATE,OIL FILTER

SN: 17001-@

1шт.

10

09671-00002

PLATE, OPERATING,VARIABLE RIPPER LEVER

SN: 17001-25000

1шт.

10

09671-00001

PLATE, OPERATING,RIGID RIPPER LEVER

SN: 17001-25000

1шт.

11

09685-00001

PLATE, OPERATING,RIPPER LEVER LOCK

SN: 17001-@

1шт.

12

195-98-14240

PLATE,SEAT BELT

SN: 17001-@

1шт.

13

195-98-14440

PLATE,WATER DRAIN

SN: 17001-@

1шт.

14

195-98-14210

PLATE,RADIATOR CAP

SN: 17001-25000

1шт.

15

195-98-14320

PLATE,ENGINE COVER

SN: 17001-@

1шт.

16

195-98-14230

PLATE,BEFORE OPERATING

SN: 17001-@

1шт.

17

195-98-14270

PLATE

SN: 17001-@

1шт.

18

09685-00003

PLATE, OPERATING,BLADE LEVER LOCK

SN: 17001-@

1шт.

19

09670-00003

PLATE, OPERATING,FOR STRAIGHT TILT AND U-DOZER

SN: 17001-25000

1шт.

19

09670-00001

PLATE, OPERATING,FOR STRAIGHT AND ANGLE DOZER

SN: 17001-@

1шт.

20

195-98-14150

PLATE,FUEL STRAINER

SN: 17001-@

1шт.

21

09691-42155

PLATE, MARK

SN: 5508-@

2шт.

22

145-98-14380

PLATE,OIL FILTER

SN: 17001-25000

1шт.

23

195-98-14340

PLATE,DECOMP LEVER

SN: 17001-25000

1шт.

24

195-98-14360

PLATE,LAMP SWITCH

SN: 17001-25000

1шт.

25

195-98-14350

PLATE,PRE-HEATER SWITCH

SN: 17001-25000

1шт.

26

195-98-14250

PLATE,STARTING SWITCH

SN: 17001-25000

1шт.

27

09602-01643

PLATE, NAME,(LIMITED SUPPLY)

SN: 5508-@

1шт.

28

01220-60408

SCREW

SN: 17001-@

4шт.

29

09679-02002

PLATE, OPERATING,HORN SWITCH

SN: 17001-@

1шт.

30

09685-00001

PLATE, OPERATING,PARKING LEVER LOCK

SN: 17001-@

1шт.

31

09685-00002

PLATE, OPERATING,TRANSMISSION LEVER LOCK

SN: 17001-@

1шт.

32

09692-42155

PLATE, MARK

SN: 5508-@

1шт.

33

195-98-14180

PLATE,TRACK ADJUSTING

SN: 17001-@

2шт.

Выбрано товаров: 0