Запчасти Komatsu D155A-1 МАРКИРОВКА¤ SERBIAN(№-) ЧАСТИ КОРПУСА

Схема запчастей Komatsu D155A-1 - МАРКИРОВКА¤ SERBIAN(№-) ЧАСТИ КОРПУСА
FIT
1:1
100%

Артикул

Название

Примечание

Количество

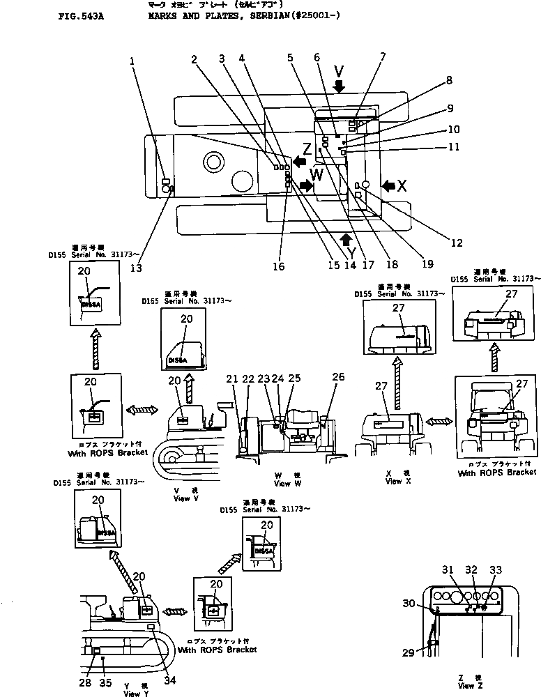
1

195-98-14310

PLATE

SN: 17001-UP

1шт.

2

195-98-14190

PLATE,ENGINE STOP

SN: 25001-UP

1шт.

3

195-98-14450

PLATE,TRAVELING ON SLOPE

SN: 17001-UP

1шт.

4

195-98-14280

PLATE,FIRE PREVENTION

SN: 17001-UP

1шт.

5

195-98-14160

PLATE,MAINTENANCE

SN: 17001-UP

1шт.

6

09685-00002

PLATE, OPERATING,PIN PULLER

SN: 25001-UP

1шт.

7

195-98-14290

PLATE,OIL TANK

SN: 17001-UP

1шт.

8

195-98-14370

PLATE,OIL FILTER

SN: 17001-UP

1шт.

9

195-98-13690

PLATE, OPERATING,PIN PULLER

SN: 19001-UP

1шт.

10

09685-00001

PLATE, OPERATING,RIPPER LOCK

SN: 17001-UP

1шт.

11

09671-00002

PLATE, OPERATING,VARIABLE RIPPER LEVER

SN: 25001-UP

1шт.

11

09671-00001

PLATE, OPERATING,RIGID RIPPER LEVER

SN: 25001-UP

1шт.

12

195-98-14440

PLATE,WATER DRAIN

SN: 17001-UP

1шт.

13

195-98-14210

PLATE,RADIATOR CAP

SN: 17001-UP

1шт.

14

195-98-14320

PLATE,ENGINE COVER

SN: 17001-UP

1шт.

15

195-98-14230

PLATE,BEFORE OPERATING

SN: 17001-UP

1шт.

16

195-98-14270

PLATE

SN: 17001-UP

1шт.

17

09685-00003

PLATE, OPERATING,BLADE LEVER LOCK

SN: 17001-UP

1шт.

18

09670-00004

PLATE, OPERATING,FOR STRAIGHT TILT AND U-DOZER

SN: 25001-UP

1шт.

18

09670-00001

PLATE, OPERATING,FOR STRAIGHT AND ANGLE DOZER

SN: 17001-UP

1шт.

19

195-98-14150

PLATE,FUEL STRAINER

SN: 17001-UP

1шт.

20

175-98-31470

PLATE, MARK

SN: 31173-UP

2шт.

20

09691-42155

PLATE, MARK

SN: 5508-31172

2шт.

21

09602-01643

PLATE, NAME,(LIMITED SUPPLY)

SN: 5508-UP

1шт.

22

01220-60408

SCREW

SN: 17001-UP

4шт.

23

195-98-14240

PLATE,SEAT BELT

SN: 17001-UP

1шт.

24

09679-02002

PLATE, OPERATING,HORN SWITCH

SN: 17001-UP

1шт.

25

09685-00001

PLATE, OPERATING,PARKING LEVER LOCK

SN: 17001-UP

1шт.

26

09685-00002

PLATE, OPERATING,TRANSMISSION LEVER LOCK

SN: 17001-UP

1шт.

27

09690-B0500

PLATE, MARK

SN: 31173-UP

1шт.

27

09692-42155

PLATE, MARK

SN: 5508-31172

1шт.

28

195-98-14180

PLATE,TRACK ADJUSTING

SN: 17001-UP

2шт.

29

195-98-14340

PLATE,DECOMP LEVER

SN: 5507-5507

1шт.

30

195-98-14380

PLATE, CAUTION,OIL FILTER

SN: 5507-5507

1шт.

31

195-98-14360

PLATE,LAMP SWITCH

SN: 5507-5507

1шт.

32

195-98-14350

PLATE,PRE-HEATER SWITCH

SN: 5507-5507

1шт.

33

195-98-14250

PLATE,STARTING SWITCH

SN: 5507-5507

1шт.

34

195-98-23370

PLATE, OPERATING

SN: 30138-UP

1шт.

35

09960-61012

PLATE, MARK

SN: 30138-UP

2шт.

Выбрано товаров: 0