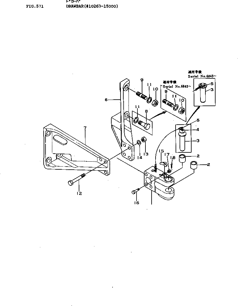
Запчасти Komatsu D155A-1 СЦЕПНОЕ УСТРОЙСТВО(№-) ЧАСТИ КОРПУСА

Схема запчастей Komatsu D155A-1 - СЦЕПНОЕ УСТРОЙСТВО(№-) ЧАСТИ КОРПУСА
FIT
1:1
100%

Артикул

Название

Примечание

Количество

|$0

175-69-00011

DRAWBAR ASS'Y

SN: 6843-15000

1шт.

|$1

0

DRAWBAR ASS'Y

SN: 5508-6842

1шт.

1

0

DRAWBAR

SN: 6843-15000

1шт.

1

0

DRAWBAR

SN: 5508-6842

1шт.

2

195-69-11230

BUSHING

SN: 5508-@

2шт.

3

195-69-11222

PIN ASS'Y

SN: 6843-15000

1шт.

3

195-69-11220

PIN

SN: 5508-6842

1шт.

4

09245-50060

HOOK (WELDED)

SN: 6843-15000

1шт.

4

130-70-12210

HOOK (WELDED)

SN: 5508-6842

2шт.

5

150-74-11360

CHAIN

SN: 6843-15000

1шт.

5

170-69-11190

CHAIN

SN: 5508-6842

1шт.

6

175-69-21121

BRACKET

SN: 5508-@

1шт.

7

175-69-21111

BRACKET

SN: 5508-@

1шт.

8

0

BOLT

SN: 6119-6842

8шт.

|$$15

(170-69-11154,01582-03931)

-1шт.

8

01040-63990

BOLT

SN: 5508-6118

8шт.

9

170-69-11154

STUD

SN: 6843-@

10шт.

9

170-69-11154

STUD

SN: 5508-6842

2шт.

10

01582-03931

NUT

SN: 6843-@

10шт.

10

01582-03931

NUT

SN: 6119-6842

2шт.

10

01500-33930

NUT

SN: 5508-6118

2шт.

11

01601-03995

WASHER

SN: 5508-@

10шт.

12

170-69-11143

BOLT

SN: 5508-@

4шт.

13

01580-03326

NUT

SN: 6119-@

4шт.

13

01503-33325

NUT

SN: 5508-6118

4шт.

14

01601-03382

WASHER

SN: 5508-@

4шт.

15

195-69-11241

LATCH

SN: 6843-15000

1шт.

15

195-69-11240

LATCH

SN: 5508-6842

1шт.

16

01052-31665

BOLT

SN: 6119-15000

1шт.

16

01002-31665

BOLT

SN: 5508-6118

1шт.

17

01592-01619

NUT

SN: 6119-@

1шт.

17

01510-31619

NUT

SN: 5508-6118

1шт.

18

04050-04030

PIN

SN: 5508-@

1шт.

Выбрано товаров: 33