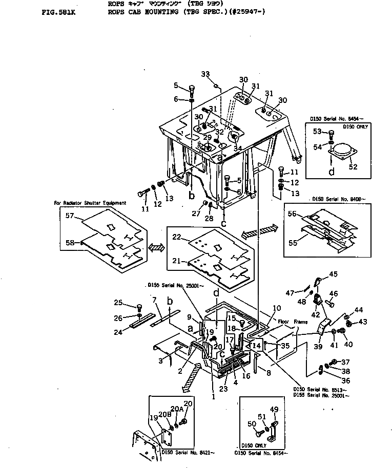
Запчасти Komatsu D155A-1 КАБИНА ROPS КРЕПЛЕНИЕ (СПЕЦ-Я TBG)(№97-) ЧАСТИ КОРПУСА

Схема запчастей Komatsu D155A-1 - КАБИНА ROPS КРЕПЛЕНИЕ (СПЕЦ-Я TBG)(№97-) ЧАСТИ КОРПУСА
FIT
1:1
100%

Артикул

Название

Примечание

Количество

1

195-979-1670

SEAT

SN: 15001-UP

1шт.

2

195-979-1681

SEAT

SN: 15001-UP

1шт.

3

195-979-1650

SEAT

SN: 15001-UP

1шт.

4

195-979-1640

SEAT

SN: 15001-UP

1шт.

5

01010-31445

BOLT

SN: 15001-UP

6шт.

6

01643-31445

WASHER

SN: 15001-UP

6шт.

7

195-979-1660

SEAT

SN: 15001-UP

1шт.

8

195-979-1620

SEAT

SN: 15001-UP

1шт.

9

195-979-1630

SEAT

SN: 15001-UP

1шт.

10

195-979-1610

SEAT

SN: 15001-UP

1шт.

11

01010-31470

BOLT

SN: 25001-UP

15шт.

12

01643-31445

WASHER

SN: 25001-UP

15шт.

13

195-979-1741

JOINT

SN: 25001-UP

12шт.

14

195-979-9670

COVER

SN: 25001-UP

1шт.

15

01439-00814

BOLT

SN: 25001-UP

4шт.

16

195-979-8880

COVER

SN: 25001-UP

1шт.

16

195-979-6110

COVER,(WITH RADIATOR SHUTTER)

SN: 25001-UP

1шт.

17

195-54-26210

BOLT

SN: 25001-UP

3шт.

18

195-979-8910

COVER

SN: 25001-UP

1шт.

19

195-979-3853

COVER

SN: 25001-UP

1шт.

19

195-979-3851

COVER

SN: 5507-5507

1шт.

20

195-54-26210

BOLT

SN: 25001-UP

5шт.

20

01010-31230

BOLT

SN: 5507-5507

4шт.

20A

01602-01236

WASHER

SN: 5507-5507

4шт.

20B

01643-31232

WASHER

SN: 5507-5507

4шт.

21

175-979-1730

MAT

SN: 25947-UP

1шт.

22

175-979-1740

MAT

SN: 25947-UP

1шт.

23

195-862-3570

PLATE,L.H.

SN: 15001-UP

1шт.

24

195-862-1340

PLATE,R.H.

SN: 15001-UP

1шт.

25

01010-31430

BOLT

SN: 25001-UP

6шт.

26

01643-31445

WASHER

SN: 25001-UP

6шт.

27

175-911-2610

CAP

SN: 25001-UP

2шт.

28

07281-00419

CLAMP

SN: 25001-UP

2шт.

29

09415-02512

CAP

SN: 25001-UP

3шт.

30

195-979-3460

SEAT

SN: 17001-UP

4шт.

31

07281-00709

CLAMP

SN: 17001-UP

4шт.

32

07042-10415

PLUG

SN: 25001-UP

1шт.

33

195-979-8790

PLUG

SN: 25001-UP

1шт.

34

09415-01008

CAP

SN: 25001-UP

1шт.

35

07049-03038

PLUG

SN: 25001-UP

2шт.

36

154-54-22990

HANDLE

SN: 25001-UP

1шт.

37

01010-51635

BOLT

SN: 25001-UP

2шт.

38

01643-31645

WASHER

SN: 25001-UP

2шт.

39

175-978-1390

BRACKET

SN: 25001-UP

1шт.

40

01010-52050

BOLT

SN: 25001-UP

4шт.

41

01641-32060

WASHER

SN: 25001-UP

4шт.

42

195-978-1540

BRACKET

SN: 25001-UP

1шт.

43

01010-51240

BOLT

SN: 25001-UP

4шт.

44

01643-31232

WASHER

SN: 25001-UP

4шт.

45

196-978-1530

STOPPER

SN: 25001-UP

1шт.

46

130-54-61840

PIN

SN: 25001-UP

1шт.

47

0

PIN

SN: 25001-UP

1шт.

48

01643-32260

WASHER

SN: 25001-UP

1шт.

49

175-43-41853

COVER

SN: 5507-5507

1шт.

50

01010-31025

BOLT

SN: 5507-5507

3шт.

51

01643-31032

WASHER

SN: 5507-5507

3шт.

52

175-54-33232

COVER

SN: 5507-5507

1шт.

53

01010-31230

BOLT

SN: 5507-5507

4шт.

54

01643-31232

WASHER

SN: 5507-5507

4шт.

55

170-979-1121

MAT

SN: 5507-5507

1шт.

56

170-979-1111

MAT

SN: 5507-5507

1шт.

57

175-979-6120

MAT,(WITH RADIATOR SHUTTER)

SN: 25001-UP

1шт.

58

175-979-6130

MAT,(WITH RADIATOR SHUTTER)

SN: 25001-UP

1шт.

Выбрано товаров: 63