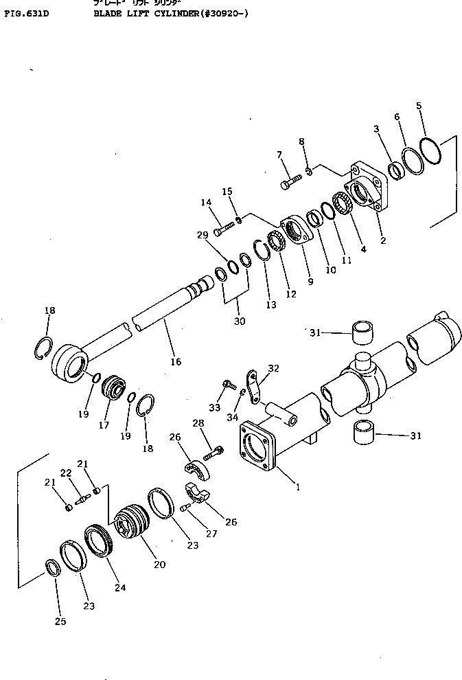
Запчасти Komatsu D155A-1 ЦИЛИНДР ПОДЪЕМА ОТВАЛА(№9-) УПРАВЛ-Е РАБОЧИМ ОБОРУДОВАНИЕМ

Схема запчастей Komatsu D155A-1 - ЦИЛИНДР ПОДЪЕМА ОТВАЛА(№9-) УПРАВЛ-Е РАБОЧИМ ОБОРУДОВАНИЕМ
FIT
1:1
100%

Артикул

Название

Примечание

Количество

G-1

0

CYLINDER GROUP,L.H.

SN: 30920-UP

1шт.

G-1

0

CYLINDER GROUP,R.H.

SN: 30920-UP

1шт.

|$$3

====================

-1шт.

|$3

175-63-02111

CYLINDER ASS'Y

SN: 30920-UP

1шт.

1

175-63-22341

CYLINDER

SN: 30920-UP

1шт.

2

175-63-13131

HEAD,CYLINDER

SN: 15001-UP

1шт.

3

07177-07530

BUSHING

SN: 15001-UP

1шт.

4

707-51-75110

U-PACKING,ROD (KIT)

SN: 17001-UP

1шт.

5

07000-12135

O-RING (KIT)

SN: 15001-UP

1шт.

6

07146-02136

RING,BACK-UP (KIT)

SN: 15001-UP

1шт.

7

01010-52470

BOLT

SN: 15001-UP

4шт.

8

01602-22472

WASHER,SPRING

SN: 15001-UP

4шт.

9

175-63-13630

GLAND

SN: 17001-UP

1шт.

10

07177-07515

BUSHING

SN: 15001-UP

1шт.

11

07000-03095

O-RING (KIT)

SN: 15001-UP

1шт.

12

144-63-94170

SEAL,DUST (KIT)

SN: 17001-UP

1шт.

13

07179-00097

RING,SNAP

SN: 15001-UP

1шт.

14

01010-51655

BOLT

SN: 15001-UP

2шт.

15

01602-21648

WASHER,SPRING

SN: 15001-UP

2шт.

16

175-63-22320

ROD,PISTON

SN: 30920-UP

1шт.

17

07137-05008

BUSHING

SN: 15001-UP

1шт.

17

07137-00060

SEAL,DUST

SN: 15001-UP

2шт.

18

04065-01104

RING

SN: 15001-UP

2шт.

19

07000-03050

O-RING (KIT)

SN: 15001-UP

2шт.

|$24

707-91-01450

PISTON ASS'Y

SN: 30920-UP

1шт.

20

0

PISTON

SN: 30920-UP

1шт.

21

0

SEAT

SN: 15001-UP

8шт.

22

0

VALVE

SN: 30920-UP

4шт.

23

707-39-14820

RING,WEAR (KIT)

SN: 30920-UP

2шт.

24

707-44-14180

RING,PISTON (KIT)

SN: 30920-UP

1шт.

25

707-40-13051

RETAINER

SN: 30920-UP

1шт.

26

707-40-14061

SPACER

SN: 30920-UP

2шт.

27

707-83-10073

VALVE

SN: 30920-UP

4шт.

28

01252-31235

BOLT

SN: 30920-UP

6шт.

29

07000-12060

O-RING (KIT)

SN: 30920-UP

1шт.

30

707-35-52900

RING,BACK-UP (KIT)

SN: 30920-UP

2шт.

31

175-63-12540

BUSHING

SN: 15001-UP

2шт.

32

175-63-12370

PLATE

SN: 15001-UP

1шт.

33

01010-51245

BOLT

SN: 15001-UP

1шт.

34

01602-01236

WASHER,SPRING

SN: 15001-UP

1шт.

|$$41

====================

-1шт.

Выбрано товаров: 41