Запчасти Komatsu D155A-1 ЦИЛИНДР ПЕРЕКОСА(№-) УПРАВЛ-Е РАБОЧИМ ОБОРУДОВАНИЕМ

Схема запчастей Komatsu D155A-1 - ЦИЛИНДР ПЕРЕКОСА(№-) УПРАВЛ-Е РАБОЧИМ ОБОРУДОВАНИЕМ
FIT
1:1
100%

Артикул

Название

Примечание

Количество

|$0

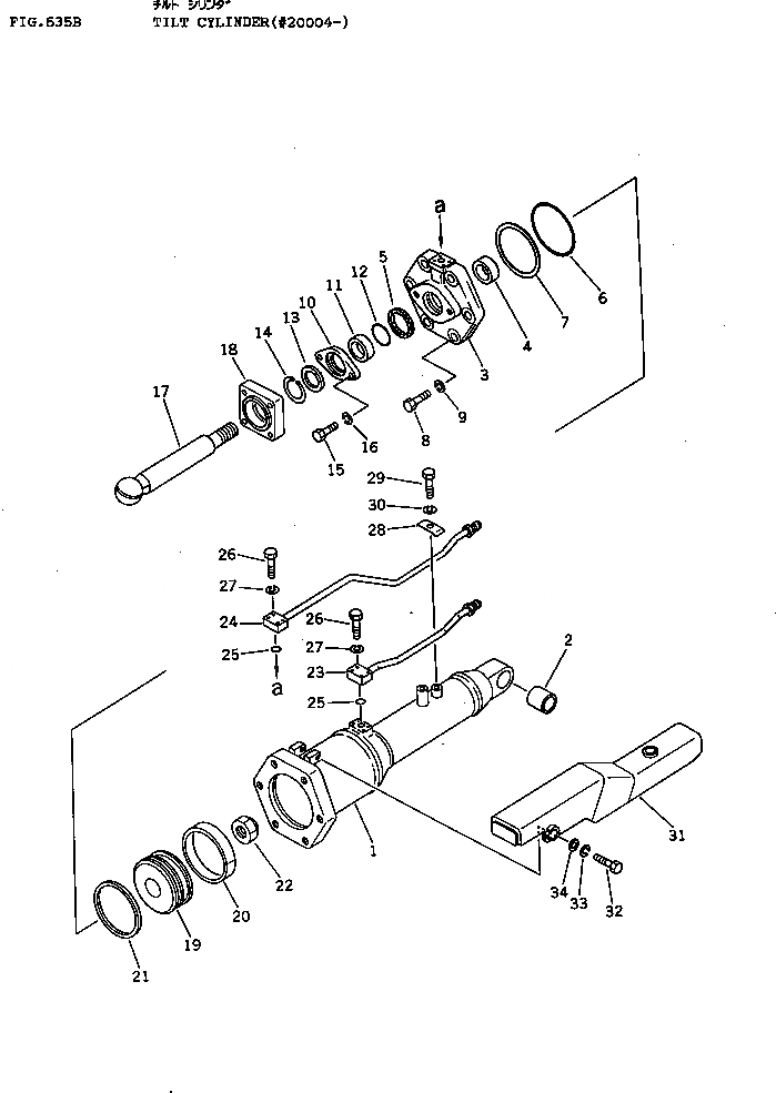
175-63-52700

CYLINDER ASS'Y

SN: 20004-UP

1шт.

1

175-63-52542

CYLINDER

SN: 17001-UP

1шт.

2

195-63-52160

BUSHING

SN: 15001-UP

1шт.

3

195-63-42133

HEAD

SN: 20004-UP

1шт.

4

07177-09035

BUSHING

SN: 15001-UP

1шт.

5

707-51-90110

U-PACKING,ROD (KIT)

SN: 17001-UP

1шт.

6

07000-15220

O-RING (KIT)

SN: 15001-UP

1шт.

7

07001-05220

RING,BACK-UP (KIT)

SN: 15001-UP

1шт.

8

01011-63000

BOLT

SN: 15001-UP

6шт.

9

01601-03075

WASHER,SPRING

SN: 15001-UP

6шт.

10

195-63-52470

GLAND

SN: 15001-UP

1шт.

11

07177-09020

BUSHING

SN: 15001-UP

1шт.

12

07000-03110

O-RING (KIT)

SN: 15001-UP

1шт.

13

195-63-94170

SEAL,DUST (KIT)

SN: 17001-UP

1шт.

14

07179-00113

RING,SNAP

SN: 15001-UP

1шт.

15

01010-31865

BOLT

SN: 15001-UP

2шт.

16

01602-01854

WASHER,SPRING

SN: 15001-UP

2шт.

17

175-63-52422

ROD

SN: 17001-UP

1шт.

18

175-71-11211

CAP

SN: 15001-UP

1шт.

19

707-36-22550

PISTON

SN: 20004-UP

1шт.

20

07155-02250

RING,WEAR (KIT)

SN: 15001-UP

1шт.

21

707-44-22080

RING,PISTON (KIT)

SN: 20004-UP

1шт.

22

07165-16870

NUT

SN: 15001-UP

1шт.

23

175-63-52552

TUBE

SN: 17001-UP

1шт.

24

175-63-52562

TUBE

SN: 17001-UP

1шт.

25

07000-13035

O-RING (KIT)

SN: 15001-UP

2шт.

26

01010-31050

BOLT

SN: 17001-UP

8шт.

27

01602-01030

WASHER,SPRING

SN: 15001-UP

8шт.

28

195-63-52871

CLIP

SN: 17001-UP

1шт.

29

01010-31420

BOLT

SN: 17001-UP

1шт.

30

01602-01442

WASHER

SN: 17001-UP

1шт.

31

175-63-52572

COVER

SN: 17001-UP

1шт.

32

01010-31440

BOLT

SN: 15001-UP

3шт.

33

01602-01442

WASHER,SPRING

SN: 15001-UP

3шт.

34

01643-31445

WASHER

SN: 15001-UP

3шт.

Выбрано товаров: 35