Запчасти Komatsu D155A-1 ТОПЛИВН. БАК.(№-) КОМПОНЕНТЫ ДВИГАТЕЛЯ И ЭЛЕКТРИКА

Схема запчастей Komatsu D155A-1 - ТОПЛИВН. БАК.(№-) КОМПОНЕНТЫ ДВИГАТЕЛЯ И ЭЛЕКТРИКА
FIT
1:1
100%

Артикул

Название

Примечание

Количество

|$0

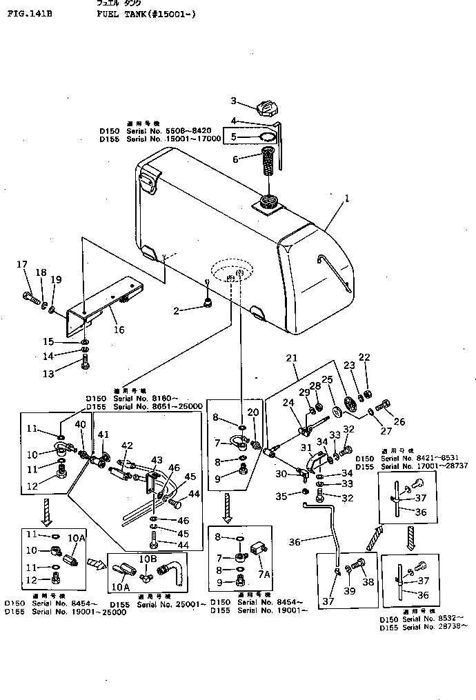
175-04-00173

FUEL TANK ASS'Y

SN: 25001-UP

1шт.

|$1

0

FUEL TANK ASS'Y

SN: 19001-25000

1шт.

|$2

0

FUEL TANK ASS'Y

SN: 17001-19000

1шт.

|$3

0

FUEL TANK ASS'Y

SN: 15001-17000

1шт.

1

0

TANK

SN: 25001-UP

1шт.

1

0

TANK

SN: 19001-25000

1шт.

1

0

TANK

SN: 15001-19000

1шт.

2

154-04-12470

PLUG

SN: 6091-UP

1шт.

3

07050-21200

CAP

SN: 5508-UP

1шт.

3

07091-01200

CAP,(FOR VANDALISM PROTECTION)

SN: 8651-UP

1шт.

4

175-04-22113

GAUGE

SN: 5508-UP

1шт.

5

110-04-11120

RING,SNAP

SN: 5508-17000

1шт.

6

07056-18416

STRAINER

SN: 17001-UP

1шт.

6

0

STRAINER

SN: 5508-17000

1шт.

7

195-04-11230

JOINT

SN: 19001-UP

1шт.

7

175-04-26190

TUBE

SN: 15001-19000

1шт.

7A

175-04-21320

ELBOW

SN: 19001-UP

1шт.

8

07000-03035

O-RING

SN: 5508-UP

2шт.

9

195-04-11280

BOLT

SN: 5508-UP

1шт.

10

195-04-11230

JOINT

SN: 19001-UP

1шт.

10

195-04-11220

TUBE

SN: 5508-19000

1шт.

10A

07700-40460

VALVE

SN: 25001-UP

1шт.

10A

281-81-12930

JOINT

SN: 19001-25000

1шт.

10B

195-04-12280

ELBOW

SN: 25001-UP

1шт.

11

07000-03035

O-RING

SN: 5508-UP

2шт.

12

195-04-11280

BOLT

SN: 5508-UP

1шт.

13

01010-62465

BOLT

SN: 8513-UP

6шт.

13

0

BOLT

SN: 6091-8512

6шт.

14

01602-02472

WASHER,SPRING

SN: 5508-25000

6шт.

15

01643-32460

WASHER

SN: 5508-UP

6шт.

16

175-04-25221

BRACKET

SN: 5508-UP

1шт.

17

01010-52060

BOLT

SN: 25001-UP

6шт.

17

0

BOLT

SN: 5508-25000

6шт.

18

01602-02060

WASHER,SPRING

SN: 5508-25000

6шт.

19

01643-32060

WASHER

SN: 5508-UP

6шт.

20

07213-51521

CONNECTOR

SN: 15001-19000

1шт.

21

154-04-12492

VALVE

SN: 23992-UP

1шт.

21

0

VALVE

SN: 20453-23991

1шт.

21

0

VALVE

SN: 19411-20452

1шт.

21

0

VALVE

SN: 6091-19410

1шт.

22

01580-00605

NUT

SN: 15001-UP

1шт.

23

01602-00619

WASHER,SPRING

SN: 15001-UP

1шт.

24

175-04-26181

JOINT

SN: 15997-UP

1шт.

24

0

JOINT

SN: 15001-15996

1шт.

25

195-04-11480

GUIDE

SN: 15001-UP

1шт.

26

01010-30616

BOLT

SN: 15001-UP

3шт.

27

01602-00619

WASHER,SPRING

SN: 15001-UP

3шт.

28

01580-30605

NUT

SN: 15001-UP

1шт.

29

01602-00619

WASHER,SPRING

SN: 15001-UP

1шт.

30

195-04-11431

ELBOW

SN: 15001-UP

1шт.

31

175-04-26210

BRACKET

SN: 15174-UP

1шт.

31

175-04-25360

BRACKET

SN: 15001-15173

1шт.

32

01010-31025

BOLT

SN: 15001-UP

2шт.

33

01602-01030

WASHER,SPRING

SN: 15001-25000

2шт.

34

01643-31032

WASHER

SN: 15001-UP

2шт.

35

07285-00130

CLIP

SN: 25001-UP

1шт.

35

0

CLAMP

SN: 6091-25000

1шт.

36

07270-31295

TUBE

SN: 15001-UP

1шт.

37

154-04-11211

CLIP

SN: 28738-UP

1шт.

37

0

CLIP

SN: 17001-28737

1шт.

37

131-04-21130

CLIP

SN: 5508-17000

1шт.

38

01010-31220

BOLT

SN: 5508-17000

1шт.

39

01602-01236

WASHER,SPRING

SN: 5508-17000

1шт.

40

07213-51521

CONNECTOR

SN: 6091-19000

1шт.

41

154-04-12492

VALVE

SN: 23992-25000

1шт.

41

0

VALVE

SN: 20453-23991

1шт.

41

0

VALVE

SN: 19411-20452

1шт.

41

0

VALVE

SN: 6091-19410

1шт.

42

175-04-25350

ELBOW

SN: 8651-25000

1шт.

43

175-04-25360

BRACKET

SN: 8651-25000

1шт.

44

01010-31025

BOLT

SN: 8651-25000

2шт.

45

01602-01030

WASHER,SPRING

SN: 8651-25000

2шт.

46

01643-31032

WASHER

SN: 8651-25000

2шт.

Выбрано товаров: 73