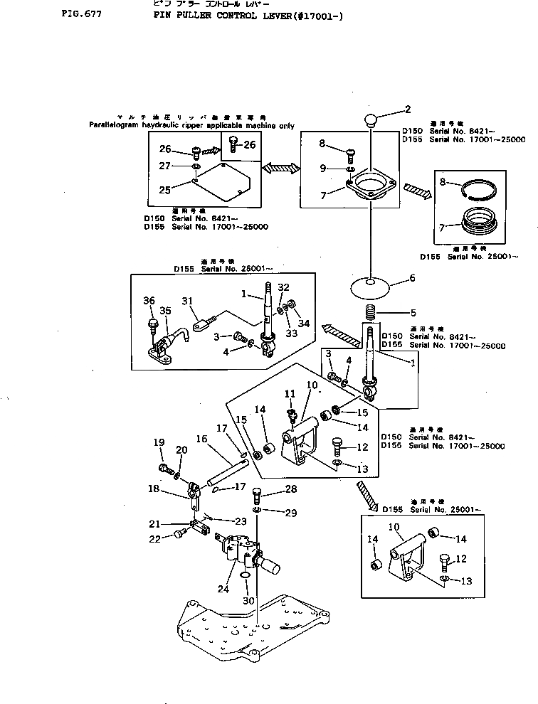
Запчасти Komatsu D155A-1 РЫЧАГ УПРАВЛ-Я СТОПОРН. ПАЛЬЦЕМ(№7-) УПРАВЛ-Е РАБОЧИМ ОБОРУДОВАНИЕМ

Схема запчастей Komatsu D155A-1 - РЫЧАГ УПРАВЛ-Я СТОПОРН. ПАЛЬЦЕМ(№7-) УПРАВЛ-Е РАБОЧИМ ОБОРУДОВАНИЕМ
FIT
1:1
100%

Артикул

Название

Примечание

Количество

1

195-79-34231

LEVER

SN: 25001-UP

1шт.

1

195-79-34230

LEVER

SN: 17001-25000

1шт.

2

09304-00835

KNOB

SN: 15001-UP

1шт.

3

01010-30830

BOLT

SN: 17001-UP

1шт.

4

01602-00825

WASHER,SPRING

SN: 17001-UP

1шт.

5

175-61-13570

SPRING

SN: 15001-UP

1шт.

6

175-61-13580

SEAL

SN: 15001-UP

1шт.

7

154-61-16810

COVER

SN: 25001-UP

1шт.

7

154-61-16421

COVER

SN: 17001-25000

1шт.

8

04070-00130

RING,SNAP

SN: 25001-UP

1шт.

8

195-61-21510

SCREW

SN: 17001-25000

4шт.

9

01602-00825

WASHER,SPRING

SN: 15001-25000

4шт.

10

195-79-34241

SUPPORT

SN: 25001-UP

1шт.

10

195-79-34240

SUPPORT

SN: 17001-25000

1шт.

11

07020-00675

FITTING,GREASE

SN: 17001-25000

1шт.

12

01010-31230

BOLT

SN: 17001-UP

3шт.

13

01602-01236

WASHER,SPRING

SN: 17001-UP

3шт.

14

195-61-34130

BEARING

SN: 25001-UP

2шт.

14

06120-02016

BEARING

SN: 17001-25000

2шт.

15

06122-02004

SEAL

SN: 17001-25000

2шт.

16

195-79-34270

SHAFT

SN: 17001-UP

1шт.

17

04010-00519

KEY

SN: 17001-UP

2шт.

18

195-79-34250

LEVER

SN: 17001-UP

1шт.

19

01010-30830

BOLT

SN: 17001-UP

1шт.

20

01602-00825

WASHER,SPRING

SN: 17001-UP

1шт.

21

195-78-42330

YOKE

SN: 17001-UP

1шт.

22

04205-00618

PIN

SN: 17001-UP

2шт.

23

04050-01610

PIN

SN: 17001-UP

2шт.

24

700-62-53002

VALVE ASS'Y

SN: 21192-UP

1шт.

24

0

VALVE ASS'Y

SN: 17001-21191

1шт.

25

175-61-21270

COVER

SN: 17001-25000

1шт.

26

01010-30820

BOLT

SN: 17001-25000

3шт.

27

01602-00825

WASHER,SPRING

SN: 17001-25000

3шт.

28

01010-31065

BOLT

SN: 17001-UP

3шт.

29

01602-01030

WASHER,SPRING

SN: 17001-UP

3шт.

30

07000-03022

O-RING

SN: 17001-UP

2шт.

31

154-61-16460

HOOK

SN: 25001-UP

1шт.

32

01643-30623

WASHER

SN: 25001-UP

1шт.

33

01602-20619

WASHER,SPRING

SN: 25001-UP

1шт.

34

01580-10605

NUT

SN: 25001-UP

1шт.

35

195-61-21491

LOCK ASS'Y

SN: 25001-UP

1шт.

36

01439-00814

BOLT

SN: 25001-UP

2шт.

Выбрано товаров: 42