Запчасти Komatsu D155A-1 ETHEL STARTING(№8-) ОПЦИОННЫЕ КОМПОНЕНТЫ

Схема запчастей Komatsu D155A-1 - ETHEL STARTING(№8-) ОПЦИОННЫЕ КОМПОНЕНТЫ
FIT
1:1
100%

Артикул

Название

Примечание

Количество

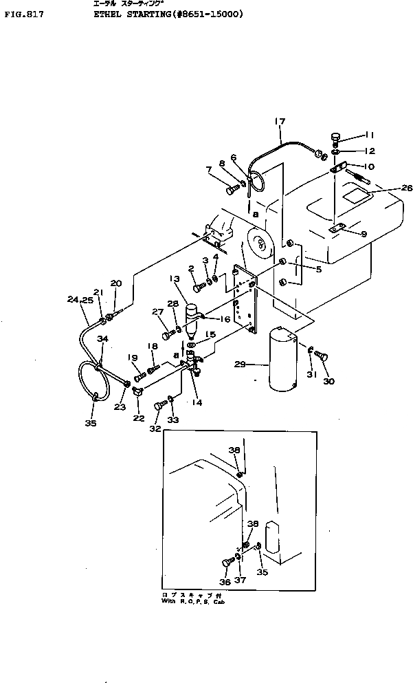
1

175-07-23230

BRACKET

SN: 8651-@

1шт.

2

01010-31230

BOLT

SN: 8651-15000

2шт.

3

01602-01236

WASHER

SN: 8651-@

2шт.

4

01643-31232

WASHER

SN: 8651-@

2шт.

5

01571-01218

SEAT (WELDED)

SN: 8651-15000

3шт.

6

08036-30614

CLIP

SN: 8651-@

1шт.

7

01010-31220

BOLT

SN: 8651-15000

1шт.

8

01602-01236

WASHER

SN: 8651-15000

1шт.

9

01573-20205

SEAT (WELDED)

SN: 8651-15000

1шт.

10

195-01-12550

BRACKET

SN: 8651-15000

1шт.

11

01010-31035

BOLT

SN: 8651-15000

2шт.

12

01602-01030

WASHER

SN: 8651-15000

2шт.

13

6127-81-9890

CYLINDER

SN: 8651-@

1шт.

|$13

6127-81-9820

STARTING KIT

SN: 8651-@

1шт.

14

6710-81-4201

VALVE ASS'Y

SN: 8651-@

1шт.

15

6710-81-4512

GASKET

SN: 8651-@

1шт.

16

6710-81-4271

CLAMP ASS'Y

SN: 8651-@

1шт.

17

6710-81-4221

CABLE

SN: 8651-@

1шт.

18

6710-81-4381

WIRE

SN: 8651-@

1шт.

19

6710-81-4391

STOPPER

SN: 8651-@

1шт.

|$20

6710-81-4211

ATOMIZER ASS'Y

SN: 8651-@

1шт.

20

6710-81-4431

ATOMIZER

SN: 8651-@

1шт.

21

6710-81-4411

NUT,SLEEVE

SN: 8651-@

1шт.

|$23

6710-81-4261

ELBOW

SN: 8651-@

1шт.

22

6710-81-4440

ELBOW

SN: 8651-@

1шт.

23

6710-81-4411

NUT,SLEEVE

SN: 8651-@

1шт.

24

6715-81-4250

TUBE

SN: 8651-@

1шт.

25

07823-00426

TUBE

SN: 8651-@

1шт.

26

6127-81-9860

PLATE, CAUTION

SN: 8651-@

1шт.

27

01010-30612

BOLT

SN: 8651-@

2шт.

28

01602-00619

WASHER

SN: 8651-@

2шт.

29

175-01-23240

COVER

SN: 8651-@

1шт.

30

01010-31225

BOLT

SN: 8651-@

2шт.

31

01602-01236

WASHER

SN: 8651-@

2шт.

32

01010-30612

BOLT

SN: 8651-@

2шт.

33

01602-00619

WASHER

SN: 8651-@

2шт.

34

08034-00414

BAND

SN: 8651-@

2шт.

35

08036-30614

CLIP

SN: 8651-@

2шт.

36

01010-31220

BOLT

SN: 8651-15000

1шт.

37

01602-01236

WASHER

SN: 8651-15000

1шт.

38

09415-01008

CAP

SN: 8651-@

1шт.

38

09415-01008

CAP,(WITH CAB AND SIDE COVER)

SN: 8651-@

2шт.

Выбрано товаров: 42