Запчасти Komatsu D155A-1 ETHEL STARTING(№-7) ОПЦИОННЫЕ КОМПОНЕНТЫ

Схема запчастей Komatsu D155A-1 - ETHEL STARTING(№-7) ОПЦИОННЫЕ КОМПОНЕНТЫ
FIT
1:1
100%

Артикул

Название

Примечание

Количество

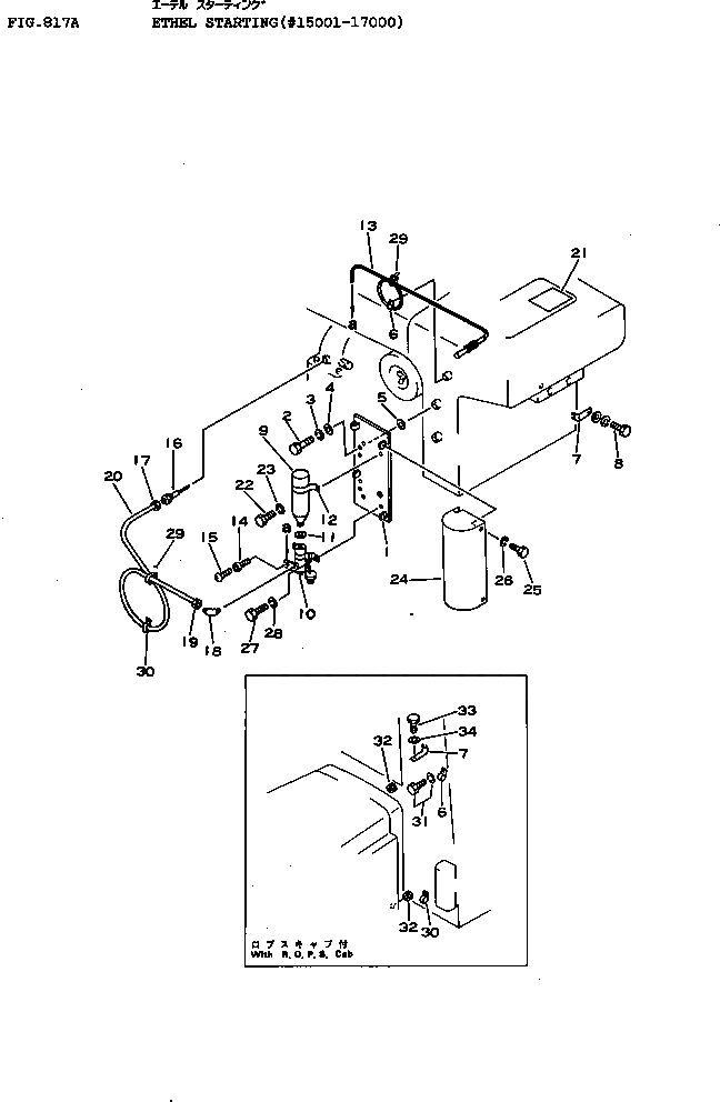
1

175-01-23230

BRACKET

SN: 8651-@

1шт.

2

01010-31240

BOLT

SN: 15001-@

2шт.

3

01602-01236

WASHER

SN: 8651-@

2шт.

4

01643-31232

WASHER

SN: 8651-@

2шт.

5

175-03-32560

SPACER

SN: 15001-17000

1шт.

6

08036-30614

CLIP

SN: 8651-17000

1шт.

7

175-01-23250

BRACKET

SN: 15001-17000

1шт.

8

01010-31240

BOLT

SN: 15001-17000

1шт.

9

6127-81-9890

CYLINDER

SN: 8651-@

1шт.

|$9

6127-81-9820

STARTING KIT

SN: 8651-17000

1шт.

10

6710-81-4201

VALVE ASS'Y

SN: 8651-@

1шт.

11

6710-81-4512

GASKET

SN: 8651-@

1шт.

12

6710-81-4271

CLAMP ASS'Y

SN: 8651-@

1шт.

13

6710-81-4221

CABLE

SN: 8651-@

1шт.

14

6710-81-4381

WIRE

SN: 8651-@

1шт.

15

6710-81-4391

STOPPER

SN: 8651-@

1шт.

|$16

6710-81-4211

ATOMIZER ASS'Y

SN: 8651-@

1шт.

16

6710-81-4431

ATOMIZER

SN: 8651-@

1шт.

17

6710-81-4411

NUT,SLEEVE

SN: 8651-@

1шт.

|$19

6710-81-4261

ELBOW

SN: 8651-@

1шт.

18

6710-81-4440

ELBOW

SN: 8651-@

1шт.

19

6710-81-4411

NUT,SLEEVE

SN: 8651-@

1шт.

20

6715-81-4250

TUBE

SN: 8651-@

1шт.

20

07823-00426

TUBE

SN: 8651-@

1шт.

21

6127-81-9860

PLATE, CAUTION

SN: 8651-17000

1шт.

22

01010-30612

BOLT

SN: 8651-@

2шт.

23

01602-00619

WASHER

SN: 8651-@

2шт.

24

175-01-23240

COVER

SN: 8651-@

1шт.

25

01010-31225

BOLT

SN: 8651-@

2шт.

26

01602-01236

WASHER

SN: 8651-@

2шт.

27

01010-30612

BOLT

SN: 8651-@

2шт.

28

01602-00619

WASHER

SN: 8651-@

2шт.

29

08034-00414

BAND

SN: 8651-17000

2шт.

30

08036-30614

CLIP

SN: 8651-17000

2шт.

31

01010-31220

BOLT

SN: 15001-17000

2шт.

31

01602-01236

WASHER

SN: 15001-17000

2шт.

32

09415-01008

CAP

SN: 8651-17000

1шт.

33

01010-31035

BOLT

SN: 15001-17000

1шт.

34

01643-31032

WASHER

SN: 15001-17000

1шт.

Выбрано товаров: 39