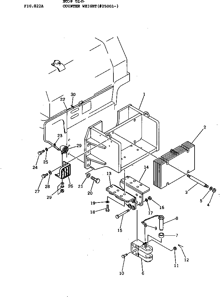
Запчасти Komatsu D155A-1 ПРОТИВОВЕС(№-) ОПЦИОННЫЕ КОМПОНЕНТЫ

Схема запчастей Komatsu D155A-1 - ПРОТИВОВЕС(№-) ОПЦИОННЫЕ КОМПОНЕНТЫ
FIT
1:1
100%

Артикул

Название

Примечание

Количество

|$0

175-69-00022

COUNTER WEIGHT ASS'Y

SN: 25001-UP

1шт.

1

175-69-22112

BRACKET

SN: 25001-UP

1шт.

2

195-69-12121

WEIGHT

SN: 5508-UP

7шт.

3

175-69-22140

BOLT

SN: 5508-UP

4шт.

4

01580-13024

NUT

SN: 25001-UP

4шт.

5

01643-33080

WASHER

SN: 25001-UP

4шт.

|$6

175-69-00014

DRAWBAR ASS'Y

SN: 25001-UP

1шт.

6

175-69-21212

DRAWBAR

SN: 25001-UP

1шт.

7

195-69-11230

BUSHING

SN: 5508-UP

2шт.

8

195-69-11226

PIN ASS'Y

SN: 25001-UP

1шт.

9

09249-10016

LATCH

SN: 15004-UP

1шт.

10

01052-51675

BOLT

SN: 15004-UP

1шт.

11

01592-11619

NUT

SN: 5508-UP

1шт.

12

04050-14030

PIN

SN: 5508-UP

1шт.

13

195-69-12141

BRACKET

SN: 25001-UP

1шт.

14

195-69-12151

BRACKET

SN: 25001-UP

1шт.

15

170-69-11143

BOLT

SN: 5508-UP

4шт.

16

07165-13336

NUT

SN: 25001-UP

4шт.

17

01643-33380

WASHER

SN: 25001-UP

4шт.

18

01010-53075

BOLT

SN: 25001-UP

12шт.

19

01643-33080

WASHER

SN: 25001-UP

12шт.

20

01018-33990

BOLT

SN: 25001-UP

10шт.

21

01643-33990

WASHER

SN: 25001-UP

12шт.

22

175-06-37421

WIRE ASS'Y

SN: 25001-UP

1шт.

23

08035-01514

CLIP

SN: 25001-UP

1шт.

24

01010-51220

BOLT

SN: 25001-UP

1шт.

25

01643-31232

WASHER

SN: 25001-UP

1шт.

26

175-06-33190

COVER

SN: 5508-UP

1шт.

27

01010-51435

BOLT

SN: 25001-UP

3шт.

28

01643-31445

WASHER

SN: 5508-UP

3шт.

29

08128-32400

LAMP

SN: 5508-UP

1шт.

29

08113-02480

BULB, 80W

SN: 5508-UP

1шт.

30

08034-00519

BAND

SN: 25001-UP

2шт.

Выбрано товаров: 33