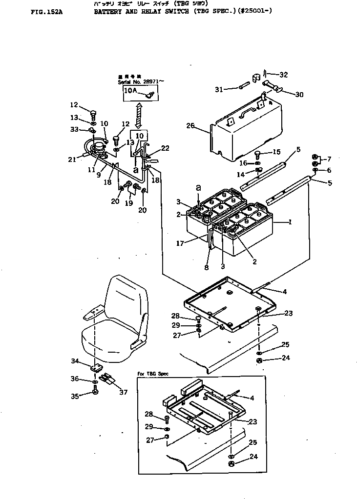
Запчасти Komatsu D155A-1 АККУМУЛЯТОР И РЕЛЕ (СПЕЦ-Я TBG)(№-) КОМПОНЕНТЫ ДВИГАТЕЛЯ И ЭЛЕКТРИКА

Схема запчастей Komatsu D155A-1 - АККУМУЛЯТОР И РЕЛЕ (СПЕЦ-Я TBG)(№-) КОМПОНЕНТЫ ДВИГАТЕЛЯ И ЭЛЕКТРИКА
FIT
1:1
100%

Артикул

Название

Примечание

Количество

1

08000-12221

BATTERY (C200),(C200 OR F300-20)

SN: 25001-UP

2шт.

1

08000-42220

BATTERY (165G51)

SN: 15997-UP

2шт.

2

08000-00000

TERMINAL, (+)

SN: 5508-UP

2шт.

3

08000-00001

TERMINAL, (-)

SN: 5508-UP

2шт.

4

175-06-39621

ROD

SN: 17001-UP

4шт.

5

195-06-19461

HOLDER

SN: 17001-UP

2шт.

6

01640-21016

WASHER

SN: 17001-UP

4шт.

7

01580-01008

NUT

SN: 17001-UP

8шт.

8

08028-15011

WIRE, 110MM

SN: 29154-UP

1шт.

8

0

WIRE ASS'Y

SN: 8651-29153

1шт.

9

08028-15125

WIRE

SN: 25001-UP

1шт.

10

08038-00035

CAP

SN: 17001-UP

2шт.

10A

08038-22511

CAP

SN: 28971-UP

1шт.

11

08088-20000

SWITCH

SN: 25944-UP

1шт.

11

0

SWITCH

SN: 17001-25943

1шт.

12

01010-50820

BOLT

SN: 17001-UP

2шт.

13

01602-20825

WASHER

SN: 5508-UP

2шт.

14

08036-01814

CLIP

SN: 25001-UP

1шт.

15

01010-51016

BOLT

SN: 25001-UP

1шт.

16

01643-31032

WASHER

SN: 25001-UP

1шт.

17

154-06-13262

SEAT

SN: 15001-UP

1шт.

18

08036-01814

CLIP

SN: 25001-UP

2шт.

19

01010-51016

BOLT

SN: 25001-UP

2шт.

20

01643-31032

WASHER

SN: 25001-UP

2шт.

21

140-06-18260

CAP

SN: 25001-UP

2шт.

22

08034-00519

BAND

SN: 25001-UP

1шт.

23

175-862-4332

CASE,(TBG SPEC.)

SN: 25001-UP

1шт.

24

01580-11210

NUT

SN: 8651-UP

4шт.

25

01602-21236

WASHER

SN: 25001-UP

4шт.

26

175-54-33324

COVER

SN: 25001-UP

1шт.

27

20R-54-11460

SPRING

SN: 25001-UP

2шт.

28

01220-40408

SCREW

SN: 25001-UP

4шт.

29

01641-20405

WASHER

SN: 25001-UP

4шт.

30

09450-00000

CATCH

SN: 25001-UP

1шт.

31

09450-00002

PIN

SN: 25001-UP

1шт.

32

04050-01610

PIN

SN: 25001-UP

1шт.

33

08036-10810

CLIP

SN: 25001-UP

1шт.

34

195-06-25310

HOLDER

SN: 25001-UP

1шт.

35

01220-40310

SCREW

SN: 25001-UP

2шт.

36

01601-20307

WASHER

SN: 25001-UP

2шт.

37

198-06-12810

FUSE

SN: 25001-UP

3шт.

Выбрано товаров: 41