Запчасти Komatsu D155A-1 КАБИНА ROPS (/) (ДВЕРЬ БОКОВОЕ И ЗАДНЕЕ СТЕКЛА)(№-7) ОПЦИОННЫЕ КОМПОНЕНТЫ

Схема запчастей Komatsu D155A-1 - КАБИНА ROPS (/) (ДВЕРЬ БОКОВОЕ И ЗАДНЕЕ СТЕКЛА)(№-7) ОПЦИОННЫЕ КОМПОНЕНТЫ
FIT
1:1
100%

Артикул

Название

Примечание

Количество

|$0

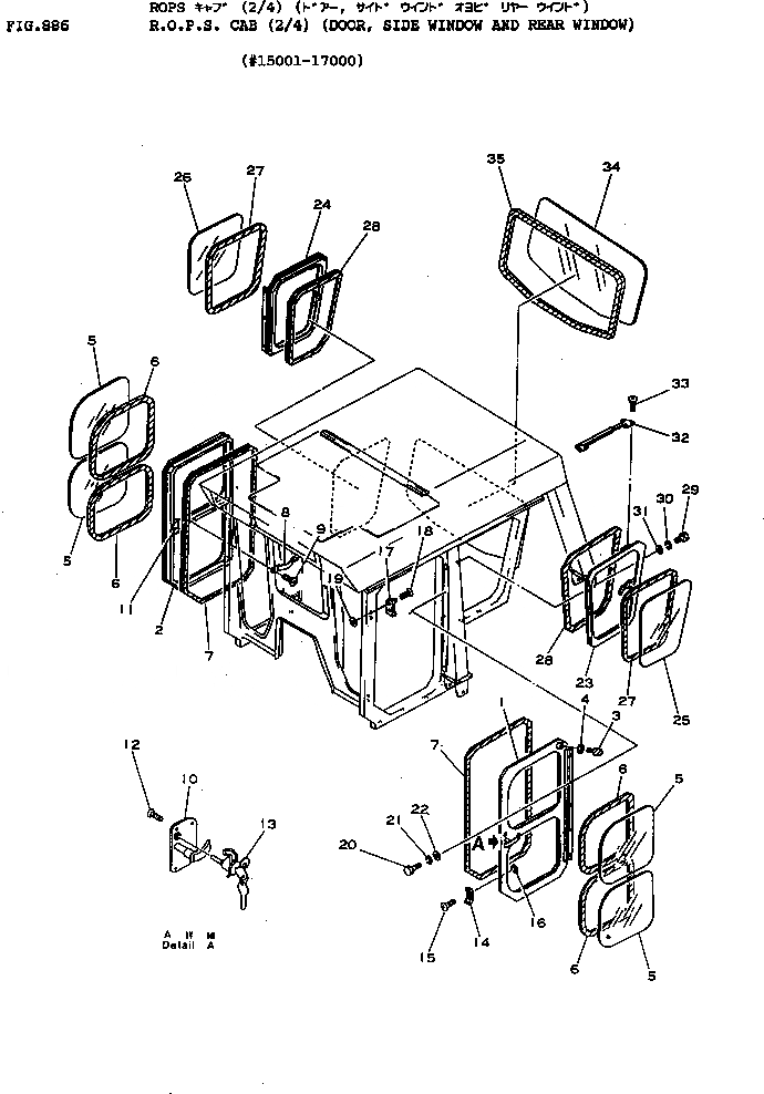
175-979-0010

CAB ASS'Y

SN: 15001-17000

1шт.

|$$2

THIS ASSEMBLY CONSISTS OF ALL PARTS SHOWN IN FIGS.885 TO 888.

-1шт.

1

195-979-1110

DOOR

SN: 15001-17000

1шт.

2

195-979-1120

DOOR

SN: 15001-17000

1шт.

3

130-911-1720

STOPPER

SN: 15001-17000

2шт.

4

01580-01210

NUT

SN: 15000-@

2шт.

5

195-979-1180

GLASS

SN: 15001-@

4шт.

6

09410-00240

STRIP

SN: 15001-@

4шт.

7

195-979-1690

SEAL (BONDED)

SN: 15001-@

2шт.

8

565-54-13880

GRIP

SN: 15001-@

2шт.

9

01225-30520

SCREW

SN: 15001-@

8шт.

10

175-911-3141

LOCK ASS'Y

SN: 15001-@

1шт.

11

175-911-3151

LOCK ASS'Y

SN: 15001-@

1шт.

12

01225-40616

SCREW

SN: 15001-@

8шт.

13

566-54-14430

KEY ASS'Y

SN: 15001-@

1шт.

14

566-54-14420

STOPPER

SN: 15001-@

4шт.

15

01225-30816

SCREW

SN: 15001-@

8шт.

16

565-54-13270

WASHER

SN: 15001-@

8шт.

17

566-54-13410

STRIKER

SN: 15001-@

6шт.

18

01225-30816

SCREW

SN: 15001-@

12шт.

19

565-54-13270

WASHER

SN: 15001-@

12шт.

20

01010-30820

BOLT

SN: 15001-@

10шт.

21

01602-00825

WASHER

SN: 15001-@

10шт.

22

01643-30823

WASHER

SN: 15001-@

10шт.

23

195-979-1130

DOOR

SN: 15001-17000

1шт.

24

195-979-1140

DOOR

SN: 15001-17000

1шт.

25

195-979-1190

GLASS

SN: 15001-@

1шт.

26

195-979-1210

GLASS

SN: 15001-@

1шт.

27

09410-00252

STRIP

SN: 15001-@

2шт.

28

195-979-1710

SEAL (BONDED)

SN: 15001-@

2шт.

29

01010-30820

BOLT

SN: 15001-@

6шт.

30

01602-00825

WASHER

SN: 15001-@

6шт.

31

01643-30823

WASHER

SN: 15001-@

6шт.

32

202-54-11710

STAY ASS'Y

SN: 15001-17000

2шт.

33

01225-30620

SCREW

SN: 15001-17000

8шт.

34

195-979-1220

GLASS

SN: 15001-@

1шт.

35

09410-00425

STRIP

SN: 15001-@

1шт.

Выбрано товаров: 0